网站首页  词典首页


请输入您要查询的字词:

 

字词 不锈钢食品泵
类别 中英文字词句释义及详细解析
释义

不锈钢食品泵


食品泵适用于输送饮料及各种果酒、啤酒、白酒、汽酒、牛奶、酱油、食醋等。介质温度应低于80℃。

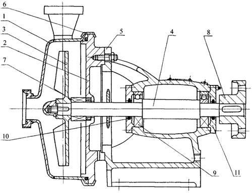
SP型食品泵是单级单吸离心泵,有开式、闭式叶轮结构,水平吸入,垂直轴心线吐出,轴封为机械密封。泵体与泵盖采用快开夹紧环连接。

泵体为1Cr18Ni9Ti钢板冲压焊接件,泵盖、叶轮为ZG1Cr18Ni9。结构见图4-14-28,规格见表4-14-35。

图4-14-28 SP型食品泵结构图

1-泵体 2-泵盖 3-叶轮 4-轴 5-支座 6-快开夹紧环 7-机械密封 8-联轴器 9-轴承 10-毡圈 11-轴承盖

表4-14-35 SP型食品泵规格

注:北京水泵厂产品。

随便看

 

离鸟网收录3541549条中英文词条,其功能与新华字典、现代汉语词典、牛津高阶英汉词典等各类中英文词典类似,基本涵盖了全部常用中英文字词句的读音、释义及用法,是语言学习和写作的有利工具。

 

Copyright © 2004-2024 vtrois.com All Rights Reserved
更新时间:2026/4/9 10:25:47