网站首页  词典首页


请输入您要查询的字词:

 

字词 丙烯酸单体的自由聚合
类别 中英文字词句释义及详细解析
释义

丙烯酸单体的自由聚合


采用适当的方法除去聚合反应中放出的热量(可高过600kJ/kg),就可能在较短的时间内获得较高的产量。反应通式如下:

引发剂的浓度在0.1%~1.0%之间。偶尔也加入硫醇类的链转移剂来控制相对分子质量。

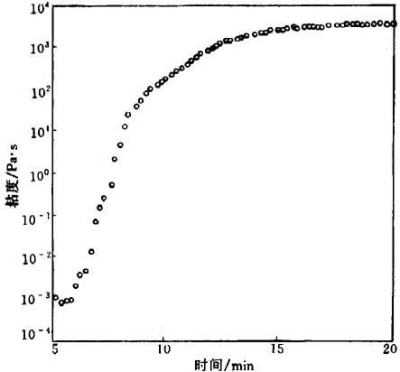
有人认为,在挤出机中完成反应所需要的时间是引发剂类型和浓度的函数。为此,流变量热计可同时测量聚合反应液体所放出的热量和液体的粘度-时间关系,并能为准确地模拟和控制反应性挤出工艺提供有用的信息。例如,在指定的低转化率下,反应物在预反应器中要过到某一粘度所需要的停留时间能够根据图18-5和图18-6所示的数据进行估算。图18-5表明了生热与时间的关系,图18-6则显示了反应温度为85℃时,混有引发剂的共聚单体体系粘度相应增加。

图18-5 在流变量热计中,深有引发剂的丙烯酸共聚单体混合物聚合时的生成热-时间曲线

图18-6 在流变量热计中,有引发剂的丙烯酸共聚单体混合物聚合时的粘度随时间增加的函数

在挤出机中进行的本体自由基聚合的工艺条件可总结如下:

①用惰性气体,以防止氧的阻聚作用。

②需要的附加设备只用于:将单体与引发剂预混合;必要时,使反应提前;在压力下,供给液态混合物料。

③能够调节反应的放热量和从进口到出口的物料粘度的差异,以及能控制物料停留时间和停留时间分布机械、螺杆几何构型及控温装置。

④要求具有添加后续共聚单体的能力,以便混合物含有更多的反应性单体,同时也具有加入其它添加剂(包括链转移剂)的能力。

⑤能够除去未反应的单体。

⑥在合理的物料停留时间和挤出速率下,保持高的转化率,生产出具有足够高的相对分子质量、足够窄相对分子质量分布和低凝胶含量的产物。

综上所述,反应装置的结构如图18-7所示。在此装置中聚合物由主进入口进入反应挤出机,再经过分配式机头加入添加剂,随后在夹套式静态混合器中进一步反应后,混合物从出口被挤出。

图18-7 反应装置的结构

1-聚合物主进入口 2-添加剂加入点 3-夹套式静态混合器 4-已混合物料出口 5-分配式机头 6-制品料流主孔 7-添加剂入口

随便看

 

离鸟网收录3541549条中英文词条,其功能与新华字典、现代汉语词典、牛津高阶英汉词典等各类中英文词典类似,基本涵盖了全部常用中英文字词句的读音、释义及用法,是语言学习和写作的有利工具。

 

Copyright © 2004-2024 vtrois.com All Rights Reserved
更新时间:2026/4/7 16:45:15