网站首页  词典首页


请输入您要查询的字词:

 

字词 交流凸轮控制器
类别 中英文字词句释义及详细解析
释义

交流凸轮控制器


1.适用范围

凸轮控制器主要用于交流50Hz,额定工作电压至380V的电动机起动、调速及换向之用,也适用于类似要求的其他电力驱动系统。

2.结构特征

(1)KT10凸轮控制器的结构特征:见图1-39。控制器在外壳内装有凸轮轴、支柱和固定在支柱上的接触系统。接触系统做成转动式单断点,在动触头的杠杆上带有滚子;在定子回路接触系统上带有内衬陶土铁质灭孤罩;在部分转子电路接触系统上带有铁质灭弧罩。控制器的定位是由定位棘轮,定位杠杆,定位弹簧实现的。控制器制成保护式,具有钢板外壳,上下基座为铸铁制件。当凸轮轴转动时,接触系统按规定的程序关合和断开。

1.凸轮轴 2.支柱 3.接触系统 4.定位弹簧 5.定位棘轮 6.杠杆 7.滚子 8.定位杠杆 9.灭弧罩

图1-39 KT10凸轮控制器的结构特征

(2)KT12凸轮控制器结构特征:控制器操作方式有手轮式和手柄式二种。KT12控制器触头结构采用积木式,双排布置,结构紧凑,装配方便。触头支持,凸轮片、面板和手轮均采用热塑性材料(聚碳酸酯、聚苯乙烯)等,体积小,重量轻、操作力轻,并能减小机加工工作量,用户维修方便。

(3)KT14凸轮控制器结构特征:控制器操作方式有手轮式和手柄式二种。控制器的灭弧系统采用半封闭式纵缝陶土灭弧室,并配以强磁吹电路,灭弧能力强;触头系统结构为积木盒式,双排布置,装配方便,结构紧凑拆装容易;触头的闭合及断开凭借胶木凸轮片组成不同的角度,用旋转方式实现。

(4)KTJ15系列凸轮控制器:防护等级为IP40,采用立式安装。凸轮控制器主要有四部分组成:即操纵机构、凸轮、触头系统和壳体部分。

①操纵机构部分由操纵手柄、机械传动等组成。操纵手柄为避免由于起重机震动和意外碰撞使操纵机构误动作,手柄带有零位自锁装置,操作时只需将手柄压下,零位自锁装置打开便可操作。机械传动部分装在箱体上部,立式操作手柄是经伞形齿轮传动凸轮轴。水平操纵手柄则是直接传动凸轮轴,使触头组按规定程序分合。传动部分各支点均用滚动轴承,以减小摩擦力。定位棘轮是由3mm厚钢板冲压而成的,并经过适当热处理而获得良好的耐磨性。棘轮上冲有六个定位孔。定位螺钉装入位置不同的孔内,即可决定操纵手柄的挡位数。在左右各六挡范围内。挡位数可任意选择。定位棘轮弹簧力是可以调整的,这样就可以根据具体情况,在分挡清楚的前提下,调整棘轮弹簧力使手柄操纵在力许可的范围内。

②凸轮部分的结构为插入式。这样不仅保证了装配位置准确,而且如欲变换触头分合程序时,可以方便地取下任意凸轮,不必将整台产品大拆大卸。控制器的凸轮轴均为立式安装。凸轮采用热固性酚醛塑料。

③触头系统中的触头组结构均为转动式双断点。32A与63A触头组安装尺寸相同,安装支板通用。

④壳体部分的机座采用压铸铝件,面板采用钢板拉伸成型,机座和面板用4个支柱联成一体,具有重量轻、刚度好的特点。前后外罩均能方便地拆下,以供安装、配线和维修之用。

(5)KTJ17系列交凸轮控制器:结构特征与KTJ15相似。触头组结构均为转动式双断点。32A与63A触头组安装尺寸相同。

3.常用凸轮控制器产品型号及主要技术参数

(1)KT10系列主要技术参数见表1-63。

表1-63 KT10系列主要技术参数

(2)KT12系列主要技术参数见表1-64。

表1-64 KT12系列主要技术参数

注:控制器的机械寿命在操作频率600次/h情况下,不小于150×104。控制器的操作力不大于49N。

(3)KT14凸轮控制器型号及主要技术参数见表1-65。

表1-65 KT14凸轮控制器型号及主要技术参数

注:控制器的操作力不大于49N。

(4)KT15、KT17凸轮控制器型号及主要技术参数见表1-66。

表1-66 KT15、KT17凸轮控制器型号及主要技术参数

5.交流凸轮控制器外形及安装尺寸

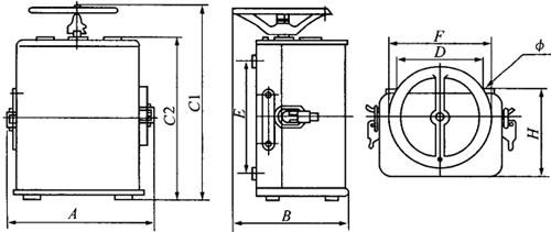
(1)KT10系列控制器外形及安装尺寸见图1-40和表1-67。

图1-40 KT10系列控制器外形及安装尺寸

表1-67 KT10系列控制器外形及安装尺寸/mm

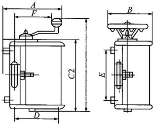
(2)其他型号控制器外形及安装尺寸见图1-41及表1-68。

手轮式

手柄式

图1-41 其他型号控制器外形及安装尺寸

表1-68 其他型号控制器外形及安装尺寸/mm

随便看

 

离鸟网收录3541549条中英文词条,其功能与新华字典、现代汉语词典、牛津高阶英汉词典等各类中英文词典类似,基本涵盖了全部常用中英文字词句的读音、释义及用法,是语言学习和写作的有利工具。

 

Copyright © 2004-2024 vtrois.com All Rights Reserved
更新时间:2026/4/7 11:52:56