网站首页  词典首页


请输入您要查询的字词:

 

字词 典型机械结构
类别 中英文字词句释义及详细解析
释义

典型机械结构


1.典型机械量仪的机械结构

机械式量仪是通过机械放大机构将被测量的微小直线位移转化为指针的角位移,并由指针在刻度盘上指示出测量值。机械式量仪在其示值范围内可以实现直接测量,大部分还可作比较测量。按其结构原理可分为以下四类:

(1) 杠杆式测微仪

杠杆式测微仪测量原理是:通过刀口式杠杆的传动把测杆的直线位移转变为指针的转角。机械结构如图3.4-1所示。测杆1的直线位移经摆动刀8传动,使得杠杆6以固定刀7的刀口为原点转动,从而使得与杠杆6刚性连接的指针相应地在刻度盘上转动。最后从刻度盘可读取测量结果。

1.测杆 2.装夹套筒 3.壳体 4.刻度盘 5.指针 6.杠杆 7.固定刀 8.摆动刀。

图3.4-1 杠杆式测微仪

(2) 杠杆齿轮式测微仪

①杠杆式千分尺

杠杆式千分尺又称指示计式千分尺,由测微头和指示计两部分组成。如图3.4-2所示:测微头相当于测力装置的一般千分尺。指示计与活动测砧相连,测砧的位移量通过指示计的杠杆和齿轮放大,转变为指针在刻度盘上的角位移。

1.尺架 2.测砧 3.测杆 4.制动器 5.固定套筒 6.微分筒 7.刻度盘 8.拨叉 9.指针 10.公差指示 11.盖板 12.保护帽

图3.4-2 杠杆式千分尺

②杠杆齿轮式测微仪

如图3.4-3为杠杆齿轮式测微仪机械结构。测杆1的直接位移经过杠杆臂3.4.5.传动放大,转变为扇形齿轮6的转动,再经小齿轮7放大转变为指针8的角位移,从而可以从刻度盘上获得示值。

1.测杆 2.弯臂 3.4.5.杠杆臂 6.扇形齿轮 7.小齿轮 8.指针 9.刻度盘

图3.4-3 杠杆齿轮式测微仪

③杠杆百分表

杠杆百分表(侧向式百分表)是借助于杠杆齿轮传动机构,将测杆的摆动(侧向微小位移)转变为指针的角位移。如图3.4-4所示,测杆1与扇形齿轮2构成齿轮杠杆,测杆的微小位移将使得齿轮杠杆绕其轴摆动,同时,由于扇形齿轮2与齿轮3的啮合,从而引起指针4转过相应的角度。

1.带有球面测量端的测杆 2.扇形齿轮 3.齿轮 4.指针 5.刻度盘

图3.4-4 杠杆百分表

④杠杆千分表

杠杆千分表传动机构的工作原理如图3.4-5所示。当测量端1有微小位移时,杠杆臂2随着摆动,通过销柱3将运动传递给扇形齿轮5,与扇形齿轮相啮合的小齿轮6同轴的冠形齿轮7也随着转动,冠形齿轮7又带动小齿轮8转动,最后由和小齿轮8同轴的指针9在刻度盘上指示出相应的示值。

1.测量端 2.杠杆臂 3.4.销柱 5.扇形齿轮 6.小齿轮 7.齿轮 8.小齿轮 9.指针

图3.4-5 杠杆千分表

(3) 齿轮式测微仪

①百分表

百分表借助齿条和齿轮传动机构,把测杆的直线位移转变为指针的角位移。基本结构如图3.4-6所示。当测杆有直线位移时,齿条带动与之啮合的小齿轮2转动,与Z2同轴的大齿轮Z3也一起转动,再带动小齿轮Z1,使与其同轴的指针也产生转动,从而将测杆的线位移转变为指针的角位移。齿轮4和游丝用于消除传动机构中的回程误差。

图3.4-6 杠杆百分表

②千分表

千分表的原理与百分表一样,只在传动机构上稍有不同。

(4) 扭簧式测微仪

如图3.4-8为扭簧式测微仪的机械原理图,指针6固定在特别扭簧的中部,当测杆上下移动时,通过传动角架8使得扭簧伸缩而产生扭转,从而使得指针产生相应的角位移并在刻度盘上指示出测量值大小。

图3.4-7 杠杆千分表

1.测杆 2.装夹套筒 3.微动螺钉 4.壳体 5.刻度盘 6.指针 7.扭簧 8.传动角架 9.膜片形平弹簧片 10.阻尼器

图3.4-8 扭簧式测微仪

2.典型光学量仪的结构原理

(1) 自准直仪

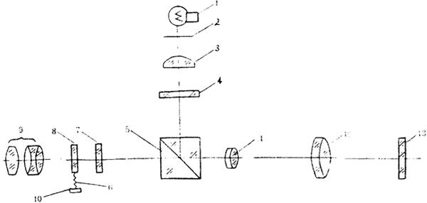
自准直仪是根据自准直原理设计的仪器,如图3.4-9为一种自准直仪的光路系统。光源1发出的光经聚光镜3聚光后照亮分划板4上的十字线,由半透分光棱镜5折向测量光轴,经物镜组11、12后成平行光束出射,然后经目标反射镜反射回来,从而把十字线成像于分划板7、8的刻线面上。目标镜的角位移转变为十字线像在分划板7、8上的线位移,再通过读数瞄准目镜获得示值。

1.光源 2.弥散板 3.聚光镜 4.十字线分划板 5.半透分光棱镜 6.测微丝杆 7.粗刻度分划板 8.照准又刻线 9.目镜组 10.读数鼓轮 11.后物镜 12.前物镜 13.目标反射镜

图3.4-9 自准直仪光路系统

(2) 光学计

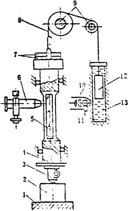
光学计又称光学比较仪,它以量块作为基准时可对被测件进行比较测量,也可对小尺寸作绝对测量。如图3.4-10为立式光学计的结构图,光管光路是一种基于自准直原理的光学杠杆系统,由自准直光路和正切杠杆机构组成。测杆11的直线位移引起反射镜10绕其轴摆动,从而转化为反射镜的角位移,通过仪器上部的自准直测量系统测量出反射镜10的角位移,从而可获得测杆的线位移大小。

1.反射面 2.棱镜 3.分划板标尺 4.目镜 5.分划板 6.指标线 7.零位调节手轮 8.棱镜 9.准直物镜 10.反射镜 11.测杆 12.测帽

图3.4-10 立式光学计

(3) 测长仪

图3.4-11为立式测长仪的机械原理图,机械结构中带有长度标尺,其设计完全符合阿贝原则,可以对长度进行绝对测量,也可进行比较测量。

1.工作台 2.被测件 3.测量头 4.测量轴体 5.基准标尺 6.读数显微镜 7.配重 8.钢带 9.滑轮 10.透镜 11.光源 12.平衡锤 13.阻尺油缸

图3.4-11 立式测长仪

测量过程如下:工作台1上放置被测件2,通过测量轴体4上的可更换测量头3与被测件接触测量。测量轴体4是一个高精度圆柱体,在精密滚动轴承支持下,通过钢带8,滑轮9,平衡锤12和阻尼油缸13完成平稳的轴向升降运动。配重7用来调整测量力。

测量轴体的轴线上固定一把基准标尺(玻璃刻尺)5,其上刻有间距为1mm的101条刻线。光源11发出的光经过透镜10,透过基准玻璃刻尺,将毫米刻线影象投射到螺旋读数显微镜6,从而由显微镜读数系统获得测量值大小。实际测量时,测量头3与工作台面1接触,获得一读数值,然后测量头与被测件接触,得到另一读数值,两者之差即为被测尺寸。

(4) 接触式干涉仪

接角式干涉仪是把微小的测量头位移转换为干涉条纹的移动,实现用光波波长来计量微小长度变动。可用来作比较测量,测量精度比光学计高。

接触式干涉仪的光路系统如图3.4-12所示,它是依等厚干涉原理设计的。自白炽灯光源1发出的光经聚光镜2,通过保护玻璃4被分光镜6分成两束:一束被分光面A反射至可调反射镜5,返回后射向物镜9:另一束透过分光镜6和补偿镜7,射到测杆反射镜8,返回后被分光镜的A面反射,也进入物镜9。两光束产生干涉,干涉条纹经放大成象于分划板10上,通过目镜可同时观测分划板刻线和干涉条纹。测量时通过读取黑条纹移动的格数获取测量值。

1.光源 2.聚光镜 3.干涉滤光镜 4.保护玻璃 5.可调反射镜 6.分光镜 7.光程补偿镜 8.测杆反射镜 9.物镜 10.分划板 11.目镜 12.测量轴 13.测量头

图3.4-12 接触式干涉仪

(5) 电动量仪

电动量仪是把被测尺寸转变为电量来实现长度测量的仪器,其工作原理是将微小位移量转换成仪器电路中某一参数(如电感、电容、电阻等)的变化,从而引起电路中输出电压(或输入电流)的变化,经过放大,运算等变换后获得测量值的大小。限于篇幅,下面只介绍一下电感式测微仪的原理及机械结构。

图3.4-13为电感式测微仪。测微仪的原理方框图如图3.4-14所示,电感式测头内有两个电感线圈,并按差动方式接入电桥,电桥形成见图3.4-15,测杆的微小位移将使得两电感线圈的电感量发生相应变化,电桥用稳幅交流电供电,则在电桥对角线上将输出幅度与测杆位移方向相一致的正弦交流信号,该信号经相敏整流器后获得反应测杆位移大小的直流信号。

1.可换测湍 2.测杆 3.滚珠导轨 4.衔铁 5.电感线圈 6.磁铁 7.引线 8.测刀弹簧 9.防转销 10.防尘套

图3.4-13 电感式传感器结构

图3.4-14 电感测微仪电路原

图3.4-15 传感器电桥

【参考文献】:

[1]王因明主编,光学计量仪器设计,机械工业出版社,1982。

[2]薛实福、李庆祥编着,精密仪器设计,清华大学出版社,1991。

[3]叶声华主编,激光在精密计量中的应用,机械工业出版社,1980。

[4]罗南星主编,几何量计量技术简明教程,机械工业出版社,1993。

[5]角度计量编写组,角度计量,中国标准出版社,1984。

[6]童竞主编,几何量测量,机械工业出版社,1988。

[7]王江主编,现代计量测试技术,中国计量出版社,1990。

[8]蒋诚志编,计量光学,中国计量出版社,1989。

[9]梁铨廷主编,物理光学,机械工业出版社,1981。

[10]强锡富,于汶编,电路基础与电路量仪,哈尔滨工业大学出版社,1989。

[11]黑龙江省标准计量局、哈尔滨工业大学编,长度计量手册,科学出版社,1979。

[12]张国雄、沈生培主编,精密仪器电路,机械工业出版社,1987。

[13]几何量实用测试手册编委会,几何量实用测试手册,机械工业出版社,1985。

随便看

 

离鸟网收录3541549条中英文词条,其功能与新华字典、现代汉语词典、牛津高阶英汉词典等各类中英文词典类似,基本涵盖了全部常用中英文字词句的读音、释义及用法,是语言学习和写作的有利工具。

 

Copyright © 2004-2024 vtrois.com All Rights Reserved
更新时间:2026/4/9 4:30:47