网站首页  词典首页


请输入您要查询的字词:

 

字词 冷却定型装置
类别 中英文字词句释义及详细解析
释义

冷却定型装置


冷却定型(也称定径)装置从定型管材外表面和内表面的角度来说,可分为两大类:即定外径和定内径。我国塑料管材的生产绝大多数采用定外径。

(一)内径定型法

内径定型法是一种在具有很小锥度的芯模延长轴内通冷却水,靠芯模延长轴的外径确定管材内径的方法。这种方法多用于直角机头和侧向式机头,如图6-9所示。定径套的长度取决于管材壁厚和牵引速度,通常可取80~300mm。对于壁厚较厚的管材或在牵引速度比较大的情况下可取大值,反之则取小值。

图6-9 内径定径模结构图

1-锥形芯棒 2-绝热垫圈 3-熔料入口处 4-出水口 5-进水口

由于管材内、外壁同时冷却,内径定型法具有机头阻力较小;管材内孔的圆度好;无分流梳及其支架产生的熔合纹,故管材径向强度较好;机头流道较长,料流稳定,管材质量较好;产量较高,操作方便,不需压缩空气装置或真空泵等特点;但定型装置结构复杂,塑料在机头内流程长,流道有弯折,容易有死角,发生过热降解,不适用于PVC和POM热敏性塑料管的挤出。目前多用于成型PE、PP和PA塑料管材,尤其适用于要求内径尺寸稳定的包装筒的成型。定型套外径应比管材内径放大2%~4%。冷却芯模锥形部分的锥度一般为0.6∶100~1.0∶100。

(二)外径定型法

1.内压法

内压法是指管内加压缩空气,管外加冷却定型套,使管材外表面贴附在定型套内表面而冷却定型的方法,其结构如图6-10。

图6-10 内压法外定型装置

1-芯模 2-口模 3-定径套 4-管材 5-塞子

定径套的长度应保证一定厚度范围内冷却到玻璃化温度以下,以保证管材一定的圆度。挤出速度越快,定径套应越长。一般来说,定径套的长度是管材外径的10倍,对于大口径的管材一般为3~5倍。定型套内径一般比管材外径大0.7%~1.0%,放大尺寸由管材收缩率而定。充气时,压缩空气的压力为0.02~0.05MPa。为了避免温度较高的机头和口模将热量过多地传给定径套,影响定径套对管材的冷却作用,在定径套和口模之间可设置一个隔热垫圈。应当注意:使用内压法对管材进行定外径时,压缩空气先要经过预热;否则会使芯模温度下降,造成管材内壁粗糙。

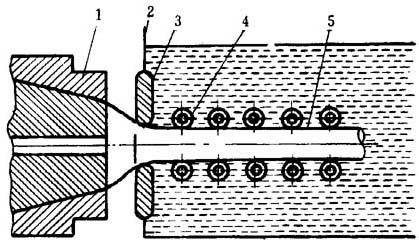
2.真空定径法

真空定径法是指管外抽真空使管材外表面吸附在定型套内壁冷却定型的方法,其结构图见图6-11。

图6-11 真空定径套的结构

1、2-水进出口 3-接真空泵 4-定径套

真空定径技术是一种应用非常广泛的管材定径技术,尤其适用于厚壁管材。

真空定型套的结构参数:真空定型套与机头相距约20~50mm(1),定型套内分为三段(第一段冷却;第二段抽真空,真空度通常为0.035~0.070MPa;第三段继续冷却)。真空定径套的长度通常比其它类型的定径套要长些。例如,对于直径大于100mm的管材,其长度可取管材外径的4~6倍。这种定径方法与内压法相比,具有管材内应力较小,壁厚均匀,不需要装气塞杆,操作方便,同时废料较少,表面粗糙度小;但当管径较大时,抽真空的吸力难以控制圆度,抽真空设备较贵,对直径较大的管材不适用。

应当注意:抽真空孔的孔径大小与塑料品种及管材壁厚有关,对于粘度大的塑料与壁厚较厚的管材,孔径可取得较大些;反之则取小值。例如,挤出RPVC管材,壁厚在2mm以下,其孔径可取0.6~0.7mm;当壁厚大于3mm时,可取0.9~1.2mm。真空定径套的剖面图见图6-12。

图6-12 管材真空定径套的剖面图

1-口模 2-锥形部位 3-挤出物 4-调节导轨

3.挤模定型法

挤模定型法(也称定型板定型法)是只用一块带有圆孔的薄板代替定型套,如图6-13所示。

图6-13 挤模定型法示意图

1-机头 2-水槽 3-收缩模 4-稳定辊 5-塑料管

这种方法适用于小口径厚壁管材;收缩模内径比管材的外径大1~2mm。

4.顶出法

顶出法是指不用牵引设备、直接将管材顶出成型的方法,如图6-14所示。芯模平直部分比口模长约10~50mm。该法一般用于生产小口径厚壁硬管,具有设备简单、投资少、成本低等优点;但也有出料慢、产量低、壁厚不均匀、强度较差等缺点。

图6-14 顶出法示意图

1-芯模 2-口模 3-垫圈 4-定型套 5-冷却水槽 6-塑料管

随便看

 

离鸟网收录3541549条中英文词条,其功能与新华字典、现代汉语词典、牛津高阶英汉词典等各类中英文词典类似,基本涵盖了全部常用中英文字词句的读音、释义及用法,是语言学习和写作的有利工具。

 

Copyright © 2004-2024 vtrois.com All Rights Reserved
更新时间:2026/4/9 10:41:11