网站首页  词典首页


请输入您要查询的字词:

 

字词 冷却装置、牵引装置和卷取装置
类别 中英文字词句释义及详细解析
释义

冷却装置、牵引装置和卷取装置


吹塑薄膜用的冷却装置应当满足生产能力高、制品质量好、生产过程稳定等项要求。该冷却装置必须有较高的冷却效率,冷却均匀,且能对薄膜厚度不均匀性进行调整,挤出过程中保证管泡稳定、不抖动,生产出的薄膜具有良好的物理力学性能。

(一)冷却装置

吹塑薄膜常用的冷却装置有:风环、冷却水环、双风口减压风环和内冷装置。

1.风环

普通风环的结构见图7-8。

图7-8 普通风环的结构

1-调节风量螺钉 2-出口缝隙 3-风环盖 4-风环体

风环一般距离机头30~100mm的位置,薄膜直径增加时选大值。风环的内径比口模的内径大150~300mm,小口径时选小值,大口径时选大值。

普通风环的作用是将来自风机的冷却沿着薄膜圆周均匀、定量、定压、定速地按一定方向吹向管泡;普通风环由上下两个环组成,有2~4个进风口,压缩空气沿风环的切线(或径线)方向由进风口进入。在风环中设置了几层挡板,使进入的气流经过缓冲、稳压,以均匀的速度吹向管泡。出风量应当均匀,否则管泡的冷却快慢就不一致,从而造成薄膜厚度不均匀。风环出风口的间隙一般为1~4mm,可调节。实践证明,风从风环吹出的方向与水平面的夹角(一般称为吹出角)最好选择为40°~60°,如果该角度太小,大量的风近似垂直方向吹向管泡,会引起管泡周围空气的骚动。骚动的空气引起管泡飘动,使薄膜产生横向条纹,影响薄膜厚薄的均匀性,有时甚至会将管泡卡断。角度太大,会影响薄膜的冷却效果。出风口和薄膜之间的径向距离应调整到能得到合适的风速、压缩空气的量一般为5~103/min。普通风环的冷却效果是比较差的,如果管泡的牵引速度较快时,可以用两个普通风环串联,同时对薄膜冷却。

2.水环

在平挤下吹的生产线中,熔体刚离开口模时先用风环冷却,使管泡稳定;然后立即用水环冷却,才能得到透明度较高的薄膜。冷却水环的结构如图7-9所示。

由图7-9可知,冷却水环是内径与膜管外径相吻合的夹套。夹套内通冷却水,冷却水从夹套上部的环形孔溢出,沿薄膜顺流而下。薄膜表面的水珠通过包布导辊的吸附而除去。

图7-9 冷却水环结构图

1-冷却水槽 2-定型管

3.双风口减压风环

这是一种负压风环,其工作原理见图7-10。它有两个出风口,分别由两个鼓风机单独送风,出风口的大小可调节。风环中部设置的隔板,分为上、下风室;在上、下风室间设置了减压室。双风口减压风环的主要结构参数包括风环内径和风口吹出角度。为了使风环产生足够的负压并便于开车时引膜操作,推荐下风口的直径(D)比口模直径大100m。上风口的直径(D)根据薄膜的吹胀比而定,一般取(1.1~2.0)D。当吹胀比较高时,取上限;反之取下限。风口吹出角推荐如下:上风口的吹出角为60°~70°;下风口的吹出角为30°~40°。

图7-10 双风口减压风环工作原理图

1-管泡 2-上风口 3-下风口 4-机头 5-减压风环 6-减压 7-气流分布

双风口减压风环具有两方面的优点:

①利用“负压效应”使管泡在风环内提高膨胀程度,以增加薄膜吹胀的换热面积。由于管泡提早膨胀,减少了熔膜的厚度,使换热效应得到加强,从而降低管泡的冷却线,增加管泡的刚性和稳定性。

②通过“负压效应”,加快了冷却空气的流动,使其沿管泡的流动状态趋于最佳化,提高了换热效应。

4.内冷装置

内冷装置从理论上讲,可分为水冷和空气冷却;从实际应用的角度来说,现在应用较多的还是空气冷却。管泡内热交换器式空气内冷装置和开环式空气内冷装置分别见图7-11和图7-12。

图7-11 管泡内热交换器式空气内冷装置

1-空气进口及出口 2-机头 3-风环 4-牵引辊 5-排气口 6-热交换器 7-空气进入管泡内 8-挤出机

图7-12 开环式空气内冷装置

1、2、10-风机 3-空气调节阀 4-气阀 5-探杆 6-管泡 7-排气管 8-风环 9-机头

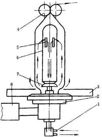
内冷装置的机头结构见图7-13。

图7-13 内冷装置的机头结构

1-模头安装板 2-接管 3-模头体 4-薄膜泡管 5-泡管内部支撑的空气 6-环形模唇 7-冷却空气进入管 8-热空气排出管 9-侧进料熔体进入管

因为内部和外部空气都必须经过模头,模头设计必须保证进入和排出空气的畅通。此模头被装备在挤出段,迫使来自冷却器的空气再次冷却泡管壁,以改善冷却速率。热的空气经过泡管的外部回路空气管线和通气孔。

(二)牵引装置

1.人字板

人字板能稳定管泡形状,使其逐渐压扁导入牵引装置。它由两块板状结构物组成,因呈人字形,俗称人字板。人字板的夹角可用调节螺钉调节,一般为30°,有时也可以到50°。夹角太大,薄膜有摺皱;太小,辅机高度增加,如果是用金属辊排列所成的人字板,则辊筒内还可以通冷却水,进一步对薄膜进行冷却。

当薄膜直径大于2m时,可不用人字板而用导向辊。将一系列导向辊排列成人字形。导向辊是直径约50mm的金属辊,表面镀铬。

2.牵引机构

牵引装置的作用是将人字板压扁的薄膜压紧并送至卷取装置,以防止管泡内空气泄漏,保证管泡的形状及尺寸稳定。牵引装置由一根钢辊和一根橡胶辊组成,钢辊为主动辊。牵引辊的缝隙要对准机头中心。用牵引速度的快慢可以调节薄膜的厚度,故牵引速度应能实现无级调速。

(三)卷取装置

薄膜从牵引辊出来后,经过导向辊而进入卷取装置。薄膜卷取质量的好坏对以后的裁切、印刷等影响很大。卷取时,薄膜应平整无皱纹,卷边应在一条直线上。薄膜在卷取轴上的松紧程度应该一致。卷取装置可分为:表面卷取和中心卷取。表面卷取的工作原理如图7-14所示。动力传到主动辊上,由于卷辊的重量而压在主动辊上,因摩擦随主动辊作反向旋转,从而卷薄膜。这种装置的卷取速度与卷绕直径无关,因而能与牵引速度保持同步;结构简单,卷取轴不易弯曲。但该装置易损伤薄膜。

图7-14 表面卷取工作原理示意图

1-成品 2-主动辊 3一从动辊

中心卷取是把薄膜直接卷绕在转动的卷辊的卷心上。为了薄膜收卷时有恒定的线速度,保证薄膜在收卷时受到恒定的张力,过去,最简单的办法是利用摩擦离合器调节卷取辊的转速。现在大多数厂家都用力矩电机。

卷取时要求卷取平整、两端边整齐。

随便看

 

离鸟网收录3541549条中英文词条,其功能与新华字典、现代汉语词典、牛津高阶英汉词典等各类中英文词典类似,基本涵盖了全部常用中英文字词句的读音、释义及用法,是语言学习和写作的有利工具。

 

Copyright © 2004-2024 vtrois.com All Rights Reserved
更新时间:2026/4/8 3:06:24