网站首页  词典首页


请输入您要查询的字词:

 

字词 几何作图
类别 中英文字词句释义及详细解析
释义

几何作图


(一)等分作图

等分作图方法及尺寸标准如表4-3所示。

表4-3 等分作图方法及尺寸标准

(二)斜度与锥度作图

1.斜度符号及标注

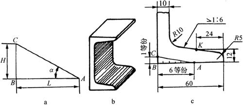
斜度是指一直线或平面相对另一直线或平面的倾斜程度,其大小用该两直线或两平面间的夹角的正切表示(图4-1a),AC对AB的斜度=BC/AB=H/L,即tanα=H/L。在图样中,一般将斜度化成1∶N(=H/N)的形式表示,其标注形式如图4-1c所示,斜度符号为“∠”,其方向应与所画斜度方向一致。

图4-1 斜度标注及其画法(单位:mm)

a.斜度 b.槽钢 c.画法及标注

2.斜度作图

以图4-1b的槽钢为例。已知其斜面的斜度为1∶6,并用24mm和12mm两个尺寸给出K点的位置,作出此斜面。

作图步骤:

(1)在槽钢左下角取一点A,并在左侧垂线上由A点向上取1个等份(等分长度可自己确定,但为便于准确作图不宜取得太小,至少等于5mm)至B点。

(2)再由A点向右水平线取6个等份至C点,连接BC线,则BC的斜度即为1∶6。

(3)过K点作BC的水平线即为所求画的斜面。

3.锥度符号及标注

锥度是指正圆锥体底圆直径与圆锥高度之比,或正圆锥台两底圆直径之差与锥台高度之比。如图4-2a所示,锥度=D/L=(D-d)/l=2tanα=1∶N,锥度符号为“”,其方向应与所画锥度方向一致。其标注方法如图4-2c所示。

图4-2 锥度标注及其画法(单位:mm)

4.锥度作图

锥度的作图过程如图4-2c所示,取AB′=4B′1,在水平轴线上取AB=3B′B′1,连接B′A1、B1′A1得1∶3的锥度辅助线;过B、B1分别作B′A1和B1′A1的平行线,即为所求画的锥度。

(三)圆弧连接作图

1.作图原理

圆弧连接是指用已知半径的圆弧,光滑地连接相邻两已知线段或圆弧的作图方法,如图4-3所示,圆弧连接的关键是保证连接圆弧与已知线段或圆弧相切,即必须正确连接圆弧的圆心和切点。

图4-3 冲压件图样上的各种圆弧连接及尺寸标注(单位:mm)

工程上常用的连接有直线与直线、直线与圆弧、圆弧与圆弧,而两个圆弧的连接又有内切和外切之分,其切点位置与连接圆弧的轨迹有关,如表4-4所示。

表4-4 圆弧连接的圆心轨迹及切点位置

2.作图步骤

各种连接的作图步骤如表4-5所示。圆弧连接的作图步骤可以归纳为如下四步:

表4-5 圆弧连接作图条件及步骤

(1)根据圆弧连接的作图原理,求出连接圆弧的圆心。

(2)求出切点的位置。

(3)过切点用连接圆弧半径画连接弧。

(4)描深。为保证圆弧连接光滑,应先描深圆弧,后描深直线。当有几个圆弧连接时,应依次连接,避免同时连接两端。

(四)非圆曲线作图

1.椭圆作图

在已知长轴和短轴的条件下,可采用四心圆法近似地画椭圆(图4-4a),其作图步骤如下:

图4-4 非圆曲线作图

a.画椭圆 b.画卵形 c.画螺旋线

(1)作两条相互垂直的中心线,分别量取长轴AB、短轴CD,连接AC。

(2)以O为圆心、OA为半径画弧,与CD交于点E。以C为圆心、CE为半径画弧,与AC交于点F。

(3)作AF的垂直平分线,交AB于O1,交CD于O2。以O为圆心、OO1为半径画弧,交OB于O3。以O为圆心、OO2为半径画弧,交OC于O4。O1、O2、O3、O4分别是4段圆弧的圆心。

(4)分别连接O1O2、O2O3、O3O4、O4O1,并适当延长,得4段圆弧的分界线。

(5)分别以O1、O2、O3、O4为圆心,以O1A、O2C、O3B、O4D为半径,作4段相连圆弧,即得一近似椭圆。

2.卵形作图

图4-4b为已知卵形的长BD和宽AC。卵形的作图步骤如下:

(1)作两条相互垂直的中心线,交于O点,量取宽AC(O1为AC的中点)。

(2)以O1为圆心,以宽的一半(即O1A)为半径画一半圆,得卵形大头

(3)在中心线BD上,从B点量取长度BD,找出D点。

(4)以D点为圆心,以小头半径r画弧,与BD交于O2点。

(5)以O2为圆心,以r为半径画圆。并通过O2作与AC平行的中心线EF。

(6)连接AE和CF并延长,与小圆交于G和H点。

(7)通过G和O2作直线,与AC交于O4点。通过H和O2作直线,与AC交于O3点。

(8)分别以O3和O4为圆心,以O3C为半径画弧连接C与H、A与G,得出卵形。

3.螺旋线作图

图4-4c为已知正方形4BCD,分别以4个已知顶点为圆心,近似地作一螺旋线,其作图步骤为:

(1)将AB向下、BC向左、CD向上、DA向右分别延长。

(2)以B为圆心,BA为半径,从A点作圆周至1点。

(3)以C为圆心,C1为半径,从1点作圆周至2点。

(4)以D为圆心,D2为半径,从2点做圆周至3点。

(5)以A为圆心,A3为半径,从3点作圆周至4点,至此完成螺旋线第一转。用同样方法递推,可作出以后各转。

随便看

 

离鸟网收录3541549条中英文词条,其功能与新华字典、现代汉语词典、牛津高阶英汉词典等各类中英文词典类似,基本涵盖了全部常用中英文字词句的读音、释义及用法,是语言学习和写作的有利工具。

 

Copyright © 2004-2024 vtrois.com All Rights Reserved
更新时间:2026/4/8 4:51:21