网站首页  词典首页


请输入您要查询的字词:

 

字词 分光光度计的构造及使用
类别 中英文字词句释义及详细解析
释义

分光光度计的构造及使用


(一)构造 分光光度计的型号很多,按光束可区分为单光束和双光束;按记录方式有手录式和自动记录式。

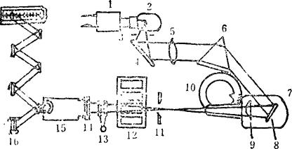
目前国内应用最普遍的是72型光电分光光度计。它是初级型式的光电分光光度计,专供一般实验室在可见光区(400-700nm)作比色分析之用,其结构示意图2-5:

图2-5 72型分光光度计结构示意图

1.磁饱和稳压器 2.光源 3.透光窗 4.反光镜 5.透镜 6.玻璃棱镜 7.转盘 8.反光镜 9.透镜 10.转轮 11.出光狭缝 12.比色杯架 13.光量调节 14.硒光电池 15.悬镜式微电计 16.光“线”投影光源

1.光源 72型分光光度计的光源是10V7.5A的灯泡,由交流电通过变压器供电。由于这种单光光电分光光度计是直接在微电检流计上读数的,因此光源强度的些微变化对读数都有影响,所以必须保持光源的强度稳定,也即保持电源电压不变。为此,这类型分光光度计都附有稳压器装置。

2.单色器 单色器即分光器。包括棱镜、出口狭缝及聚焦透镜等。它的作用是将光源的多色光分成波长范围很窄接近于单色光的各波段的光线。72型分光光度计是用玻璃棱镜和玻璃透镜所组成的单色光器。当白色光源经过进光狭缝、反射镜和透镜后,成为平行光进入棱镜,经棱镜色散后的各种波长的单色光被渡铝反射镜反射而经过透镜,再聚光于出光狭缝上。测定时旋转波长调节器就可选择所须波长的单色光,通过出光狭缝照在装有色溶液的比色杯上。此单色光通过被测溶液后,再照射至硒光电池上。通过光量调节,可以调节进入硒光电池光亮的大小。

3.比色杯 比色杯由光学玻璃胶合而成。一般不耐碱能耐酸,但不应装入酸时间太长,使用后应立即洗净。因为有色溶液对入射光的吸收程度不仅与溶液浓度成正比,亦与液层厚度即比色杯的厚度成正比,所以进行比色测定时,所用比色杯必须一致,其两者百分透光度相差不得大于0.5%,必要时应校对之。

4.光电池和检流计 72型光电比色计采用硒光电池为测光仪器。光电计部分的结构和光电比色计相似。

(二)操作步骤

(1)在波长550-700nm范围内,一般光源电压可用5.5V。为提高在波长540-420nm的检测灵敏度,光源电压可采用10V。将稳压器上10V或5.5V接线柱同单色器接线柱相连。另将微电检流计上的+、-、地三个接线柱同单色器上相应的三个接线柱连接。然后接通电源。注意电源与仪器所标的电压必须相符(一般皆为220V)。

(2)将单色光器上的光电闸门扳至“黑”点位置(不透光位置),再将微电计电源开关打开,此时指示光点即出现在标尺上。用检流计上部的“0”位调节将指示光点准确调于透光度标尺“0”位上。

(3)将波长旋至所需的波长处。开启稳压器的电源开关和单色光器的光源开关,将光路闸门扳至“红”点,以顺时针方向调节光量调节器至适当启开,使微电计的指示光点达到标尺上附近以预热约10min,待硒光电池趋于稳定后再开始测定工作。

(4)再一次将单色光器上光路闸门扳到“黑”点处,以再校正微电计的指示光点在“0”位处。

(5)将比色杯暗盒盖打开,取出四只比色杯,其中一只装蒸馏水,另三只装标准溶液或待测溶液,将四只比色杯置暗盒中关好。

(6)先将蒸馏水(或为空白溶液)的比色杯置于光路上,把光路闸门扳到“红”点上,将光量调节器以顺时针方向或相反方向轻轻旋动,使光度计指示光点调节到透光度“100”处。

(7)上项操作完成之后,就可以将比色杯架拉杆轻轻地拉出一格,使第二个比色杯进入光路,此时微量计标尺上所指读数即为该溶液的吸收值及透光度。第二第三个溶液按同样操作进行比色。

(8)绘制工作曲线:将标准系列溶液比色测得的吸光度或透光度的读数记下。以系列标准溶液浓度为横座标,吸光度为纵座标,用方格纸绘成工作曲线。或以浓度为横座标,透光度为纵座标,则用半对数纸绘制工作曲线如图2-6。然后将待测溶液所测得的读数,在曲线上查得相应的浓度。

图2-6 浓度与吸收值A和透光度T

(9)仪器使用过程中,应不时校正微电检流计的“0”位是否移动,同时也用蒸馏水或空白溶液校正微电检流计指针是否在“100”处。

(三)使用注意事项

(1)光电分光光度计应安装在固定的水泥台上,勿使振动。周围环境应清洁、干燥和无腐蚀性气体,室内光线不宜太强。

(2)线路要接的准确(按接线上色点将单色器与微量计接好,将单色器与稳压器接上)。如待测液颜色较浅时,尽量采用低压5.5V,可延长光源灯泡的寿命。

(3)仪器连续使用不应超过2h,否则间歇半小时后再用,因灯很热,时间长易烧坏。使用过程中暂时不用时,应关上光路闸门,以保护光电池的灵敏度。

(4)使用时应首先将比色杯皆盛上蒸馏水进行比较,以检查其透光度是否一致,否则应进一步清洗或更换。比色时比色槽位置应放正确,盒盖盖好以免产生不必要的误差。

(5)测定时待测液的吸光度应在0.1-1.0之间(或透光度在40-80%范围内),而在0.4的准确度最高。

(6)波长调节旋钮要慢慢旋转,如若在刻度之外时,用力过猛易使旋钮位置变动使波长改变。

(7)每次用毕比色杯,应用蒸馏水洗净倒置晾干,放入盒内。擦比色杯应先用软纸将液滴吸干,后用绸布或软纸擦净。尤应保护比色杯的透光面,使其不受丝毫损伤。

随便看

 

离鸟网收录3541549条中英文词条,其功能与新华字典、现代汉语词典、牛津高阶英汉词典等各类中英文词典类似,基本涵盖了全部常用中英文字词句的读音、释义及用法,是语言学习和写作的有利工具。

 

Copyright © 2004-2024 vtrois.com All Rights Reserved
更新时间:2026/4/7 22:37:29