网站首页  词典首页


请输入您要查询的字词:

 

字词 刚性防水屋面
类别 中英文字词句释义及详细解析
释义

刚性防水屋面


刚性防水屋面是指用细石混凝土、块体材料或补偿收缩混凝土等材料作屋面防水层,依靠混凝土等材料密实并采取一定的构造措施,以达到防水的目的。

刚性防水屋面与卷材防水屋面和涂膜防水屋面相比,这种防水屋面具有价格便宜、材料易得、耐久性好、维修方便、承重性好等优点。但是,刚性防水屋面材料的表观密度大、抗拉强度低、极限拉应变小、易产生裂缝变形。因此,刚性防水屋面主要适用于防水等级为Ⅲ级的屋面防水,也可用作Ⅰ、Ⅱ级屋面多道防水设防中的一道防水层;不适用于设有松散保温层的屋面、大跨度和轻型屋盖的屋面,也不适用于受较大震动或冲击的建筑屋面。

当采用细石混凝土、预应力混凝土、补偿收缩混凝土及钢纤维混凝土等刚性防水层时,在防水层与基层之间应设置隔离层。

(一)隔离层的设置

在结构层与防水层之间增加一层低强度等级砂浆、卷材、塑料薄膜等材料,起隔离作用,使结构层和防水层变形不受约束,以减少防水混凝土产生拉应力,导致混凝土防水层开裂。隔离层的构造及做法,参见表8-15。以下介绍黏土砂浆、石灰砂浆和毡砂隔离层。

表8-15 隔离层构造及做法

(二)细石混凝土防水层施工工艺

细石混凝土刚性防水,有普通细石混凝土、补偿收缩细石混凝土、掺加纤维细石混凝土和预应力细石混凝土防水屋面。目前,建筑工程上常用的是前两种细石混凝土。

细石混凝土防水屋面,适用于无保温层的装配式或整体现浇的钢筋混凝土屋面,而不适用于设有保温材料的屋面。由于所用材料易得,价格便宜,耐久性好,维修方便,所以规范规定可用于屋面防水等级为Ⅲ级的工业与民用建筑。但是,由于细石混凝土防水层所用材料的表观密度大,抗拉强度低,极限拉应变小,易因混凝土或砂浆的干湿变形、温度变形及结构变形而产生裂缝。因此,在规范中规定:对屋面防水等级为Ⅰ级、Ⅱ级的重要建筑,只有在与卷材刚柔结合做两道防水设防时方可使用。

1.细石混凝土对原材料的要求及配合比

(1)对原材料的要求

细石混凝土对原材料的要求,是指对水泥、石子、砂、水、钢筋和外加剂的质量要求。

1)对水泥的要求。细石混凝土防水层所用的水泥,宜采用普通水泥或硅酸盐水泥,用矿渣水泥时,应采取减小泌水性的措施,强度等级不宜低于42.5MPa。不得使用火山灰质水泥。硅酸盐水泥或普通水泥,其早期强度高,干缩性小,耐风化性好,是屋面刚性防水层良好的胶凝材料。

2)对石子的要求。细石混凝土防水层所用的石子,最大粒径不宜超过15mm,含泥量不应大于1%。细石混凝土防水层的厚度一般为40mm左右。如果石子含泥量过大,不仅会影响混凝土的强度,而且会降低混凝土的抗渗性能。

3)对砂子的要求。细石混凝土防水层所用的砂子,应采用中砂或粗砂,含泥量不应大于2%。即要求用砂子粒径为0.3~0.5mm的中砂或粗砂。

4)对拌合水要求。细石混凝土防水层所用的水,应采用不含有害物质的洁净水(如自来水和饮用水)。

5)对钢筋的要求。细石混凝土防水层内配置的钢筋,宜采用冷拔低碳钢丝。一般采用Φ4乙级冷拔低碳钢丝,这种钢丝既能满足构造要求,同时也比较经济。

6)对外加剂的要求。在混凝土中掺加一定量的外加剂,不仅可以提高混凝土拌合物和易性,有利于施工操作,而且还可以增加混凝土的密实度,提高混凝土的抗渗性能。目前,我国混凝土外加剂发展迅速,品种繁多。例如膨胀剂、减水剂、防水剂等。以上外加剂性能各异,掺量和使用方法各不相同,使用时应根据施工条件、技术要求等因素,选择适宜不同品种的外加剂。

细石混凝土防水层所用的其他材料,也应符合国家有关质量标准的规定。

(2)细石混凝土防水层的配合比

根据国内外细石混凝土防水层施工经验证明,提高混凝土的密实性,不仅有利于提高混凝土的抗风化能力和延缓碳化速度,而且也有利于提高混凝土的抗渗性能。混凝土的密实性,主要取决于混凝土的水灰比、水泥用量、集料级配、匀质性、成型方法、振捣方法及使用外加剂等,而水灰比大小则是控制混凝土密实性的决定性因素。

细石混凝土防水层的配合比,主要包括以下四个技术参数:

1)水灰比:这是细石混凝土最重要的技术参数,细石混凝土的水灰比最大不应大于0.55。

2)水泥用量:水泥用量的多少决定水灰比大小,细石混凝土的水泥用量不得过少,一般不应小于330kg/m3

3)含砂率:根据我国在细石防水混凝土的施工经验,其含砂率宜为35%~40%。

4)灰砂比:根据我国在细石防水混凝土的施工经验,其灰砂比宜为1∶2.0~1∶2.5。

2.基层处理和板缝处理

(1)基层处理

做细石混凝土防水层屋面的基层,应当符合有关规定的要求。如为现浇钢筋混凝土屋盖时,其现浇混凝土的强度、钢筋的规格、数量、位置、尺寸、形状应符合设计要求,混凝土结构的施工质量应达到检验评定标准的要求。其具体要求是:钢筋混凝土屋盖应有足够的刚度,挠曲变形在允许范围内;结构表面无较大的裂缝出现,上表面应平整、光洁、清扫干净,排水坡度应符合设计要求,一般应为2%~3%。

(2)板缝处理

当屋面结构为装配式预制混凝土屋面板时,要求安装预制板时应坐浆饱满,安装平稳,端缝对齐,板缝宽度均匀,宽度不应大于40mm,也不应小于20mm,相邻板面的高差不得大于5mm。以便于对板缝进行处理。

浇灌板缝细石混凝土前,应首先将板缝清理干净,并浇水充分湿润,随即用强度等级不小于C20的细石混凝土灌缝,并插捣密实。灌缝所用的细石混凝土,应掺加适量的微膨胀剂,以保证灌缝的混凝土与缝壁连接紧密,提高结构层的整体刚度和抗渗性能。当板缝宽度大于40mm或上窄下宽时,板缝内应设置构造钢筋,以增大其刚度。

板端缝处是极易变形开裂的部位,尽管刚性防水层在板端缝位置要进行柔性密封处理,但若处理不完全,一旦出现渗漏,水必然沿板端缝渗入室内。因此,在浇灌板缝细石混凝土后,对于板端缝要进行密封处理,使其成为第二道防水防线,以提高防水的可靠性。

3.隔离层的施工

细石混凝土屋面和基层在建筑物的最顶部,温差、干缩、荷载等因素的作用,易使结构层发生变形、开裂,导致刚性防水层产生裂缝。同时,因防水层骤冷收缩,而基层滞后约束了防水层的收缩变形,而将防水层拉裂。根据实践经验,在防水层与基层之间设置隔离层,使两层之间不粘结,防水层可以自由伸缩,减少了结构层变形对防水层的不利影响。

隔离层在找平层养护1~2d后,待能上人操作时即可施工。隔离层可采用纸筋灰、麻刀灰、干铺卷材、聚酯毡、砂垫层、黏土砂浆、白灰砂浆等。

(1)纸筋灰或麻刀灰隔离层

纸筋灰或麻刀灰应在防水层施工前1~2d施工,厚度一般为2~3mm,要求将纸筋灰或麻刀灰均匀地抹在找平层上,并要抹平压光。纸筋灰或麻刀灰抹完后,待其基本干燥时,即可进行防水层施工,以免隔离层遇雨被水冲刷。

(2)砂垫层隔离层

砂垫层隔离层,即在基层上满铺一层厚度为10mm的细砂,将其铺开刮平,滚压密实,然后在上面平铺一层卷材或铺抹纸筋灰、1∶4石灰砂浆等。灰浆厚度一般为10~20mm,上灰时应用铁锨轻轻铲放,铺时平压平抹,不得横推砂垫层,以免使砂子推积成堆。施工时一般采用退铺法,即铺摊一段细砂,立即铺抹灰浆。如果施工气温高,表面干燥过快,收缩裂缝过大时,应及时洒水再次抹压。

(3)干铺油毡或聚酯毡

在找平层上直接干铺一层卷材或聚酯毡作为隔离层,铺贴卷材、聚酯毡分别用沥青和防水胶粘结,表面涂刷二道石灰水和一道掺加10%水泥的石灰浆。如果不涂刷这层隔离浆,卷材在夏季高温下易发生软化,使沥青浸入防水层底面而粘牢,起不到完全隔离的效果。隔离层干燥并具有一定强度后,才可进行细石混凝土的施工;否则,浇筑细石混凝土时,石子易嵌入隔离层或穿透隔离层而失去隔离效果。

(4)黏土砂浆和白灰砂浆隔离层

黏土砂浆和白灰砂浆粘结强度很低,故能起到隔离的作用;这种材料本身又具有一定的强度,所以也便于在其上浇筑细石混凝土。作为隔离层的黏土砂浆和白灰砂浆,其配合比分别为:石灰膏∶砂∶黏土=1∶2.4∶3.6,石灰膏∶砂=1∶4。铺设时,先将基层洒水湿润,但表面不得积水,然后铺抹一层厚为10~20mm的黏土或白灰砂浆,抹平压光并进行养护。等黏土砂浆或白灰砂浆基本干燥(手压无痕)后,方可进行下道工序的施工。

4.分格缝的设置

采用细石混凝土防水层,必须设置一定数量的分格缝。因为混凝土防水层会因温差影响、混凝土干缩、结构变形等,而造成防水层开裂;如果将以上变形集中于分格缝中,可以避免防水层板面产生裂缝。

细石混凝土防水层的分格缝,一般应设置在屋面板的支承端、屋面转折处、屋面与突出屋面结构的交接处,并应与屋面结构层的板缝对齐。考虑到我国工业建筑柱网以6m为模数,民用建筑的开间大多数也不小于6m,分格缝的间距以6m左右为宜。分格缝的缝宽宜为20~40mm,缝中应嵌填背衬材料,缝内应嵌填密封材料,上面用卷材作保护层,以柔性材料适应变形,以刚柔结合达到减少裂缝和增强防水的目的。

为使分格缝位置准确,必须在做好的隔离层上进行准确弹线,确定分格缝的位置。在支设分格缝模板时,应制成上宽下窄(上口25mm、下口20mm)的形状,事先用水浸透,并涂刷隔离剂,然后用水泥砂浆固定在隔离层上。安装防水层模板时,应抄平或拉通线标出防水层厚度和排水坡度。

5.物资准备

物资准备包括:现场材料准备、施工设备准备、钢筋网片设置和细石混凝土制备等。

(1)施工现场的材料准备

采用细石混凝土防水层时,施工现场的材料准备主要包括:冷拔低碳钢丝已准备齐全,并已经过调直、下料、除锈、弯曲成型处理;混凝土所用的材料,能满足屋面混凝土防水层一次连续浇筑完毕;嵌填分格缝的材料和其他所需材料已准备齐全。

(2)施工设备的准备

施工设备包括施工所用的机械和工具,如混凝土搅拌机、混凝土运输设备、平板振捣器、抹光机、震动设备、计量设备等,能保证正常运转和安全使用。施工中所需的各种工具,已经准备就绪,完全能满足使用。各种安全设施已按要求设置齐全,能确保施工安全。

(3)钢筋网片的配筋

为提高细石混凝土防水的抗裂性、分块的整体性和抗渗性,按设计规定应当设置钢筋网片。钢筋网片铺设按设计规范要求,一般设置直径为4~6mm、间距为100~200mm双向钢丝网片。网片采用绑扎和点焊成型均可,其安放位置以居中偏上为宜,但保护层不应小于10mm。施工中应当保护好已绑扎好的钢筋网片,严禁踩踏钢筋网片。

分格缝处的钢筋要断开,使防水层在该处自由伸缩。为保证分格缝的位置准确,可采用先满铺钢筋,再绑扎成型,然后在分格缝的位置将钢筋剪断并弯钩的施工程序进行施工。

(4)细石混凝土的制备

细石混凝土应当按照防水混凝土的要求进行配制,以达到设计的防水目的。采用补偿收缩混凝土时,其自由膨胀率应按设计要求确定,一般为0.05%~0.01%,配合比应根据自由膨胀率及施工时的温度、水泥品种、配筋率等试验确定。

采用直接加入法拌制补偿收缩混凝土时,要有专人负责秤量和添加膨胀剂,原材料装入料斗的次序为:石子、水泥、膨胀剂、砂子。在混凝土配制时,必须严格遵循以下几点:原材料的允许偏差,微膨胀水泥和普通水泥为±1%,膨胀剂为±1%,水为±1%,集料为±2%;在搅拌机连续搅拌的时间不少于3min。

6.细部构造

根据对屋面细石混凝土防水层渗漏质量问题的调查表明,大部分细石混凝土屋面渗漏,大多数是由于节点构造设计不合理或施工质量不合格等因素造成的。因此,在国家标准《屋面工程质量验收规范》(GB 50207-2002)中作出了明确规定。

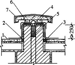
(1)普通细石混凝土和补偿混凝土防水层的分格缝,应设在屋面板的支承端、屋面转折处、防水层与突出屋面结构的交接处,其宽度以20~40mm为宜,其纵横间距不宜大于6m。分格缝中嵌填密封材料,上部铺贴防水卷材。分格缝的构造,如图8-3、图8-4所示。

图8-3 分格缝构造(一)

1-刚性防水层;2-密封材料;3-背衬材料;4-防水卷材;5-隔离层;6-细石混凝土

图8-4 分格缝构造(二)

1-刚性防水层;2-密封材料;3-背衬材料4-防水卷材;5-隔离层;6-细石混凝土

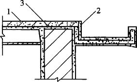
(2)细石混凝土防水层与屋面的天沟、檐沟的交接处,应留设凹槽以便迅速排水,并用密封材料封严,檐沟构造如图8-5所示。

图8-5 檐沟构造

1-刚性防水层;2-密封材料;3-隔离层

(3)刚性防水层与山墙、女儿墙的交接处,应留设宽30mm的缝隙,并用密封材料嵌填;泛水处应铺设卷材或涂膜附加层。泛水构造如图8-6所示。

图8-6 泛水构造

1-刚性防水层;2-防水卷材或涂膜;3-密封材料;4-隔离层

(4)刚性防水层与变形缝两侧墙体交接处,应留设宽30mm的缝隙,用密封材料嵌填;变形缝中应填充泡沫塑料或沥青麻丝,其上填放衬垫材料,并用卷材封盖,顶部加扣混凝土或金属盖板。如图8-7所示。

图8-7 变形缝构造

1-刚性防水层;2-密封材料;3-防水卷材;4-衬垫材料;5-沥青麻丝;6-水泥砂浆;7-混凝土盖板

(5)伸出屋面的管道与刚性防水层交接处,应留设一定宽度的缝隙,用密封材料嵌填,并加设柔性防水附加层,收头应固定密封,如图8-8所示。

图8-8 伸出屋面管道防水构造

1-刚性防水层;2-密封材料;3-卷材(涂膜)防水层;4-隔离层;5-隔离层;6-管道

7.施工工艺

细石混凝土防水层质量优劣,关键在于保证混凝土的配制、振捣密实性和良好的养护。

(1)混凝土配制

配制细石混凝土时,必须按设计配合比称量,误差不得超过施工规范的规定。混凝土的水灰比不应大于0.55,水泥用量不应少于330kg/m3,含砂率宜为35%~40%,灰砂比宜为1∶2~1∶2.5,如掺加外加剂应经试验后,确定最佳掺量范围。混凝土强度等级不应低于C20。

(2)混凝土浇筑

在细石混凝土浇筑过程中,特别要注意防止混凝土的分层离析,运输混凝土的容器要严密,不得出现漏浆现象,道路要平坦。屋面上用手推车水平运输混凝土,切不可直接在已绑扎好的钢筋网片上行走,必须架设专门的运输信道,以免使钢筋位移和变形。

浇筑混凝土时,应将手推车中的混凝土倒在铁板上,再用铁锨转入浇筑部位,不得直接向钢筋网片上直接倾倒。如果用混凝土吊罐卸料,其倾倒高度不应大于1m,且均匀分散倾倒,不得集中一处卸料。下料时,要时刻注意钢筋间距和保护层厚度的准确性。

细石混凝土的浇筑顺序,应从高处向低处进行,一个分格的混凝土必须一次浇筑完,不允许留施工缝。在常温情况下,混凝土从搅拌出料至浇筑完成的间隔时间,不宜超过2h。

(3)混凝土振捣

由于刚性防水层的厚度较薄,用插入式振捣器不适宜,应尽可能采用平板式振捣器振捣,振摇至表面出现浆液为准。在分格缝处,宜两边同时铺有厚度基本相同的混凝土再振捣,以避免模板产生位移。

(4)表面处理

待混凝土振捣泛浆后,应立即用2m刮尺将表面刮平,然后用铁抹子抹平压实,使其表面平整,并符合排水的要求。抹压时,如提浆有困难,说明水泥用量过少或搅拌不均匀、振捣不充分,应及时调整配合比或检查施工方法。但严禁在表面任意洒水、加铺水泥砂浆或撒干水泥进行压光。

当混凝土初凝后,应及时取出分格缝的模板,并及时修补好分格缝的缺损部分,使之完整、平直、光滑,此时面层即应用铁抹子进行第二次压光。必要时,待混凝土终凝前还应进行第三次压光。压光时应依次进行,不得留下压抹的明显痕迹。这是保证防水层表面密实度极其重要的一道工序,可以起到封闭毛细孔、提高抗渗性的作用。

(5)混凝土养护

细石混凝土浇筑后,由于防水混凝土早期脱水,会因干缩变形而引起混凝土的内部裂缝,使抗渗性大幅度降低,为了防止混凝土早期产生裂缝,在混凝土浇筑12~24h后应立即进行养护,在常温下养护时间不得少于14d。

细石混凝土的养护方法,可采取淋水、覆盖砂、锯末、草帘、涂刷养护剂,也可覆盖塑料薄膜等,使防水层保持在一定温度和湿润状态下。在施工条件允许时,最好采用灌入40~50mm深的水进行养护。在混凝土养护的初期,由于其强度较低,所以应严禁上人踩踏,避免防水层受到破坏。待防水层混凝土养护达到龄期后,即可进行嵌填分格缝的密封材料等后续工作。

(三)补偿收缩混凝土防水层施工

最早的补偿收缩防水混凝土,是在普通细石混凝土中掺入少量的矾土水泥和生石膏或掺入少量的明矾石等材料,在混凝土受约束条件下,使微膨胀的混凝土产生压应力,以补偿由于混凝土干缩变形所产生的拉应力,防止混凝土防水层出现裂缝。1985年,中国建筑材料科学研究院研制成功了UEA混凝土膨胀剂,改变了传统生产补偿收缩混凝土的方法。

目前,补偿收缩混凝土防水层是在细石混凝土中掺入适量膨胀剂搅拌浇筑而成的。其施工要求与操作要点与细石混凝土防水层基本相同,但在施工中要特别注意以下几个方面:

1.正确选择膨胀剂、确定最佳掺量

(1)正确选择膨胀剂

补偿收缩混凝土常掺加的膨胀剂,在我国主要有U型膨胀剂、复合膨胀剂、明矾石膨胀剂,另外还有CSA膨胀剂和石灰膨胀剂等,不同品种的膨胀剂对混凝土的膨胀性能和强度的影响是不同的。因此,应当选择膨胀率适宜、对强度增长有利的膨胀剂。我国应用较多的是U型膨胀剂,其具有凝结硬化正常、膨胀率适宜、强度不降低、适用范围广等优点。

(2)确定最佳掺量

膨胀剂的类型不同、混凝土防水层的约束条件和配筋不同,膨胀剂的掺量也不应当一样。在屋面防水工程中,补偿收缩混凝土的技术参数一般为:①自由膨胀率:0.05%~0.1%;②约束膨胀率:稍大于0.04%(配筋率0.25%);③自应力值:0.2~0.7MPa。

确定以上技术参数,是因为普通混凝土的干缩值一般在0.04%左右,因此要求掺入膨胀剂后使混凝土微膨胀,达到补偿混凝土收缩的目的。如果膨胀剂掺量过大,自由膨胀率大于0.1%时,将会使混凝土破损;如果膨胀剂掺量过小,则不能起到补偿收缩的作用。膨胀剂掺量多少,与混凝土的强度、施工气温、水泥品种、水灰比、配筋率、约束条件及养护条件等有关。通常,在常温施工时,配置Φ4-6@100~200mm钢丝网片的条件下,当自由膨胀率为0.05%~0.1%时,掺加U型膨胀剂的掺量一般以10%~14%为宜。经过试验确定的最佳掺量,应当严格计量、准确控制。

2.确定掺入的方法和混凝土搅拌时间

配制补偿收缩细石混凝土,在混凝土搅拌投料时,膨胀剂与水泥应当同时加入,以便充分混合均匀,发挥膨胀剂的作用。为了充分搅拌均匀,使膨胀剂通过与水泥的均匀混合达到混凝土微膨胀的目的,搅拌时间就应比普通混凝土的搅拌时间长,一般不应少于3min。

3.确定混凝土的配合比

混凝土配合比的确定,其具体方法如下:

(1)根据施工条件、参考有关资料和经验,选定三个不同的配合比,作为配合比试验的技术参数。

(2)试验时按选定配合比拌合制作三组(每组三块)30mm×30mm×290mm不同配比的试件,经过24h后拆模,用卡尺量出试件的初始长度L0,然后置试件于水中养护,每天测量一次直至最大膨胀值。再按下式计算其自由膨胀率:

式中 ε1pmax——混凝土最大膨胀率;

Lmax——试件最大实测长度(mm);

L0——试件一天龄期的初始实测长度(mm)。

根据测量资料,计算每组三个试件的最大自由膨胀率的算术平均值,其值在0.05%~0.10%范围内的那一组混凝土的配合比,即为确定的配合比。

4.严格掌握配合比

(1)膨胀剂的掺量一般按内掺法计算,即取代水泥用量的百分数。每立方米混凝土所用膨胀剂的重量与每立方米所用水泥的重量之和,作为每立方米混凝土的水泥用量。

(2)原材料配比应严格按配合比准确称量,各种原材料的允许偏差值为:水泥±1%;膨胀剂±1%;集料土2%;水±1%。

5.U型膨胀剂的使用

如果采用U型膨胀剂时,既可以掺入六大常用品种水泥中,更宜加入到强度等级42.5MPa的普通硅酸盐水泥和矿渣硅酸盐水泥,也可与减水剂、抗冻剂、速凝剂、缓凝剂、早强剂复合使用,但必须经过试验后确定。

6.做好防水层的养护工作

做好防水层的养护工作,是保证补偿收缩混凝土屋面施工质量的重要环节。因为U型膨胀剂等只有与水泥均匀混合,通过水泥的充分水化,才能实现要求达到的膨胀率。如果养护不充分,混凝土中的水分被很快蒸发,水泥则不能充分水化,膨胀剂的作用也就不能充分发挥,这样不仅会影响混凝土强度和抗渗性能,而且有的还会出现在混凝土表面起砂、掉皮现象,降低了混凝土的防水性能。

(四)块体刚性防水层施工

由于块体刚性防水层是用普通黏土砖或黏土薄砖(斗底砖)在屋面找平层上坐浆铺砌的,因此对结构变形的敏感性较大,故结构层最好采用现浇钢筋混凝土板,若屋面采用预制板时,应特别注意板铺设平整、稳固,板缝用C20干硬性细石混凝土认真嵌填密实。找平层应充分压实并养护,使其具有较高强度,从而达到提高整个屋面结构整体性的目的,以保证块体刚性防水层的施工质量。

1.对块体刚性防水层材料的要求

施工块体刚性防水层所需的主要材料有普通黏土砖(或黏土薄砖)、水泥砂浆等。为保证块体刚性防水层的质量,对其所用材料有以下质量要求:

(1)采用的普通黏土砖的强度等级应为MU7.5以上,若采用其他块体也应符合有关标准规定。砖的质量要求是:质地密实、表面平整、无石灰质颗粒、无缺棱掉角和开裂,在使用前应浇水湿润或提前一天浸水5min后取出晾干。在铺砌施工中,一律选用整砖,不得用碎砖拼铺。

(2)水泥宜采用强度等级不低于32.5MPa的普通水泥或42.5MPa的矿渣水泥。

(3)砂宜采用中砂或粗砂,质地坚硬且洁净。

块体刚性防水层所用水泥砂浆分为底层防水砂浆和面层防水砂浆,配合比参见表8-16。

表8-16 水泥砂浆配合比

2.普通黏土砖防水层屋面的施工

(1)铺砌砖块体

在铺砌前应在结构层上按屋面设计坡度做好找坡找平层,并浇水进行湿润,但表面不得留有积水。铺砌砖块体时,应先进行试铺并作出标准点,然后根据标准点挂线,用挤浆法铺砌经湿润的砖体。铺设形式宜为直行平砌,并与板拼缝垂直,块材的长边宜顺流水方向。严禁采用人字形铺设,砖四周缝宽为12~15mm,缝内挤浆高度应为块材厚度的1/2~2/3。

结合层砂浆一般用1∶3的水泥砂浆,其厚度不小于20~25mm。砖块体应随铺浆随铺设,避免砂浆粘结不实。在砌第二排砖时,要与第一排错缝1/2砖。砖块体铺设应连续进行,一般不宜间断;若必须间断时,应将接缝处块体侧面的残浆清除干净,以免出现粘结。

当砖块体铺设完毕后,在底层砂浆未达到终凝前,严禁上人踩踏和在其上进行其他作业,以免损坏已铺设好的防水层。

(2)抹水泥砂浆面层

抹水泥砂浆在常温施工条件下,待铺完砖块体24h后,就可以铺抹面层防水水泥砂浆。在铺抹面层砂浆前,先将铺好的块材表面喷水进行湿润,再用水泥砂浆填满缝隙,然后用配合比为1∶2的水泥砂浆(掺加一定量的防水剂)进行铺抹。面层的厚度一般不小于12mm。

在铺抹水泥砂浆面层时,先用刮尺基本刮平,再用木抹子拍实搓平,并用铁抹子紧跟压第一遍。当水泥砂浆开始初凝时,即可开始用铁抹子压第二遍,抹压时应压实、压光、不漏压,并要消除表面的气泡和砂眼。在水泥砂浆终凝前,再用铁抹子压第三遍,这遍抹压用力要更大一些,把第二遍抹压留下的抹纹、毛细孔压平、压光。

在水泥砂浆抹面时,如遇表面水分过多,千万不可撒干水泥压光,应撒上配合比相同的干砂浆抹压,抹面层时,严禁在已补砌好的砖上走车和整车倒砂浆,应搭铺脚手板或垫板。

(3)面层的养护

当面层抹压第三遍后,应根据施工气温、水泥品种和掺入的外加剂种类,在12~24h后即可进行浇水或覆盖砂、锯末、草帘等养护,有条件时采取蓄水养护,养护时间不少于7d。

3.黏土薄砖防水层屋面的施工

在黏土薄砖防水层铺设前,应做好试摆砖位、找平层的洒水湿润的准备工作。铺砌砂浆采用M2.5的混合砂浆,砂浆要充分搅拌均匀一致,石灰膏要充分熟化不含有颗粒。铺砌时,先将混合砂浆用刮刀平铺摊开、拍实,然后将黏土薄砖贴于其上。铺砖速度要快,不得间隔时间太长,否则会因砂浆干涩而影响粘结。

为保证施工质量,铺砖应挂线,使砖铺贴平整顺直,相邻两砖应错缝1/2砖,砖四周留出宽为10~15mm的缝隙。铺贴时应用手锤轻轻敲击,为防止空鼓和粘结不实,相邻两块砖的高差不得超过2mm。铺砖可顺流水方向划分施工段,但在同一流水坡面上要一次完成。

黏土薄砖铺贴24h后,即可以上人操作时,便可进行填缝、勾缝工作。勾缝前砖缝要洒水湿润,勾缝用稠度为8~12cm、配合比为1∶1∶3的混合砂浆,先将砂浆填入缝内,然后将缝的表面压平压光,并将多余灰浆清扫干净,及时做好养护工作。

(五)钢纤维混凝土防水层的施工

1.钢纤维混凝土防水屋面的发展

在普通混凝土中掺入适量钢纤维配制而成的混凝土,称为钢纤维混凝土或钢纤维增强混凝土。此种混凝土与普通混凝土相比,其抗拉强度、抗弯强度、耐磨性、耐冲击性、耐疲劳性、韧性、抗裂性、抗渗性和抗爆性等性能都得到很大提高。近几年来,国内外对钢纤维混凝土的研究获得巨大成果,并将其用做屋面防水层,取得了良好的效果。

经试验研究证明:若在普通细石混凝土中掺入钢纤维,极限拉应变可以大幅度提高。钢纤维在混凝土中呈三维随机分布,且与混凝土的粘结性较好,在混凝土膨胀时因受钢纤维的约束而产生预压应力,从而抵消了混凝土的大部分收缩,可限制裂缝的出现和开裂,故钢纤维混凝土具有较好的抗裂、抗冲击、耐磨及防水性能。若再加入适量的膨胀剂,还可以提高钢纤维混凝土的极限抗拉强度。

2.钢纤维混凝土的配合比设计

据国内外有关资料介绍,钢纤维混凝土的配合比设计,大多数按其抗拉强度为设计指标,并以大量试验资料为基础,制定出配合比设计的参考值。根据钢纤维混凝土的特点,一般应按以下步骤进行设计:

(1)确定钢纤维掺量与规格

根据大量试验证明,钢纤维的体积掺量范围,一般为0.8%~2%,最大不得超过3%;钢纤维的长径比,一般为60~80,最大不得超过100。

(2)确定粗集料最大粒径

普通混凝土所用粗集料最大粒径,由混凝土构件尺寸、搅拌和振捣能力、钢筋间距等因素所决定;但钢纤维混凝土所用粗集料的最大粒径,必须从混凝土的强度角度来确定。根据理论分析得出:当纤维含量为2%时,集料的最大粒径为钢纤维长度的1/2;当纤维含量为1%时,集料最大粒径为钢纤维长度的1/3~2/3。但粗集料最大粒径均不应超过15mm。

(3)确定水灰比

钢纤维混凝土的强度取决于水灰比和纤维含量。因此,钢纤维混凝土水灰比的确定,与普通混凝土不同。表8-17、表8-18列出了钢纤维混凝土的抗弯强度、抗折强度与水灰比、纤维含量的关系,可供配制钢纤维混凝土时参考。

表8-17 钢纤维混凝土的抗弯强度

表8-18 钢纤维混凝土的抗折强度

配制中应当注意,对钢纤维混凝土,当采用较小水灰比时,虽然其强度有所提高,但韧性也有所降低。当混凝土的韧性有特殊要求时,应选用长度较大、表面有变形的钢纤维。

当钢纤维混凝土有抗冻性要求时,应掺加适量的引气剂来配制混凝土,为确保其抗渗性,混凝土的含气量不宜过大,一般以小于5%为宜。

(4)确定砂率

对钢纤维确定科学、合理的砂率,比普通混凝土更具有重要意义。其原因在于:

1)砂率决定着钢纤维在混凝土中的分散度,对混凝土强度和均质性有一定影响。

2)砂率是支配钢纤维混凝土稠度的最重要因素,它严重影响着钢纤维混凝土拌合物的和易性。

钢纤维混凝土的砂率,若从强度的角度考虑,砂率一般控制在40%~50%比较适宜;从施工的角度考虑,砂率一般控制在50%~60%比较适宜。

3.钢纤维混凝土防水层的施工要点

钢纤维混凝土施工工艺与普通细石混凝土基本相同,但施工中应特别注意以下方面:

(1)控制钢纤维含量

为保证钢纤维在混凝土中充分发挥其作用,混凝土中的钢纤维体积含量宜为0.8%~1.2%,长径比应在60~80之间。

(2)对混凝土的要求

钢纤维混凝土的最大集料粒径应小于15mm,以免钢纤维在粗集料间产生结团,不易搅拌均匀;砂率应适当增大,一般宜选用40%~50%,以增大钢纤维混凝土拌合物的和易性;砂的细度模数一般宜取2.3~3.0;掺入膨胀剂后的膨胀率一般控制在0.02%~0.04%之间。

(3)设置分格缝

每格每边最大长度应小于6m,在预制和现浇混凝土屋面板交接处,不同刚度屋面相交界处,双坡屋面的屋脊部位,均应设置分格缝,缝中用密封材料嵌填、封严,其他节点处理同细石混凝土防水屋面。

(4)设置隔离层

为使钢纤维混凝土防水层能够自由伸缩,可在找平层与防水层之间用5mm厚的细砂或涂刷热沥青作为隔离层。

(5)防止钢纤维锈蚀

为防止钢纤维产生锈蚀,可在已浇筑好的防水层表面抹3~5mm厚的水泥砂浆保护层或用防水涂膜保护。

(6)防止混凝土拌制中结团

1)为避免钢纤维混凝土拌制过程中出现结团现象,当采用自落式搅拌机拌制钢纤维混凝土时,应首先加入粗集料和钢纤维干拌0.5min,然后再加入砂子、水泥干拌1min,最后边搅拌边加水、膨胀剂及减水剂搅拌2~3min,直至搅拌均匀;如采用强制式混凝土搅拌机时,则应先加入砂、石、水泥干拌均匀,然后在加水搅拌的同时,徐徐撒入规定的钢纤维。

2)为避免钢纤维在搅拌时出现结团现象,也可采用钢纤维后撒法施工,即在浇筑屋面微膨胀混凝土防水层时,一边浇捣混凝土、一边均匀地在混凝土表面上撒入设计的钢纤维,一般每1m2面积加入1kg左右,随即用平板振捣器振捣,小铁辊碾压至表面泛浆,看不见钢纤维为止,然后用铁抹子抹光,混凝土凝结后再做5mm厚的1∶3水泥砂浆保护层。

(六)预应力混凝土防水层施工

1.预应力混凝土防水层的发展

细石混凝土防水层很容易受到温差应力和干缩应力的作用,当这些应力超过混凝土的拉应力时,很容易产生裂缝造成屋面渗漏。为解决这一问题,于20世纪80年代初期,由湖南铁路部门和高等院校,根据预应力结构的原理,预先给屋面防水层混凝土施加一定的预压力,来克服混凝土由于温差和干缩产生的拉应力,从而可以避免防水层屋面的开裂。

经过科学研究和多次试验,不仅解决了预应力防水屋面在设计上的理论问题,而且解决了在屋面上张拉钢丝的施工机具问题,取得了预应力混凝土防水屋面在构造、设计、施工工艺和材料选择等方面的初步经验。经过工程实践,预应力混凝土防水层结构,已在工程上广泛应用,并取得了良好的效果。

预应力混凝土防水层具有以下优点:

(1)采用预应力混凝土防水层,能较好地解决细石混凝土防水层易开裂的问题,从而具有较好的防水效果。与普通细石混凝土防水屋面相比,预应力混凝土屋面防水层的渗漏率大大减少。

(2)能节约大量的钢材。由于采用了预应力技术,从而大大减少了防水层混凝土中的钢筋用量。根据工程实践证明,预应力混凝土可以比普通细石混凝土节约钢材40%~50%。

(3)降低工程造价。由于采用预应力技术,防水混凝土的厚度可以减小,不仅能节省大量的钢材,而且也减少混凝土的用量,降低工程造价,一般能降低造价20%左右。

这种施工工艺与普通混凝土相比,也存在一些不足之处。如需用专用的预应力张拉设备,需要经过张拉、剪丝、放张等操作工序,增加了施工操作的复杂程度等。由于这种做法要设置张拉台座,目前仅限于用在顶部设置混凝土圈粱的屋面和专门设置钢台座,而混凝土圈梁这种结构形式,对解决屋面温差变形是很不利的,因此还需要进一步改进和完善。

2.预应力混凝土防水层的施工

预应力混凝土防水层施工技术,基本上与普通细石混凝土防水屋面相同。

(1)张拉台座的安装

张拉台座既是固定预应力钢丝的工具,又可兼作防水层周边的模板。可采用型钢做预应力张拉台座,嵌固在天沟内;也可采用钢木组合台座,将台座固定在檐口圈梁上。钢台座和型钢组合台座安装,如图8-9所示。

图8-9 钢台座及型钢组合台座安装

安装时,先按@600mm放置好台座短槽钢,穿入长螺杆,拧紧螺母,先稍稍顶住天沟外壁,再铺设通长角钢(穿钢丝用),并穿入角钢和槽钢的连接螺栓,然后调整尺寸和位置,使角钢台座上的穿筋孔位置准确后,再拧紧所有螺栓,使之顶紧天沟外壁,与角钢和槽钢紧密连接。

(2)张拉预应力筋

将钢丝的一端穿入固定端,用锥形锚具进行锚固,另一端通过张拉端的锚固孔。穿钢丝时要先穿长向钢丝(在下),后穿短向钢丝(在上),相互垂直排列。然后将校正好的测力器安装调整,将钢丝一端经锥形锚环插入张拉器的夹具,用手动液压张拉器按先长向后短向的顺序张拉。当张拉值达到设计要求后,用锥形锚具固定张拉端钢丝,当张拉完毕后应按要求检查张拉应力值,如发现不足时应重新张拉。

张拉预应力钢丝的控制应力一般为:σk=(0.7~0.75)fpok。为减小钢丝应力的损失,施工时应防止操作入员与机具碰动钢丝。

(3)浇筑混凝土

1)预应力钢丝张拉完毕后,安装分格缝模板条。为了便于钢丝通过,可在模板条下缘按钢丝间距开一个宽6mm、高30mm的直槽。

2)混凝土的材料组成和拌制,与普通细石混凝土相同,一般应采用强度等级为C30。在钢丝交叉处按梅花形垫放水泥砂浆垫块。

3)拆模与剪丝。拆模应在混凝土终凝前进行,取模板条时要轻轻敲打,由两端均匀垂直将木条取出,如有拉坏处应及时修补好,当最后浇筑的混凝土强度达到设计强度的70%后,按照对称剪丝、间隔剪丝、先里后周边的原则将钢丝逐根剪断,但切忌非对称和依次剪丝,以免产生不均匀的弹性压缩。

4)拆除张拉台座。剪丝全部完成后,即可拆除张拉台座,并将四周钢丝端头用聚合物砂浆封抹或涂刷防锈漆,防止钢丝遭侵蚀破坏。

随便看

 

离鸟网收录3541549条中英文词条,其功能与新华字典、现代汉语词典、牛津高阶英汉词典等各类中英文词典类似,基本涵盖了全部常用中英文字词句的读音、释义及用法,是语言学习和写作的有利工具。

 

Copyright © 2004-2024 vtrois.com All Rights Reserved
更新时间:2026/4/8 15:58:36