网站首页  词典首页


请输入您要查询的字词:

 

字词 前桥
类别 中英文字词句释义及详细解析
释义

前桥


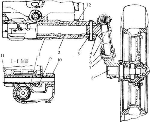
前桥用来安装前轮,通过前轮支撑拖拉机的前部重量。前桥与机体铰链连接,当拖拉机在不平地面上行驶时,前桥可以摆动,以保证两前轮同时着地。为了调节前轮轮距,前桥有伸缩套管式与伸缩板梁式两种结构,国产拖拉机多采用伸缩套管式前桥。铁牛-55型拖拉机的前桥如图4-15所示。主要由前轮半轴、转向节轴、转向节支架与支架管、前轴、车架支座及摇摆轴等组成。摇摆轴与车架支座铰接,使前轴可相对于机体自由摆动。转向节支架管装于前轴孔内,并由定位销限位,转向节支架管上有相距50mm的6个孔,使前轮轮距在1260~1760mm范围内调整。

图4-15 铁牛-55型拖拉机前桥

1.前轴 2.转向节支架管 3.定位销 4.转向节支架 5.轴套 6.推力球轴承 7.转向节轴 8.前轮半轴 9.楔形锁销 10.摇摆轴 11.车架支座 12.限位块

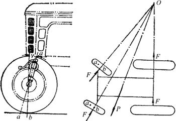
为了保证拖拉机直线行驶的稳定性和转向时的轻便、灵活性,并减少轮胎和机件磨损,应该使转向节轴内倾和后倾,前轮外倾及前束,这种具有一定相对位置的安装称为前轮定位。

转向节轴向内倾斜一个角度β,称为转向节轴内倾。如图4-16所示,偏转前轮后机体将被抬高h值,被抬高的前轴在拖拉机重量的作用下,随时都有降落的趋势,使前轮自动回正到居中位置,因而提高了拖拉机直线行驶的稳定性。转向节轴内倾后,既缩短了前轮着地点与转向节轴线的距离,又减小了前轮偏转的阻力矩。转向节轴的内倾角一般为3°~9°。

图4-16 转向节轴内倾

转向节轴向后倾斜一个角度γ,称为转向节轴后倾,如图4-17所示。其目的是使前轮偏转后有自动回正作用,以保持拖拉机直线行驶的稳定性。转向节轴后倾使其轴线与地面的交点位于轮胎接地点前方,转向时地面对前轮的侧向反力对转向节轴产生回正力矩,驱使前轮回到居中位置。后倾角过大,将引起转向费力、拖拉机“晃头”,一般为0°~5°。

图4-17 转向节轴后倾

前轮旋转平面向外倾斜一个角度α,称为前轮外倾,如图4-18所示。前轮外倾缩短了前轮支承点到转向节轴轴线与地面交点之间的距离,从而减小了前轮偏转的阻力矩,使转向操纵轻便。此外,前轮外倾使地面支反力的轴向分力F指向前轮内端的大圆锥轴承,使前轮不易松脱。

图4-18 前轮外倾

两个前轮的前端在水平面上向里收束的现象,称为前轮前束,如图4-19所示。其作用是为了抵消前轮外倾所造成的外滚趋势,保持两前轮直线行驶,以减小行驶阻力和轮胎的磨损。在前轮居中位置时,两前轮后端与前端距离之差(图4-19中A2-A1或B2-B1),即为前束值,一般在2~12mm范围内。

图4-19 前轮前束

随便看

 

离鸟网收录3541549条中英文词条,其功能与新华字典、现代汉语词典、牛津高阶英汉词典等各类中英文词典类似,基本涵盖了全部常用中英文字词句的读音、释义及用法,是语言学习和写作的有利工具。

 

Copyright © 2004-2024 vtrois.com All Rights Reserved
更新时间:2026/5/25 13:43:12