网站首页  词典首页


请输入您要查询的字词:

 

字词 剪板机
类别 中英文字词句释义及详细解析
释义

剪板机


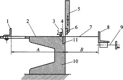
图5-1所示为机械传动龙门剪板机的结构简图。龙门剪板机是斜刃剪切,其剪刃与被剪钢板的一小部分接触,是逐渐进行剪切的,因而它比平刃剪切的剪切要小得多。上剪刀片倾斜地固定在刀架上,它与下剪刀片相交的倾斜角,称为剪切角。龙门剪板机的上剪刀是利用偏心机构和离合器的作用实现上、下运动的,偏心轮旋转一周,带动上刀架上、下运动一次,即实现剪切一次。板料的压紧是通过装在横轴上的凸轮压迫杠杆机构,从而使压紧梁下降实现的。压紧装置的动作先于上剪刀片的动作。

图5-1 龙门剪板机结构简图

1-压紧装置;2-偏心轮;3-横轴;4-齿轮;5-下刀座及下刀片;6-床身;7-上刀架及上刀片

1.龙门剪板机操作方法

①开动电动机,使剪板机空车运转,并检查机器各部位有无异常情况。

②固定尺寸挡板。图5-2所示为龙门剪板机工作部位示意图。图中前挡板用螺栓固定,后挡板做成可用螺杆调节的结构。无论前挡板和后挡板都必须固紧,不准强力碰撞,防止位移。

图5-2 龙门剪板机工作部位示意图

1-前挡板;2-床面;3-压料机构;4-栅板;5-托板;6-上刀片;7-板料;8-后挡板;9-螺杆;10-床身;11-下刀片

③将板料放在剪板机上、下剪刀片之间,并靠紧尺寸挡板。

④脚踏离合器,上刀片下降与下刀片共同作用剪断板料。

⑤移动剩下的板料,靠紧尺寸挡板,再进行下一刀剪切。

2.利用挡板定位进行剪切的方法

龙门剪板机剪切时常利用挡板起定位作用,这样可省掉画线的工序,提高剪切效率,并保证质量。

(1)挡板的形式

挡板分前挡板、后挡板、角挡板三种。图5-3所示为利用挡板定位,剪切不同形状板料的方法。图5-3(a)表示利用后挡板剪切矩形板料;图5-3(b)表示利用前挡板剪切矩形板料;图5-3(c)表示利用后挡板剪切平行四边形的板料;图5-3(d)、(e)表示利用角挡板和后挡板剪切不规则四边形的板料;图5-3(f)表示在矩形板料上剪去一角的方法。

图5-3 剪板机上挡板定位方法

(2)利用挡板实现连续剪切

连续剪切就是开动剪板机的自动行刀开关或一直踏住离合器,使上剪刀片连续上、下动作进行的剪切。为了在上剪刀片回程很快的时间内进给板料,一般都利用挡板来保证零件的尺寸和形状。连续剪切要点如下:

①每次进给料时,不能用太大的力碰撞挡板,避免挡板位移。否则,不能保证剪切零件的质量。在正常情况下,也要抽检一下剪切的零件尺寸。

②连续剪切时,精神必须集中,防止人身、质量事故发生。

(3)挡板的调整

①调整前挡板。把后挡板靠紧下刀片口,再把样板靠紧后挡板,将前挡板靠紧样板并固定住,松开后挡板,去掉样板,进行剪切,如图5-4所示。

图5-4 调整前挡板

②调整后挡板。如图5-5所示,将样板托平对齐下刀口,再把后挡板靠紧样板并固定住,去掉样板,进行剪切。

图5-5 调整后挡板

③调整角挡板。如图5-3(c)所示,先将样板放在台面上,对齐下刀口,调整角挡板并固定住。根据样板调整后挡板,这种情况下是同时利用角挡板和后挡板。

在利用挡板定位时,对第一块剪切完的板料应检查一下是否符合要求,然后才能成批剪切。

3.剪切时注意事项

(1)剪切顺序

剪切前画线时应考虑到零件的形状及尺寸,以及各种零件的剪切顺序,如图5-6所示,应按1、2、3……的顺序剪切。

图5-6 剪切顺序

(2)剪切圆弧形

画线时可让切线与圆弧线相切,如图5-7所示。剩下的棱角部分还要用气切或砂轮磨修。

图5-7 圆弧形剪切方法

(3)剪切窄板时加垫板及压板

被剪的板条用压料装置已不能牢靠地压住,必须用加垫板和压板的办法剪切。

(4)刀片的固定螺栓不准松动

工作前要检查,如有松动应紧固后才可开车。

4.剪板机的维护保养

①经常保持机器传动机件润滑良好,每班之前各油杯都要加油一次。

②不准剪切硬度很高和厚度超过规定的钢板材料。

③保持机器各部位整洁,应经常清扫机器周围的边角余料,消除不安全因素。

④刀片需定期刃磨,如刃口损坏时,需及时更换。

随便看

 

离鸟网收录3541549条中英文词条,其功能与新华字典、现代汉语词典、牛津高阶英汉词典等各类中英文词典类似,基本涵盖了全部常用中英文字词句的读音、释义及用法,是语言学习和写作的有利工具。

 

Copyright © 2004-2024 vtrois.com All Rights Reserved
更新时间:2026/5/25 10:57:48