网站首页  词典首页


请输入您要查询的字词:

 

字词 动力输出装置
类别 中英文字词句释义及详细解析
释义

动力输出装置


动力输出装置能将发动机功率的一部分以至全部传给不具有动力装置的农具。它包括动力输出轴和胶带轮。

(一)动力输出轴

动力输出轴的转速、旋转方向与尺寸等,均由国家标准统一规定。其传动形式可分为非独立式、半独立式、独立式和同步式等。

1.非独立式动力输出轴 它的传动和操纵都通过主离合器控制,主离合器接合或分离时动力输出轴随之旋转或停转。东方红-75、802型拖拉机采用该形式,其传动路线如图4-45所示。其动力由主离合器、变速箱第一轴、倒挡轴、爪式联轴节传给动力输出轴。非独立式动力输出轴结构简单,但在拖拉机起步时要同时克服拖拉机起步和农具开始工作两方面的工作阻力,易使发动机超负荷。另外,停车换挡时农具随之停转。

图4-45 东方红-75、802型拖拉机非独立式动力输出轴传动简图

1.离合器 2.变速箱第一轴 3.倒挡轴 4.爪式联轴节 5.动力输出轴

2.半独立式动力输出轴 半独立式动力输出轴的传动和操纵由双作用离合器的副离合器控制,与主离合器共用一套操纵机构。铁牛-55及上海-50型拖拉机采用该形式的动力输出轴,铁牛-55型拖拉机半独立式动力输出轴的传动路线如图4-46所示。其动力由双作用离合器的副离合器、副离合器轴、动力输出前轴、离合套传给动力输出轴。主离合器分离时动力输出轴仍继续转动,因此,在拖拉机行走或停车时都能驱动农具工作。

图4-46 铁牛-55型拖拉机半独立式动力输出轴传动简图

1.副离合器 2.副离合器轴 3.变速箱第一轴 4.动力输出前轴 5.离合套 6.动力输出轴

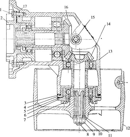
(二)胶带轮

动力输出胶带轮用于驱动固定式农具进行作业,其旋转方向、宽度、安装位置、圆周速度等均由国家标准统一规定。铁牛-55型拖拉机动力输出胶带轮的构造如图4-47所示。它装在后桥壳体壁上,以轴承盖的止口定位。主动齿轮轴的内花键与动力输出花键轴相连,胶带轮与被动齿轮轴花键连接,并用螺母固紧。主、从动齿轮均为直齿圆锥齿轮,分别与主、从动齿轮轴制成一体,齿轮副的啮合间隙用调整垫片进行调整。

图4-47 铁牛-55型拖拉机动力输出胶带轮

1.螺栓 2.轴承盖 3、17.调整垫片 4.轴承座 5.纸垫 6.油封座 7.螺栓 8.开口销 9.螺母 10.垫圈 11.密封垫圈 12.胶带轮 13.胶带轮壳体 14.被动齿轮轴 15.加油孔螺塞 16.主动齿轮轴

随便看

 

离鸟网收录3541549条中英文词条,其功能与新华字典、现代汉语词典、牛津高阶英汉词典等各类中英文词典类似,基本涵盖了全部常用中英文字词句的读音、释义及用法,是语言学习和写作的有利工具。

 

Copyright © 2004-2024 vtrois.com All Rights Reserved
更新时间:2026/5/25 11:58:44