(一)用途与特点
化糖锅是一种结构简单,使用方便,具有加热和冷却装置的化糖设备。
(二)结构与工作原理
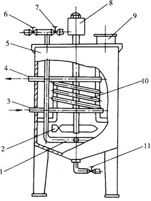
化糖锅主要由锅体、搅拌器、加热管、冷却盘管组成,锅体为单层不锈钢焊接而成,底部为锥形。蒸汽管从侧壁通过锅体底部,在水平横管上密布有许多小孔,可以喷射蒸汽,也同时作为清水进管。锅体中央上方有搅拌器,通过锅盖上方的电机和减速器带动旋转。锅体内的螺旋状盘管可通入冷水加速糖液的冷却。进料口位于锅盖上,出料口位于锅体底部中央,由内部球阀控制料口的开启,如图4-4-5所示。

图4-4-5 化糖锅
1-蒸汽与水进管 2-搅拌浆叶 3-冷水进口 4-冷水出口 5-锅体 6-蒸汽阀 7-进水阀 8-减速器 9-进料口 10-冷却盘管 11一出料口
(三)主要技术参数

注:温州瓯海食饮机械设备厂等制造。