网站首页  词典首页


请输入您要查询的字词:

 

字词 升板法施工工艺
类别 中英文字词句释义及详细解析
释义

升板法施工工艺


升板法施工工艺,主要包括基础施工、柱子施工、板的制作、板的提升和板的固定五大环节,其中板的提升是升板法施工的核心和重点。

(-)基础施工

升板工程的基础施工,实际上是钢筋混凝土预制柱的杯形基础施工。在施工过程中应特别注意杯口轴线和杯底高程的精度,这是能否顺利升板的关键。轴线尺寸偏移会影响提升环位置的准确性,杯底标高偏差会造成柱的预留停歇孔位置的高差,从而导致板的搁置差异。施工规范要求:基础轴线偏移不得超过5mm,杯底标高偏差不得超过±3mm。

(二)柱子施工

柱子是升板工程中的竖向构件,在提升阶段不仅是承重支柱,而且还起着提升机的导向作用,在工程完成后将全部承重传递给地基。因此,对柱子的制作要求非常严格,其截面尺寸和柱子上就位孔位置必须符合设计要求。柱子截面尺寸偏差不得超过±5mm,侧向弯曲不得超过10mm。

柱子的制作分为预制和现浇两种,工程最常用的是在现场预制。预制柱的制作场地平整坚实,并做好排水处理。采用重叠浇筑时,柱与柱之间应设隔离层,浇筑上层柱的混凝土时,下层柱的混凝土强度必须达到5MPa以上。预制柱的混凝土强度达到设计强度的70%以上,才允许运输和吊装。

柱子预留就位孔的孔底应当平整,标高偏差不得超过±5mm。孔底如果不平整,插入的承重销会偏斜,提升机很难调平,从而使提升比较困难和楼板支撑标高不一,产生搁置位置差异,甚至会扭坏起重螺杆。

柱子上还应按照提升程序的需要而预留停歇孔,停歇孔的间距按提升机的起重螺杆一次提升高度确定,一般为1.8m左右。停歇孔尽量与就位孔相结合,若两孔无法合一,则两者的净距不得小于300mm,停歇孔的尺寸和质量要求与就位孔相同。

柱子上的预留齿槽,拆模时不得损坏。柱子吊装前应将柱身表面的突起凿平,以免提升时卡住板的提升环。吊装后要求柱子底部中线与轴线偏移不超过5mm;标高偏差不超过±5mm;柱顶竖向偏差不超过柱长的1/1000,同时不大于20mm。

对于较长的柱子,可以分段进行制作。分段制作的方法为:(1)上节柱现浇,即当屋面板提升到下节柱的柱顶时,取下提升设备,利用屋面板作为操作平台,支模、浇筑上节柱子,待混凝土达到要求的强度后,继续提升下面的各层板;(2)上节柱预制,即将上节柱在屋面板上进行预制,并随着屋面板一同提升,当屋面板提升到下节柱子的柱顶时,取下提升设备,由停放在屋面板上的小型起重机吊装上节柱子,然后进行柱子的连接。

此外,为了避免出现两节柱子间的连接,还可以采用升板与柱滑模相结合的施工方式。

(三)板的制作

板的制作比较简单,即以混凝土地坪作为底胎模,就地依次重叠浇筑各层楼板和屋面板。由于楼板和屋面板的厚度较小、面积较大、刚度较差,所以要求地基必须坚实,胎模表面平整,尤其是柱孔四周胎模的标高偏差不应超过±2mm,以减少搁置时的差异。

为防止上下两层混凝土板面发生粘结,底层板与胎模、板与板之间必须涂刷隔离剂。板孔侧模与预制柱之间的空隙可用砂子填满,起到隔离作用。

(四)板的提升

板的提升是升板法施工中的主要环节,要特别重视板的提升差异和确保柱子在提升阶段的稳定性。升差是升板法施工的一个重要工艺指标,也是一个重要的设计参数。

1.提升和就位差异的控制

平板在提升的过程中是按等代连续梁计算的,各吊杆吊点即为连续梁的支点,如果各台提升机不能同步提升,则相当于各吊点位置出现不均匀支座沉陷,梁内就相应产生附加弯矩。提升差异越大,则产生的附加弯矩也越大,至一定限度楼板就会在提升过程中出现开裂。尤其是如果单点升差过大,会使该点四周的裂缝显着增大。同时,升差对提升机吊杆内力的影响也很大,会造成提升机超负荷甚至出现故障停机,还会增加螺杆的磨损。

提升过程中造成提升差异的原因主要有:(1)调紧提升螺杆时产生的初始差异,目前螺杆的松紧程度还是凭人的直观感觉进行判断,因此很可能出现较大的误差;(2)由于若干台提升机同时工作,提升速度不会完全均匀一致,不能达到同步时而产生的提升差异;(3)板在临时搁置或就位时,是由承重销进行支撑的,由于提升积累误差或孔洞不平等原因,也会导致承重销不在同一基准线上,从而产生搁置差异和就位差异。

施工规范规定:板的提升差异不应超过10mm;板的就位差异不应超过5mm。

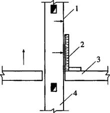
控制提升差异的方法有的采用标尺法,如图9-7所示,有的控制起重螺母的旋转数或控制起重螺杆的上升螺距数,还有的采用光电管、激光、数控等现代控制技术。

图9-7 标尺控制提升差异示意图

1-箭头标志;2-标尺;3-楼板;4-柱子

为了控制提升差异,根据建筑结构的平面布置和提升设备的数量,合理地划分板的提升单元。一个提升单元一般以不超过24根柱子包括的范围、形状并接近于正方形为宜,如图9-8所示。后浇板带的位置必须留在跨中,其宽度取决于钢筋搭接长度,一般为1.0~1.5m,后浇板带的底模板可悬挂在两边楼板上。

图9-8 板的提升单元划分示意图

1-柱子;2-楼板;3-后浇板带

2.板的提升顺序的确定

板的提升顺序是否合理,关系到提升阶段施工速度和柱子的稳定性,也是安排施工的主要依据。升板结构必须分别对施工和使用两个阶段进行计算。已确定的提升程序,就是施工阶段设计计算的依据,以此来验算群柱的稳定。在提升阶段,柱子是按一群悬臂细长构件来验算其强度和稳定性的,因此,提升机所处的位置越低对柱子的稳定性越有利。

在确定板的提升顺序时,主要应考虑下列两点:

(1)提升时应尽可能地缩小各层板的间距,有条件时最好采用叠层提升、重叠停歇,使上层板在较低标高处就能使下层板在设计位置上就位固定,这样可减少柱子的自由长度,从而提高柱子的稳定。

(2)要注意方便操作,螺杆和吊杆的拆卸次数要少,这样不仅可以提高提升效率,而且便于安装承重销(剪力块)。

提升顺序关系升板工程全局,必须由设计、施工和监理等单位共同讨论确定。在提升过程中如有顺序的改变,必须对群柱在提升过程中的稳定性重新进行验算。

每块板在开始提升时,为了克服板间的吸附力,一般应按照先四角、再四边、最后中间的顺序,逐步开动机器(每次提升5mm),反复逐步进行,使板缝的四周进入空气,以抵消吸附力,使板逐渐与底层脱开。

3.防止群柱失稳的措施

在板的提升过程中,防止群柱失稳是保证安全施工的关键,从施工方面应采取如下措施:

(1)在升板结构的提升施工中,应认真进行群柱各个提升阶段的稳定性验算,切实加强施工管理和操作控制。

(2)对于三层以上的升板结构,在提升施工的过程中,最上两层板中至少应有一层板交替与每个柱子楔紧,即将每根柱子的四边各楔一块硬木楔或钢楔,并尽早使板与柱子形成刚性连接。

(3)在每层楼板就位后,应立即浇筑钢筋混凝土柱帽,使柱子与楼板结成整体,以减少柱子的计算长度和长细比,提高柱的稳定性。

(4)在升板的施工过程中,可以用刚性水平支撑与附近已坚固稳定的建(构)筑物拉结起来,以增加正在施工的升板工程的稳定性。

(5)在吊装柱子时,各排柱子的承重销孔的方向要交错地相互垂直,使两个方向都有一定的抗弯能力,以增加安全度。

(6)加强对柱子垂直偏差的观测与校正,这是防止失稳的基本措施。一般是在板的四周悬挂大线锤,如果发现四角向同一方向位移过大,可立即加设支撑或拉缆风绳等稳定措施。

(7)在升板的施工过程中,如果遇到六级以上的大风,一是必须立即停止施工,二是对已升至高层的板四周用缆风绳进行临时固定。

(五)板的固定

当板提升到设计标高就位时,必须使板的就位差异不得超过5mm,板的平面位移不得超过30mm。为此,在达到以上就位标准后,应立即对板进行固定,使板和柱子成为一个整体,以此增大升板结构的稳定性。

板的固定根据与柱子形成的节点形式不同,可分为后浇柱帽节点和无柱帽节点两种。

1.后浇柱帽节点

普通的后浇钢筋混凝土柱帽,是目前在升板建筑工程中最常用的板柱节点形式,这种柱帽的施工是在楼板提升到设计标高后,在楼板底部的柱子上绑扎柱帽钢筋、组装模板,然后从楼板上的灌浆孔处向下浇筑混凝土而成,其构造形式如图9-1所示。它与柱子是依靠柱子留的齿槽来结合的,它与楼板是通过在灌浆孔内放置钢筋而形成的销钉来结合的。为了确保板、柱节点工作可靠,一定要精心施工柱子上的齿槽。预留齿槽的模具要制成内短外长的梯形以便于拆除。另外,齿槽模具要等到该层楼板提升就位后再拆除,拆除时不得损坏齿槽混凝土。

在楼板就位固定后,应清除楼板提升孔、提升环、灌浆孔内的砂粒和垃圾后再安装柱帽模板,以防止垃圾积存在模板内,造成柱帽底部的第一道齿槽露出而失效,从而降低柱帽的承载能力或安全度。

柱帽混凝土的坍落度应控制在50~60mm范围,不宜太小或太大。浇筑中要做到分层浇筑,第一次浇筑柱帽高度的2/3,在混凝土初凝前将第二次浇筑完毕。最后的振捣要达到振动棒插入任何一孔中振捣时,所有灌浆孔内的混凝土都在振动,并有少量混凝土浆从柱帽模板顶部溢出。在第二次混凝土初凝前,再进行第二次振捣或者在混凝土内加入2/10000的铝粉,使其发生微膨胀。这些措施是为了达到柱帽混凝土不仅本身密实,而且还能与楼板底部紧密接触的目的。

全部灌浆孔内的插筋应严格按图纸要求进行放置,不能太短或全部沉入柱帽区,以能起到承受水平剪力的销钉作用。柱帽模板一定要与楼板底面撑紧并支撑牢固,以免混凝土振动时造成柱帽模板下降,使柱帽与楼板间出现裂缝。

2.无柱帽节点

无柱帽节点宜用于密肋式楼板和格梁式楼板,当用于平板式楼板时,板内应采用型钢提升环。无柱帽节点有多种形式,在升板工程中常见的是承重销节点和剪力块节点。

(1)承重销节点

承重销节点是用加强的型钢或焊接的工字钢插入柱子的预留就位孔内作为承重销,以销的悬出部分支撑平板,板与柱之间另用楔铁楔紧和焊牢,使之能传递弯矩。柱子就位孔的底部应设置钢筋网片,以提高局部承压强度。承重销节点的构造如图9-9所示。承重销节点的支撑面要紧密吻合、平整,焊接必须保证质量,铁件应无变形,并做好防腐处理。

图9-9 承重销节点示意图

(2)剪力块节点

剪力块是采用机械加工的斜口楔铁作为板柱的传力构件,其构造如图9-10所示。剪力块节点中的承剪预埋件和剪力块应能承受全部的荷载设计值,并应分别对承剪预埋件、剪力块进行抗剪和局部承压以及对各连接焊缝进行承载力验算。剪力块节点支撑面要紧密吻合、平整,焊接必须保证质量,铁件应无变形,并做好防腐处理。

图9-10 剪力块节点示意图

随便看

 

离鸟网收录3541549条中英文词条,其功能与新华字典、现代汉语词典、牛津高阶英汉词典等各类中英文词典类似,基本涵盖了全部常用中英文字词句的读音、释义及用法,是语言学习和写作的有利工具。

 

Copyright © 2004-2024 vtrois.com All Rights Reserved
更新时间:2026/4/8 17:06:11