网站首页  词典首页


请输入您要查询的字词:

 

字词 单相异步电动机的绕组类型
类别 中英文字词句释义及详细解析
释义

单相异步电动机的绕组类型


单相异步电动机的绕组有集中式和分布式两大类。集中式绕组主要缺点是磁场波形差,影响电动机运行性能和效率,并且定子圆周利用率低,槽容积过大。除了凸极式小型罩极电动机定子以外,各类单相异步电动机一般都是分布式绕组。

分布绕组的型式很多。目前在单相异步电动机上普遍采用同心绕组和正弦绕组。以前也曾广泛采用单层叠绕组。

1.同心式绕组

同心绕组是由几个轴线相重合而跨距不同的线圈串联组成的绕组。一般是单层绕组。

单相电阻起动异步电动机和单相电容起动异步电动机,多采用单层同心绕组。这两种电动机,主绕组占定子总槽数的2/3,副绕组占总槽数的1/3。前者用120°相带,后者用60°相带。两绕组的轴线在空间相隔90°电角度。

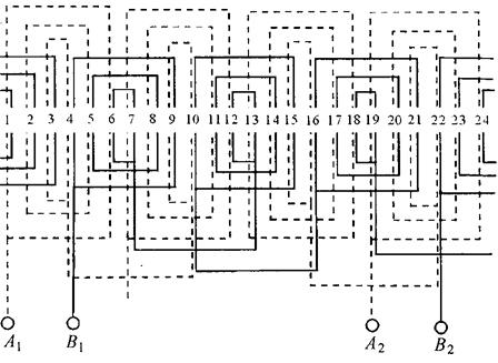
图2-29是表示一台4极24槽单相异步电动机的同心式定子绕组的分布及其展开图。图中A1、A2为主绕组的出线端,B1、B2为副绕组的出线端。

图2-29 4极24槽单相异步电动机同心绕组

2.正弦绕组

正弦绕组必然都采用同心式结构,但是,它与一般的同心绕组不同。其最大的特点是属于一相绕组的各槽导线数严格按照正弦规律分布。组成每一组绕组的各个线圈的匝数不同,线圈节距越大的,匝数越多;节距越小的线圈,匝数越少。

单相电容运转异步电动机和单相双值电容异步电动机,多采用正弦绕组。

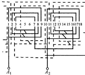
图2-30表示一台4极24槽单相异步电动机正弦绕组的展开图。图中A1、A2为主绕组的出线端,B1、B2为副绕组的出线端。

图2-30 4极24槽单相异步电动机正弦绕组展开图

单相电容运转异步电动机的主、副绕组各占定子总槽数的1/2,即都是90°相带的同心绕组。它们的导体分布规律都相同,但轴线相互错开90°电角度。其每槽中同时嵌放主、副绕组,前者放在槽底,后者放在槽上层。其主、副绕组虽然同时占定子的全部槽,但是,主绕组匝数较多的槽,恰好是副绕组匝数较少的槽,所以各槽的总匝数是比较均匀的。同一相的电流流过该相的各槽线圈时,槽电流分布也符合正弦形,进而使相绕组建立的磁势空间分布波形很接近正弦波。

应该指出,正弦绕组有绕制工艺复杂、费工时等缺点,但是其主绕组全部嵌在槽底,副绕组全部嵌放在槽的上层,因此嵌线修理也并不太困难。

维修时可能需对正弦绕组同一相各同心线圈的匝数进行计算,计算方法如下:

(1)计算各同心线圈的正弦值:

式中 sinXi——某同心线圈的正弦值;

γi——某同心线圈节距;

π——每极电角度,π=180°;

τ——极距(槽);

——每槽电角度。

(2)每极线圈总正弦值:

(3)各同心线圈占每及线圈的百分数:

(4)各同心线圈的匝数:

Ni=N·α (2-17)

式中 Ni——某同心线圈的匝数;

N——每极线圈总匝数。

3.单相罩极异步电动机绕组

凸极式罩极电动机,主绕组是集中绕组,套在定子磁极铁芯上。副绕组是罩极线圈或一个短路环,套在磁极极靴的一部分上。

隐极式单相罩极异步电动机,主、副绕组都是分布绕组,分别嵌放在定子铁芯的线槽内。其主、副绕组的轴线在空间相隔40°~60°电角度。主、副绕组分别为独立的回路,并且副绕组自行短路,称为罩极线圈。主、副绕组的极性相同。图2-31表示一台2极18槽单相罩极异步电动机定子绕组示意图。图中A1、A2为主绕组的出线端。

a.绕组展开图

b.嵌线示意图

图2-31 2极18槽单相罩极异步电动机定子绕组示意图

4.单层链式绕组

如图2-32所示。

图2-32 4极24槽单层链式绕组展开图

图2-32、图2-33为单层链式绕组和单层叠式绕组的展开图。

图2-33 4极24槽单叠绕组展开图

图2-34为电动机定子绕组的实际下线图(横剖面),工艺上应先嵌主绕组的小线圈,后嵌主绕组的大线圈,之后按相同方法和步骤依次嵌入副绕组。

图2-34 电动机定子绕组的实际嵌线图

图中虚线为副绕组,实线为主绕组

随便看

 

离鸟网收录3541549条中英文词条,其功能与新华字典、现代汉语词典、牛津高阶英汉词典等各类中英文词典类似,基本涵盖了全部常用中英文字词句的读音、释义及用法,是语言学习和写作的有利工具。

 

Copyright © 2004-2024 vtrois.com All Rights Reserved
更新时间:2026/4/7 6:36:19