网站首页  词典首页


请输入您要查询的字词:

 

字词 单面瓦楞纸板加工装备
类别 中英文字词句释义及详细解析
释义

单面瓦楞纸板加工装备


1 用途和工艺流程

单面瓦楞纸板加工装备是生产单面瓦楞纸板所需的设备,主要有送纸机、瓦楞机和横切机。送纸机同时向瓦楞机输送瓦楞芯纸和面纸,瓦楞芯纸通过预热经瓦楞辊热轧成标准齿形,在齿顶上涂胶后与经过预热的面纸复合成具有挠曲性的二层瓦楞纸板,再通过横切机裁切成所需规格的单面瓦楞纸坯。

该生产线采用标准瓦楞芯纸为125~180g/m2,面纸为250~360g/m2,采用精玉米淀粉胶。

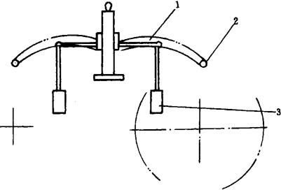
图2-9-1 单面瓦楞纸板生产线

1-送纸机 2-瓦楞机 3-横切机

图2-9-2 单面瓦楞纸加工工艺流程图

2 关键装备

2.1 送纸机(图2-9-3)

图2-9-3 送纸机切纸工作原理示意图

1-悬臂 2-分切刀 3-配重锤

送纸机可同时放置芯纸和面纸纸卷,使纸幅顺利地输送到单面瓦楞机。它主要由切纸部、送纸轴、下传动轴、动力部分组成。

2.1.1 切纸装置(图2-9-3) 分切部设有二套分纸圆切刀,可将多余的纸圈直接在退纸时裁切开,以便使纸张能够得到充分的利用。使用时将分切刀2固定于悬臂1的刀槽中,将悬臂固定于横向需裁切的位置,把刀搁在纸卷上,配上重锤3即可,不用时撤去重锤,将悬臂竖起。

2.1.2 送纸装置(图2-9-4) 送纸轴4穿入卷筒纸2中部的纸管中,两端用螺母1、3夹紧锁住以后,安放在支架上。

图2-9-4 送纸机送纸装置示意图

1、3-螺母 2-卷筒纸 4-送纸轴

送纸轴上装有张力阻尼装置,以控制输入瓦楞机的面纸和芯纸的张紧力,并装有纸幅调偏装置,以保证面纸与芯纸在瓦楞机中复合时在幅宽方向上完全吻合。送纸机支架由电动机带动升降。

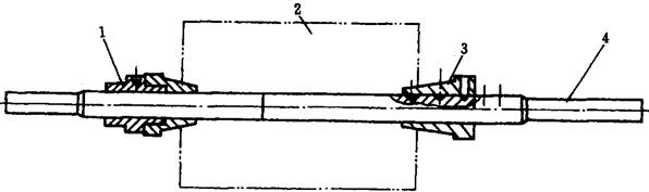
2.2 有导爪瓦楞机(图2-9-5)

图2-9-5 有导爪瓦楞机工作原理图

1-预热辊 2-压力辊 3-瓦楞辊 4-预热辊 5-芯纸 6-上浆装置 7-面纸 8-导爪

基本原理和主要结构:瓦楞芯纸5通过预热辊4预热,经上下瓦楞辊3热轧成瓦楞形,在瓦楞顶上涂胶后与经过预热的面纸7粘合成具有挠曲性的二层瓦楞纸板。

瓦楞机主要由上、下瓦楞辊、压力辊、预热辊、导辊、上浆装置、传动系统等主要部件组成。瓦楞辊在高速旋转的时候,包在瓦楞辊上的瓦楞纸受到离心力的作用,它使瓦楞芯纸脱离瓦楞辊,致使轧制的瓦楞齿与瓦楞辊上的楞齿不同步而影响质量,同时上胶不均匀而使纸板翘曲。因而需用20几片厚1.5~2mm的铜片把纸托住,这些铜片称为导爪,这种形式的瓦楞机称为有导爪瓦楞机。导爪的调整正确与否直接影响到纸板的质量。导爪距离下瓦楞辊太远,直接影响纸板质量,导爪靠离瓦楞辊太近,容易把瓦楞芯纸划破。

为使上、下瓦楞辊的楞齿在啮合时保持平行,在上瓦楞辊的两侧机架上装有微调装置。调节两紧定螺钉来调节偏心以达到调节上、下瓦楞辊的平行度的目的。

瓦楞辊面齿形按几何形状可分为U型、V型和UV型。U型指齿顶(或齿沟)的圆弧半径较大(图2-9-6),连接圆弧的切线的夹角较小,形状像U字形。它抗震性能好,但易压溃。V型楞则相反,抗压性能好,但弹性差。UV型的r1、r2及θ角介于U型与V型之间,兼有两者的长处,因而目前大多数使用的瓦楞辊都采用UV型。

图2-9-6 瓦楞辊面齿形图

瓦楞齿型就其尺寸参数而言,可分为A、C、B及E四种型号,日本还外加了一个5号瓦楞和特大号的K型瓦楞。瓦楞的主要参数有:一是楞高h;另一是每30cm长或每英尺长度上所含有的瓦楞数n。各国所定的参数h和n大体相同,但实际采用的又略有差异(表2-9-1)。我国于1986年也公布了瓦楞纸板国家标准(GB6544-86)(表2-9-2)。楞型尺寸之所以定这2个参数作为标准,是因为它们具有代表性。楞高h决定着瓦楞纸板的厚度,是瓦楞纸板以后的加工工序和设计箱型的必要依据;楞数n确定后,则可计算出瓦楞辊的周节弧长,同时n也可用来计算纸板生产的用纸量和核算材料消耗量。齿形除了参数h和n应符合国际上通用的标准外,还有一些参数,如齿顶圆弧半径r1和齿沟圆弧半径r2及夹角θ等都应有规定。表2-9-3列出引进日本的几种型式瓦楞辊的齿形参数。

表2-9-1 四种瓦楞的2个主要参数

表2-9-2 瓦楞纸板标准(GB6544-86)

表2-9-3 几种瓦楞辊的齿形参数

为了使瓦楞原纸在上、下瓦楞辊之间挤压成型,必须由上辊对下辊施加一定的压力,这种上下啮合的压力称为夹紧压力。夹紧压力沿瓦楞辊面宽上的均匀分布程度对瓦楞的质量有很大关系。由于压力是来自瓦楞辊左右两侧,因而使辊筒受力发生挠曲变形,于是两辊之间就不能得到均匀分布的压力。要得到沿幅宽均匀分布的压力,就需要使辊筒的表面有中凸的形状(图2-9-7),来补偿受压后的变形。这种具有中凸形状的辊筒称为有中高的辊筒。中高量K为辊筒中央截面上的直径D与其端面的D0值之差:K=D-D0。一般性下瓦楞辊的辊面是平直的,没有中高,而上瓦楞辊则有中高,其中高量是根据辊筒结构尺寸通过计算或凭经验确定。一般1600mm长的上瓦楞辊的中高量K约为0.20~0.30mm。另外,上、下瓦楞辊的齿数也是不一样的,这是为了轮换齿面的接触,以使磨损均匀。

图2-9-7 带中高的瓦楞辊

瓦楞机中的上、下瓦楞辊压力辊及3根预热辊均需加热。加热方式有3种:电加热、液化气加热及蒸汽加热。前二种加热方式热量不均匀,且控制热源温度比较困难。电加热投资少,容易上马。液化气加热多用于缺煤、用电紧张的南方。蒸汽加热有很多优点,如蒸汽给热系数大,凝结时能放出大量潜热,冷凝时温度不变,因而加热均匀稳定,其温度高低还可通过调节阀门控制,十分方便。

2.3 单刀横切机(图2-9-8)

图2-9-8 单刀横切机工作原理图

1-导纸装置 2-纵切装置 3-进纸装置 4-上刀辊 5-底刀

横切机的主要功能在于将瓦楞机制成的单瓦楞纸板按需要纵向分切和横向切断。导纸装置1主要用于纸板导向,同时使纸板在纵切部保持一定的张力,以保证切割边整齐,纸板的导向是通过两导向轮来控制的。

纵切装置2由三套纵切刀,可按需要裁切纸边及各种宽度规格的纸板。上、下纵切刀通过十字滑块齿轮传动,分切刀磨损后调节上、下刀轴中心距时使传动齿轮中心距仍然不变,保证齿轮的良好啮合状态。

进纸装置3由1根进纸辊和2根压纸辊组成,二压纸辊相隔60°对称地压在进纸辊上,压纸辊与进纸辊的间隙通过扇形偏心齿轮进行调节。进、压纸辊上都包有软橡胶以增大辊与纸间摩擦系数,而且避免将齿形压溃。进纸辊橡胶面上有左右螺纹,对纸板起舒展作用,以防纸板跑偏。进纸辊上装有牙嵌式离合器以使机动脱开,手动进纸试切。

横切装置由旋转上刀辊4和固定底刀5组成,切纸长度由无级变速器调节控制。

2.4 其他装备的选用原则

瓦楞机工作时由气缸对上瓦楞辊及压力辊加压,压缩空气由1台排气量为0.1m3/min的空气压缩机供给,电机功率为3kW。

使用蒸汽加热的瓦楞机,需选用最高压力为1.3MPa的2t锅炉。瓦楞机使用的蒸汽压力不得低于0.8MPa。

随便看

 

离鸟网收录3541549条中英文词条,其功能与新华字典、现代汉语词典、牛津高阶英汉词典等各类中英文词典类似,基本涵盖了全部常用中英文字词句的读音、释义及用法,是语言学习和写作的有利工具。

 

Copyright © 2004-2024 vtrois.com All Rights Reserved
更新时间:2026/4/6 21:28:10