网站首页  词典首页


请输入您要查询的字词:

 

字词 卷板机
类别 中英文字词句释义及详细解析
释义

卷板机


卷板机也有叫滚圆机、滚床的。是将板材通过旋转的轴辊,来制取圆筒或弧形工件的主要设备。根据轴辊的排列位置,卷板机可分为对称式三轴、不对称式三轴和四轴等三种结构形式。

1.对称式三轴卷板机

对称式三轴卷板机的三个轴辊的轴心呈等腰三角形排列,它的两个下轴辊为同步主动,因而位置是固定的。上轴辊为从动转动,且可做垂直方向的调整。为了便于取出卷制好的筒形工件,上轴辊的支撑部分有一端是活动的。

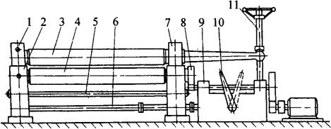
图5-17所示为对称式三轴卷板机的基本结构示意图。

图5-17 对称式三轴卷板机

1-活动轴承;2-支座;3-上轴辊;4-下轴辊;5-拉杆;6-传动拉杆;7-固定轴承;8-齿轮;9-变速箱;10-操纵柄;11-卸料装置

图5-18展示了对称式三轴卷板机的工作原理。主动轴辊Ⅱ、Ⅲ通过电动机和减速机构带动,以相同的速度向同一方向旋转(也可同时反转)。由于轴辊和板材之间的摩擦作用,带动板料向前运动和上轴辊的转动。适当向下调整上轴辊的位置,即可对板料进行不同曲率的滚弯。

图5-18 对称式三轴卷板机的工作原理

(a)摆正钢板;(b)向下调上轴辊,压弯钢板;(c)轴辊转动,卷制圆筒

如果一次滚压以后,工件不能达到所要求的曲率,可适当降低上轴辊,再反向滚压一次,这样反复多次,直至滚压成所需形状。

从图5-18可以看出,对称式三轴卷板机的三根轴辊呈等腰三角形排列,所以在滚弯过程中,工件的两端都必然会留下直线段。直线段的长度约等于两个下轴辊中心距的一半,这部分直线段是轴辊无法滚压到的地方,这也正是对称式三轴卷板机的最大缺点。尽管对称式三轴卷板机存在着上述缺点,但由于它结构简单、操作方便、造价低,还是获得了广泛的应用。

至于消除直线段的问题,可以结合具体情况,采用不同的方法加以解决。

(1)压头预弯

俗称戴头,如图5-19(a)所示。这种方法是利用模具在压力机上预弯钢板的两端,使其先达到所需的曲率。

图5-19 消除直线段的方法

(a)压头预弯;(b)加垫板预弯1-预弯模;2-工件;3-垫板

(2)留工艺余量

即下料时,在板料的两端加长适当的工艺余量,待两端滚压出一定长度之后,再将余量部分(也就是直线段)割去。

(3)加垫板预弯

这种方法是在卷板机上进行的。如图5-19(b)所示。但采用这种方法时,要充分考虑卷板机的能力,即工件和垫板所需弯曲力之和应小于卷板机的承载能力。

2.不对称式三轴卷板机

图5-20所示为不对称三轴卷板机的工作原理图。

图5-20 不对称式三轴卷板机工作原理图

(a)调整下轴辊,对板材起始端进行压弯;(b)滚压;(c)改变下轴辊的排列,继续滚压;(d)滚压结束

三轴不对称卷板机的轴辊排列方法是为了消除卷制工件上的直线段而设计的。这种卷板机的特点是两个下轴辊可分别作垂直方向调整。可以将任一个下轴辊调至和上轴辊中心距很小的位置,另一个轴辊向上调至合适的位置,即可对钢板的起始端进行压弯并滚弯。在滚完一半以后,改变两个下轴辊的排列,继续滚压,即可将工件末端的直线段消除。也可将工件调头,末端变起端来进行滚压,同样达到消除直线段的目的。

能消除直线段,是不对称三轴卷板机的突出优点。但由于工作时,这种卷板机的轴辊是不对称排列的,因此,两个下轴辊受力不均,靠近上轴辊的比侧辊受力大,工作中容易产生弯曲变形,而影响工件的质量。另外,和三轴对称式卷板机比较,其结构复杂,操作也比较困难。所以,这种卷板机目前很少采用。

3.四轴卷板机

四轴卷板机的工作原理,如图5-21所示。

图5-21 四轴卷板机工作原理

(a)Ⅰ、Ⅱ轴辊将钢板压紧;(b)升起Ⅲ轴辊进行压弯;(c)Ⅰ、Ⅱ、Ⅲ轴辊构成不对称三轴卷板机;(d)Ⅰ、Ⅱ、Ⅳ轴辊构成另一组不对称三轴卷板机

图中Ⅰ是主动轴辊,它是固定的。其余Ⅱ、Ⅲ、Ⅳ轴辊都是从动的,并可沿垂直方向进行高度调整。

工作时,将钢板放在上下轴辊Ⅰ、Ⅱ之间,升起下轴辊,将其压紧[见图5-21(a)]。然后升起侧轴辊Ⅲ,将钢板起始端压弯至一定程度,便可进行滚弯[见图5-21(b)、(c)]。此时Ⅰ、Ⅱ、Ⅲ轴辊恰好构成不对称式三轴卷板机。而没有被滚到的末端直线段,由Ⅰ、Ⅱ、Ⅳ轴辊构成另一组不对称式三轴卷板机,在反转时滚压消除,完成卷板工作[见图5-21(d)]。

与前面介绍的两种卷板机比较,虽然四轴卷板机简化了某些工艺过程,但卷板机的构造却复杂得多,因而造价很高,故四轴卷板机目前也很少采用。

使用卷板机滚制圆筒形或弧形工件的注意事项如下:

①上料时,板料在上下轴辊之间必须摆正。一般卷板机轴辊表面沿轴向都刻有定位线,上料时,应使板料的端部和轴辊上的定位线重合或平行。在滚压过程中,也应随时检查纠正,以防出现制件的歪扭现象,如图5-22(a)。

图5-22 卷制圆筒形工件时可能出现的缺陷

(a)歪扭;(b)锥形;(c)曲率大;(d)鼓凸

②在调整轴辊与轴辊间的距离时,其两端距离要一致,要保证轴辊升降两端同步。否则,易造成滚制的筒形零件产生锥度,如图5-22(b)所示。

③要掌握好工件的曲率。工件曲率的大小,取决于轴辊间的距离。在滚弯过程中,要随时用样板进行检查,根据检查结果,适当调整轴辊间的距离,切不可盲目地调整。否则,一旦滚深了,修起形来是很困难的,如图5-22(c)所示。

④防止出现鼓凸现象,如图5-22(d)所示。鼓凸现象的发生有两个原因:一是轴辊受力过大,产生弯曲所造成的;二是操作上的原因,如初滚时,轴辊的一端压得过紧,为了解决这一问题,又使另一端压得过紧,因而形成了鼓凸。

解决鼓凸的方法是:减小轴辊的受力。可以采取少压多滚几遍的方法。在调整轴辊时,要防止出现一端压紧的现象发生。一旦出现了鼓凸,可在圆筒的鼓凸部位与轴辊间加垫滚压来解决。垫的厚度由工件的厚度和鼓凸的情况来定,一般在2~6mm之间。

⑤凡滚压件的毛坯,均应具有较好的表面质量。例如,气割下料钢板边缘留下的残渣及焊接部位的疤痕等,都应铲平磨光,以免硌伤轴辊或因应力集中而产生弯曲。

⑥较大的工件卷制圆筒时,必须有起重设备辅助进行。防止由于钢板的自重而产生变形,既影响测量检查,又影响制品的质量。

随便看

 

离鸟网收录3541549条中英文词条,其功能与新华字典、现代汉语词典、牛津高阶英汉词典等各类中英文词典类似,基本涵盖了全部常用中英文字词句的读音、释义及用法,是语言学习和写作的有利工具。

 

Copyright © 2004-2024 vtrois.com All Rights Reserved
更新时间:2026/4/8 16:42:53