网站首页  词典首页


请输入您要查询的字词:

 

字词 厂房基础施工测量
类别 中英文字词句释义及详细解析
释义

厂房基础施工测量


1.混凝土杯形基础施工测量

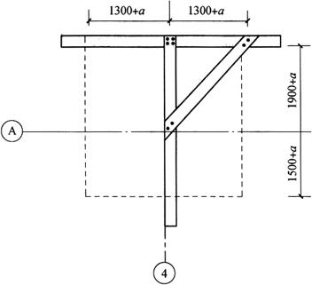
(1)柱基定位放线

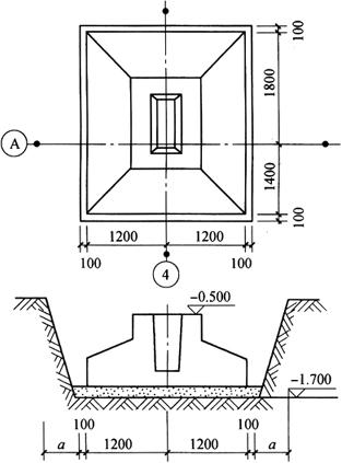
采用与测设外轮廓轴线角点桩相同的方法,依据轴线控制桩交会出各柱列轴线上柱基的中心位置。然后在离柱基开挖边线约0.5~1.0m处的轴线方向上定出4个柱基定位桩,钉上小钉标示柱轴线的中心线,供修坑立模之用,如图10-27所示。在桩上拉细线绳,并用特制的“T”形尺,按基础详图的尺寸和基坑放坡宽度a,进行柱基及开挖边线的放线,用虚线标示出基坑开挖边线的实地位置,如图10-28所示。同法可放出全部柱基。

图10-27 柱基定位

图10-28 用“T”形尺进行柱基及开挖边线放线

(2)基坑抄平

当基坑开挖到一定深度,快要挖到柱基设计标高(一般距基底0.3~0.5m)时,应在基坑的四壁或者坑底边沿及中央打入水平桩和垫层标高木桩,如图10-29所示,并在木桩上引测同一高程的标高,以便根据标点拉线修整坑底和打垫层。其标高容许误差为±5mm。

图10-29 基坑抄平测量

(3)基础模板的定位测量

垫层打好后,根据柱基定位木桩,用拉线、吊垂球的方法在垫层上放出基础中心线,并按照柱基的设计尺寸弹墨线标出柱基位置,作为柱基立模和布置钢筋的依据。立模时其模板上口还可由坑边定位桩直接拉线,用吊垂球的方法检查模板的位置是否正确竖直。然后在模板的内壁引测基础面的设计标高,并画线标明,作为浇筑混凝土的依据。在立杯底模板时,应注意使实际浇筑的杯底顶面比原设计的标高略低3~5cm,以便拆模后填高、修平杯底。

(4)杯口中线投点与抄平

在柱基拆模之后,根据矩形控制网上柱子中心线端点桩,在杯口顶面投测柱中心线,并绘“▼”标志标明,以备吊装柱子时使用(图10-30)。中线投点一般有两种方法:一种是将仪器安置在柱中心线的一个端点,照准另一个端点而将中线投到杯口上;另一种是将仪器置于中线上的适当位置,照准控制网上柱基中心线两端点,采用正倒镜法进行投点。

图10-30 杯口中线及标高线测设

同时,为了修平杯底,还须在杯口内壁测设某一标高线,用“▼”标志标明,其一般比杯形基础顶面略低10cm,且与杯底设计标高的距离为整分米数,以此来修平杯底。

2.钢柱基础施工测量

对于钢结构柱子基础,顶面通常设计为一平面,通过锚栓将钢柱与基础连成整体。施工时应注意保证基础顶面标高及锚栓位置的准确。钢结构下面支撑面的容许偏差,高度为±2cm,倾斜度为1/1000,锚栓位置的容许偏差,在支座范围内为±5mm。

钢柱基础定位和基坑底层抄平方法与混凝土杯形基础相同,其特点是基坑较深且基础下面有垫层,以及埋设与混凝土形成基础整体的地脚螺栓。其施测方法与步骤如下:

(1)钢柱基础垫层中线投点和抄平

垫层混凝土凝结后,应在垫层上投测柱基中线,并根据中线点弹出墨线,绘出地脚螺栓固定架的位置,以作为安置螺栓固定架及根据中线支立模板的依据,如图10-31所示。

图10-31 地脚螺栓固定架放

投测中线时,在基坑旁安置经纬仪,保证视线能看到坑底,然后照准矩形控制网基础中心线的两端点,用正倒镜法,将仪器中心导入中心线内,而后进行中线点的投点,并在垫层面上作标志。

螺栓固定架位置在垫层上绘出后,即可在固定架外框4个角落测设标高,以便用来检查并修平垫层混凝土面,使其符合设计标高,便于固定架的安装。如基础过深,可从地面上直接引测基础地面标高,标尺不够长时,可采用悬吊钢尺的方法测设。

(2)地脚螺栓固定架中线投点与抄平

1)固定架的安置

固定架一般是用钢材制作,用以锚定地脚螺栓及其他埋设件。如图10-32所示,根据垫层上的中心线和所画的位置将其安置在垫层上,然后依据垫层上测定的标高点,进行地脚抄平,将高的地方的混凝土打去一些,低的地方垫以小块钢板并与底层钢网焊牢,使其符合设计标高。

图10-32 固定架的安置

2)固定架抄平

固定架安置好后,测出4根横梁的标高,以检查固定架高度是否符合要求,其容许偏差为±5mm,但不应高出设计标高。满足要求后,将固定架与底层钢筋网焊牢且加焊支撑钢筋。

3)中线投点

投点前,应对矩形控制边上的中心端点进行检查,然后根据相应两端点,将中线投测在固定架横梁上,并刻绘标志。其中线投点偏差(相对于中线端点)为±1~±2mm。

(3)地脚螺栓的安装与标高测量

根据垫层上和固定架上投测的中心点,把地脚螺栓安放在设计位置。为了测定地脚螺栓的标高,在固定架的斜对角处焊两根小角钢(图10-32),在其上引测同一数值的标高点,并刻绘标志,其高度应比地脚螺栓的设计标高稍低一些。然后在角钢上两标点处拉一细钢丝,以定出螺栓的安装高度。待螺栓安装好后,测出螺栓第一螺纹的标高。地脚螺栓的高度不应低于其设计标高,容许偏高5~25mm。

(4)支立模板与浇筑混凝土时的测量工作

钢柱基础支模阶段的测量工作与混凝土杯形基础相同。特别之处在于,在浇灌基础混凝土时,为了保证地脚螺栓位置及高度的正确,应进行看守监测,若发现其变动应立即通知施工人员及时处理。

3.混凝土柱子基础及柱身、平台施工测量

当基础、柱身及其上面的各层平台采用现场捣制混凝土的方法进行施工时,为了配合施工,一般应进行以下施工测量工作。

(1)基础中线投点及标高测设

当基础混凝土凝固拆模后,即可根据矩形控制网边线上的柱子中心线端点桩,将中心线投测在靠近杯底的基础面上,并在露出的钢筋上测设出标高点,以供进行柱身支立模板时确定柱高及对正中心之用,如图10-33所示。

图10-33 柱基础投点及标高测量

(2)柱身垂直度测量

柱身模板支好后,必须检查柱子的垂直度。若现场通视困难,可采用平行线投点法来检查柱子的垂直度,并将柱身模板校正。其施测过程为:先在柱子模板上端根据外框量出柱子中心点,然后将其与柱身下端中心点相连,并在模板上弹出墨线(图10-34)。其次再根据柱中线控制桩A,B测设AB的平行线A′B′,其间距一般为1~1.5m。将仪器安置于B′,照准A′并在柱上由一人水平横放木尺,使其零点对正模板中心线,纵转望远镜仰视木尺,若十字丝正好对准1m或1.5m处,则柱子模板垂直,否则应将模板向左或向右移动,直至十字丝正好对准1m或1.5m处为止。

图10-34 柱身模板校正

(3)柱顶及平台模板抄平

柱子模板校正好后,应选择不同行、列的二三根柱子,从柱子下面已测好的标高点,用钢尺沿柱身向上量距,引测一个高程数据相同的点在柱子上端模板上。然后在平台模板上安置水准仪,用柱上引测的任一标高点作后视,施测柱顶模板的标高,再闭合于另一引测的标高点以资校核。平台模板支好后,必须检查平台模板的标高和水平情况,方法与柱顶模板抄平相同(图10-35)。

图10-35 柱子中线及标高引测

(4)上层标高的引测及柱中心线投点

在第一层柱子与平台混凝土浇筑好后,需将柱子中线及标高引测到第一层平台上,以作为支立第二层柱身模板和第二层平台模板的依据,以此类推。其上层标高的引测可根据柱子下端标高点用钢尺沿柱身向上量距标点得到。而上层柱顶中线的引测,可用经纬仪轴线投测方法进行,其方法一般是将仪器安置于柱中线控制点上,照准柱子下端的中线点,仰视向柱子上端投点,并作标记(图10-35)。若安置位置与柱子间距过短,不便于投点时,可将中线端点A用正倒镜法延长至远端的A′点,然后安置仪器于A′在投点。其标高的引测偏差为±5mm;纵横中心线投点偏差,投点高度5m以内时为±3mm,5m以上时为±5mm。

随便看

 

离鸟网收录3541549条中英文词条,其功能与新华字典、现代汉语词典、牛津高阶英汉词典等各类中英文词典类似,基本涵盖了全部常用中英文字词句的读音、释义及用法,是语言学习和写作的有利工具。

 

Copyright © 2004-2024 vtrois.com All Rights Reserved
更新时间:2026/4/8 22:51:53