网站首页  词典首页


请输入您要查询的字词:

 

字词 压力喷雾干燥装置
类别 中英文字词句释义及详细解析
释义

压力喷雾干燥装置


(一)特点与用途

料液的雾化是采用压力喷雾法实现的。调节生产率的办法是调换不同口径的喷嘴或增减喷嘴数,因此很难在生产中进行调节。制品颗粒较小,分布范围较小;制品密度大,在生产中可调节的范围小;制品空气含量较低,溶解度的控制较难掌握,有均质作用。所干燥的物料浓度应在40%(干物质)左右,浓度高易堵塞喷嘴。喷雾塔可采用立式,也可采用卧式。

(二)工作原理与结构

整套压力喷雾干燥装置由空气过滤器、进风机、空气加热器,压力喷雾器、干燥室、排风机等组成。按喷雾塔分为立式和卧式两种。见图4-9-1和图4-9-2。

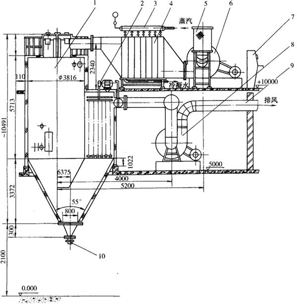
图4-9-1 立式压力喷雾干燥装置

1-立式压力喷雾干燥塔 2-跳车 3-分汽缸 4-空气加热器 5-空气滤清器 6-进风机组 7-控制仪表箱 8-排风机组 9-排风管路 10-出粉阀

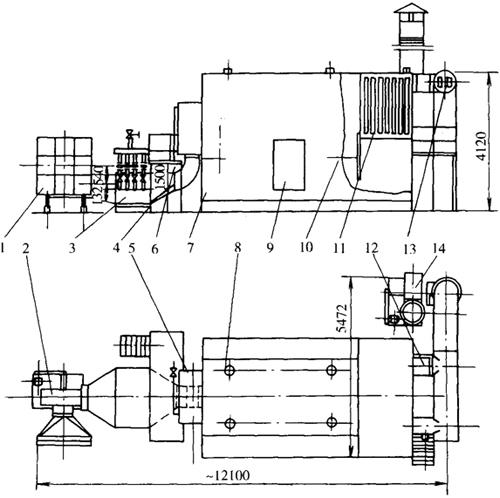
图4-9-2 卧式喷雾干燥装置

1-空气过滤器 2-进风机 3-空气加热器 4-进风管 5-分风箱 6-高压进乳管 7-干燥室 8-灯孔 9-门 10-窥视镜 11-布袋过滤器 12-排风碟阀 13-排风管 14-排风机

经空气过滤器过滤的洁净空气,由进风机吸入经空气加热器加热至高温后,送到干燥塔顶部的热风箱(由呈锥形的均风器及调风管等组成)。热风以一定速度均匀进入塔内,并与经高压泵以7000~20000kPa的压力通过带有0.5~1.2mm喷孔喷嘴而雾化的料液相聚,在几十分之一秒甚至几百分之一秒的瞬间进行热交换和质交换,使微粒干燥脱水。干燥后的微粒落入塔底下部圆锥部分,并与尾气微粒捕集器收集的粉混合,不断地被卸出。

微粒捕集器多采用袋滤器,它紧靠在塔体旁边,分成数组,每组有一只气动蝶阀与振动装置,各组可轮流在关断排气口的同时振动布袋,以振落布袋内的积粉,再由螺旋输送器送至塔底圆锥部分。

压力喷雾器由喷嘴和高压泵组成。压力喷嘴均有使液流产生旋转的导沟,按导沟之轴线与喷嘴轴线关系的差别分为M型喷嘴(两轴线垂直,但不相交)和S型喷嘴(导沟轴线与水平成一定角度),见图4-9-3。

图4-9-3 喷嘴

(1)M型 (2)S型

1-管接头 2-螺帽 3-孔板 4-喷头座 5-喷头 6-管接头 7-喷头座 8-芯子 9-垫片 10-喷头

喷雾干燥室是热空气与被干燥的料液进行热交换和质交换的场合,要求一定的空间,以提供足够的空气及物料在干燥室内停留的时间,保证制品的含水量达到生产工艺要求,又不致受热过度或产生粘壁等现象。结构多为立式塔型,上部呈圆柱形,下部圆锥形。压力喷雾嘴装于塔顶,并与热风箱均风器套装在一起,塔体下部圆锥部分装有数只空气振荡器,以定时轮流敲击锥体,使塔体积粉松动而沿塔壁滑下。空气从锥形部分的侧面排气管排出风,塔高按喷雾液滴下落达到干燥所需飘浮距离来确定。

(三)主要技术参数

压力喷雾干燥设备主要技术参数见表4-9-1。

表4-9-1 压力喷雾干燥设备主要技术参数

随便看

 

离鸟网收录3541549条中英文词条,其功能与新华字典、现代汉语词典、牛津高阶英汉词典等各类中英文词典类似,基本涵盖了全部常用中英文字词句的读音、释义及用法,是语言学习和写作的有利工具。

 

Copyright © 2004-2024 vtrois.com All Rights Reserved
更新时间:2026/4/8 3:36:08