网站首页  词典首页


请输入您要查询的字词:

 

字词 压裂专用设备及工器具
类别 中英文字词句释义及详细解析
释义

压裂专用设备及工器具


(一)压裂车、水泥车

见第二章第七节固井器材与设备

(二)封隔器

封隔器统一编号说明:

1.支撑式封隔器

优点:结构简单,制造方便,密封可靠。

缺点:尾管过长时,耐高压性能差。一般60.2mm(″)油管其尾管不宜超过50m以上;对出砂严重的井,必须冲砂至井底;多级使用受到限制。

用途:找水、堵水、试油、采油等分层作业及压裂酸化工程。

技术规范见表3-3-35。

表3-3-35 支撑式封隔器技术规范

2.卡瓦式封隔器

优点:操作工艺简单;不要清理井底。

缺点:结构比较复杂;对套管有一定损坏;不能单独多级使用,但可与支撑式封隔器等组成多级。

用途:找水、堵水、压裂、酸化等作业。

卡瓦式封隔器技术规范见表3-3-36、3-3-37。

表3-3-36 卡瓦式封隔器技术规范

表3-3-37 5″、6″、7″卡瓦封隔器规范表

注:(1)工作压差:30MPa,

(2)应用范围:适用在中深井,深井下有″、″、7″套管内进行分层开采及压裂酸化等作业。

(3)试泵:要求清水冷泵试压30MPa经15min不降。

(4)上部接头,7″卡瓦封隔器为310接头扣。

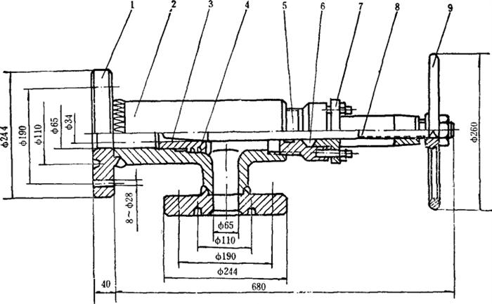
5″、6″、7″卡瓦封隔器结构见图3-3-57。

图3-3-57 5″、6″、7″卡瓦封隔器

3.皮碗式封隔器

优点:结构简单,制造方便;有自封作用,密封性好。

缺点:胶皮不能很好收缩,容易造成砂卡。

用途:水力压裂,分层开采。

常用的川371型皮碗式封隔器技术规范见表3-3-38,结构见图3-3-58。当封隔器下入设计井深后,从油管内加压,高压液体推动活塞,使胶皮碗撑开,继续加压时,由于液体压力和活塞推力的双重作用,使皮碗与套管紧贴而密封,同时适用于坚硬地层大直径裸眼井段。

表3-3-38 川371型封隔器技术规范

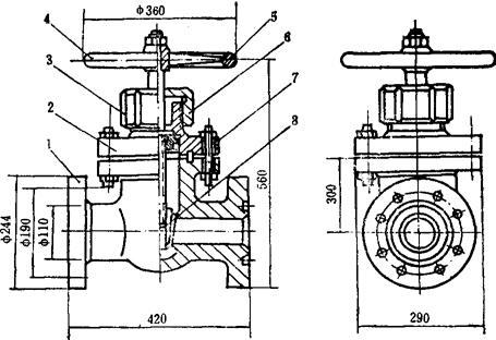
图3-3-58 川371型封隔器图

1-上胶皮筒座 2-胶皮筒总成 3-钢圈 4-橡胶皮碗 5-钢碗 6-中心管 7-推套 8-缸套 9-单向凡尔 10-单向活塞 11-O型盘根 12-接头 13-护丝

4.水力压差式封隔器

优点:结构简单,制造方便;操作工艺简单方便,封密可靠;多级灵活使用。

缺点:胶皮筒不易收缩,容易造成砂卡;胶皮筒容易爆破。

用途:注水、压裂、酸化、封窜等往地层中挤入液体的分层施工中。

庆457-8Ⅱ型水力压差式封隔器的结构和技术规范见图3-3-59,表3-3-39。

表3-3-39 水力压差式封隔器技术规范

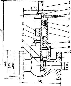
图3-3-59 庆457-8Ⅱ型封隔器

1-上接头 2-密封圈 3-胶皮筒座 4-胶皮筒 5-中心管 6-下接头

庆457-8Ⅱ型封隔器必须与定压单流凡尔配套使用,当油管内外造成0.5~0.7MPa的压差时,胶皮筒即可涨开,密封油、套管环形空间。

川442型等水力压差式封隔器主要技术数据见表3-3-40。

表3-3-40 水力压差式封隔器主要技术数据

5.水力自封式封隔器

优点:密封性好。

缺点:起封隔器时,胶皮筒不能缩小,只能硬拨,因此容易造成砂卡;必须两个封隔器对装,工艺比较复杂。

用途:分层压裂及分层开采。

庆551-6型封隔器规范见图3-3-60,表3-3-41。

图3-3-60 庆551-60型封隔器

1-上接头 2、12、14-密封圈 3-上胶皮筒座 4-胶皮筒 5-硫化芯子 6-下胶皮筒座 7-中心管 8-调节环 9-拉紧环 10-定位销钉 11-剪钉 13-滑动套 15-下接头

表3-3-41 庆551-6型封隔器技术规范

6.水力密闭式封隔器水力密闭式封隔器胶皮筒涨开原理与水力压差式相同,其不同点是有密封自锁机构,保持胶皮筒内高压。需要起封隔器时,所用卸压方式有:(1)拉式卸压:用钢丝或钢丝绳从油管内下入拉式卸压器,卡子落在封隔器内的卸压滑套上,然后上拉卸压滑套,顶开密封凡尔,即可卸压。(2)液压卸压:用钢丝或钢丝绳从油管内下入液压卸压器,座于卸压滑套上,从油管憋压,卸压滑套下行,顶开密封凡尔,即可卸压。(3)下压式卸压:用钢丝或钢丝绳从油管内下入下压式卸压器,将卸压滑套下墩下行,顶开密封凡尔,即可卸压。(4)液压剪断销钉卸压:从油管憋高压,剪断销钉,使胶皮筒内部与油管(或套管)连通,即可卸压。(5)转动油管卸压:从井口正转油管,顶开密封凡尔,即可卸压。(6)上提油管,顶开密封凡尔,即可卸压。

水力密闭式封隔器,由于对密封元件要求较高,往往存在着缓慢卸压。一般可作短期分层测试、压裂、酸化压裂等工程。

技术规范见表3-3-42。

表3-3-42 水力密闭式封隔器技术规范

7.水力压缩式封隔器

优点:密封性较好,不要清理井底,可以多级使用。

缺点:卸压比较困难。

用途:找水、堵水、试油、采油等分层作业及压裂酸化工程。技术规范见表3-3-43。

表3-3-43 水力压缩式封隔器技术规范

8.水力机械式封隔器

优点:结构比较简单;不要清理井底;

缺点:对套管变形的井,特别是密封段套管变形不宜采用;卸压比较困难。

用途:分层开采。

技术规范见表3-3-44、表3-3-45。

表3-3-44 水力机械式封隔器技术规范

表3-3-45 水力式、密闭式胶皮简技术规范

(三)高压定压凡尔

结构和技术规范见图3-3-61、表3-3-46。

图3-3-61 高压定压凡尔

1-上接头 2-调节螺母 3-压板 4-弹簧 5-中心管 6-护套 7-密封圈 8-凡尔 9-凡尔座 10-凡尔座接头

表3-3-46 高压定压凡尔技术规范

(四)水力锚扶正器

结构、尺寸见图3-3-62、表3-3-47。

图3-3-62 水力锚扶正器示意图

1-主体 2-扶正块套 3-扶正块 4-弹簧(Ⅰ) 5-锚爪 6-弹簧(Ⅱ) 7-盘根 8-固定螺钉 9-护丝

表3-3-47 水力锚扶正器技术数据表

(五)高压控制阀门

1.常用高压闸阀及有关数据 见图3-3-63~3-3-67,表3-3-48、3-3-49。

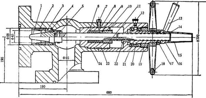
图3-3-63 Φ65×250大气压闸阀(CQ-250型采气井口)

1-阀体 2-阀座 3-闸板 4-闸盖 5-阀杆 6-O形盘根 7-自封圈 8-密封圈下座 9-密封圈 10-定位螺钉 11-密封圈上座 12-压帽 13-轴承座 14-O形密封圈 15-轴承盖 16-手轮 17-平键 18、19-螺母 20-单向推力轴承 21-定位螺钉 22-铭牌 23-铆钉 24-黄油杯 25-螺钉 26-盖板

图3-3-64 “B”双手动闸阀示意图

1-手轮螺帽 2-手轮 3-阀盖 4-阀盖螺帽 5-阀体

图3-3-65 Φ65×350大气压闸阀

1-护罩 2-螺母 3-手轮 4-轴承盖 5-轴承111 6-阀杆螺母 7-轴承座 8-阀盖 9-自封圈 10-阀体 11-阀杆 12-压帽 13-盘根 14-阀座 16-阀板

图3-3-66 65×600大气压闸阀

1-护罩 2-螺母 3-手轮 4、21-密封圈 5-轴承压盖 6-油杯 7-8212轴承 8-阀盖 9-大螺母 10-阀体 11-闸板 12-阀座 13-阀杆 14-压帽 15-圆螺母 16-预紧螺母 17-填料箱 18-回开环 19-密封环 20-垫环

图3-3-67 Φ95×210大气压闸阀

1-阀体 2-上盖 3-压帽 4-阀杆 5-手轮 6-盘根 7-钢圈 8-闸板

表3-3-48 高压闸阀的有关数据

注:四川自贡高压阀门厂生产

表3-3-49 “B”型闸阀

2.常用针阀结构 见图3-3-68、3-3-70。

图3-3-68 Φ45×350针阀

1-阀针 2-阀座压圈 3-阀座 4-O型盘根 5-铆钉 6-盘根下座 7-紧定螺钉 8-盘根 9-盘根上座 10-阀盖接头 11-压帽 12-油杯 13-手柄 14-阀杆 15-护罩 16-并帽 17-螺母 18-手轮 19-轴承盖 20-阀杆螺母 21-轴承 22-槽键 23-轴承座 24-阀体

图3-3-69 针阀(试验压力30MPa)

1-法兰 2-阀体 3-阀座 4-O形盘根 5-盘根盒 6-盘根 7-盘根压盖 8-阀杆 9-手轮

图3-3-70 Φ45×30MPa针阀

1-法兰 2-阀座压套 3、10、21-螺钉 4-针阀体 5、7、23、26、28、29-密封圈 6-阀座 8-阀针 9-阀杆 11-阀盖 12-轴承 13-油杯 14-阀杆螺母 15-手轮 16-手柄 17-护罩 18-并帽 19-螺母 20-键 22-轴承压盖 24-槽键 25-压帽 27-密封圈下座 30-垫片

随便看

 

离鸟网收录3541549条中英文词条,其功能与新华字典、现代汉语词典、牛津高阶英汉词典等各类中英文词典类似,基本涵盖了全部常用中英文字词句的读音、释义及用法,是语言学习和写作的有利工具。

 

Copyright © 2004-2024 vtrois.com All Rights Reserved
更新时间:2026/4/9 10:56:17