网站首页  词典首页


请输入您要查询的字词:

 

字词 取袋-充填-封口包装机
类别 中英文字词句释义及详细解析
释义

取袋-充填-封口包装机


取袋-充填-封口包装机是不同于袋成形-充填-封口包装机的另一种型式的袋充填包装机。其根本区别在于不在本机上制袋,使用预先制好(封好三边)的包装袋,在机器上自动取来(也可能有自动传递),并打开袋口,充填,封口。此种机器经常使用在大重量(大袋),一般在5kg以上的包装,以及某些不易(或不宜)在本机器上制袋和必须使用预制袋包装的场合。

1 工作原理

无论是回转式或直线式,其工作原理大致相同。即:

取袋-打开袋口-计量好的物料充填入袋-封口-下机(线)。

根据需要可有抽真空功能,折袋底功能和墩袋功能(常用于大袋)。

取袋-充填-封口包装机的工作原理如图2-6-5和图2-6-6所示。

图2-6-5 回转式取袋-充填-封口包装机工作原理图

1-真空取袋器 2-空袋 3-储袋盒 4-卡爪 5-回转盘 6-打印机 7-真空开袋器 8-吹气管 9-漏斗 10-充填器 11-抽气装置 12-封口器

图2-6-6 直线式取袋-充填-封口机工作原理图

1-袋斗 2-空袋 3-取袋器 4-开口器 5-充填促进装置 6-夹袋器 7-压实器 8-送袋板 9-整袋装置 10-压实导入胶带 11-封口器 12-送袋气缸 13-开闭快门

2 主要装备

与袋成形-充填-封口包装机相比,此种机器设有袋成形机构、纵封和剪切机构,横封机构大致相似,区别在于多了取袋、开袋机构。直线式往往取袋和开袋在同一工位,而回转式常需转到另一工位开袋。取袋、开袋常用执行元件为真空吸盘,其优点是方便、干净。但机器要配备真空源或真空发生器。取袋、开袋部件及一些相关部件如图2-6-7、图2-6-8、图2-6-9和图2-6-10所示。

图2-6-7 真空吸盘

图2-6-8 开袋装置

1-吹气管 2-漏斗 3-夹袋卡爪 4-真空吸盘

图2-6-9 吸盘-上袋机械手包装袋交接装置

1-夹钳式手指 2-小手臂 3-大手臂 4-取袋吸盘 5-储袋盒

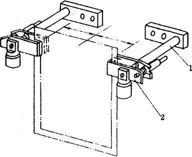
图2-6-10 夹袋卡爪

1-支撑臂 2-卡爪

随便看

 

离鸟网收录3541549条中英文词条,其功能与新华字典、现代汉语词典、牛津高阶英汉词典等各类中英文词典类似,基本涵盖了全部常用中英文字词句的读音、释义及用法,是语言学习和写作的有利工具。

 

Copyright © 2004-2024 vtrois.com All Rights Reserved
更新时间:2026/4/7 12:01:17