网站首页  词典首页


请输入您要查询的字词:

 

字词 台座法张拉设备组成
类别 中英文字词句释义及详细解析
释义

台座法张拉设备组成


台座法的张拉设备主要包括:台座、张拉设备与夹具。

(一)张拉台座

张拉台座是先张法生产的主要设备之一,它承受预应力筋的全部张拉力。因此,台座应具有足够的强度、刚度和稳定性,以免台座变形、倾覆、滑移而引起预应力值的损失。台座按构造形式不同,可分为墩式台座和槽式台座两种。选用时应根据构件的种类、张拉吨位和施工条件而定。

1.墩式台座

墩式台座由台墩、台面与横梁等组成,台墩和台面共同承受拉力。台座尺寸由场地大小、构件类型和产量等因素确定,一般长度为100~150m,宽度为2m。在台座的两端应留出张拉、锚固预应力筋的操作场地和通道,两侧要有构件运输和堆放的场地。墩式台座一般用于平卧生产的中小型构件,如屋架、空心楼板、平板等。这种台座张拉一次预应力筋,可生产多根构件,既减少张拉及临时固定工作,又可减少因钢筋滑移而引起的预应力损失。

(1)台墩

台墩是墩式台座最重要组成部分,一般由现浇钢筋混凝土制作而成,分为重力式和构架式两种。台墩应有合适的外伸部分,以增大力臂而减少台墩的自重;台墩依靠自重和土压力平衡张拉力产生的倾覆力矩,依靠土的反力和摩阻力平衡张拉力产生的滑移;采用台墩与台面共同工作的做法,可以减小台墩的自重和埋深,减少台墩投资、缩短建造工期。

因此,建造的墩式台墩除应具有足够的强度和刚度外,还应进行抗倾覆与抗滑移稳定性验算。

抗倾覆验算,可按验算简图(图6-3)和式(6-1)进行计算:

式中 K——抗倾覆安全系数;

M——倾覆力矩(kN·m),由预应力筋的张拉力产生;

N——预应力筋的张拉力(kN);

e1——张拉力合力作用点至倾覆点的力臂(m);

M1——抗倾覆力矩(kN·m),由台座自重力和土压力等产生;

G——台墩的自重力(kN);

L——台墩重心至倾覆点的力臂(m);

Ep——台墩后面的被动土压力合力(kN),当台墩埋置较浅时,可忽略不计

e2——被动土压力合力至倾覆点的力臂。

图6-3 墩式台座稳定性验算简图

按理论计算,台墩与台面共同工作时,台墩倾覆点的位置应在混凝土台面的表面处,但考虑到台墩的倾覆趋势使得台面端部顶点出现局部应力集中,倾覆点的位置宜取在混凝土台面向下4~5cm处。

抗滑移验算,可按式(6-2)进行:

式中 Kc——抗滑移安全系数;

N——张拉力合力(kN);

N1——抗滑移合力(kN)。

对于台墩与台面共同作用的台座,台墩的水平推力几乎全部传给台面,不存在滑移问题,可以不做抗滑移验算,只验算台面的强度。但台墩与台面分设时,必须进行抗滑移验算。

在进行台座强度验算时,支承横梁的牛腿,按柱子牛腿计算方法配筋;墩式台座与台面接触外伸部分,按偏心受拉构件计算;台面按轴心受压构件计算;横梁按承受均布荷载的简支梁计算,其挠度应控制在2mm以内,并且不得产生翘曲。预应力筋的定位板必须安装准确,其挠度不大于1mm。

(2)台面

台面是预应力混凝土构件成型的胎模,要求地基坚实平整,它是在厚150mm夯实的碎石垫层上,浇筑一层厚度为60~100mm的C20混凝土,并原浆压实抹光而制成,台面略高于地坪,表面应当平整光滑,以保证构件底面的表面平整;其纵向设有3%的排水坡度。

为避免混凝土因温度变化引起台面开裂,可采用4~50mm厚的细砂层作为隔离层,使台面在温度变化时能自由变形,以减少温度应力;对于长度较大的台面,应每隔10~20m左右设置一条宽度为30~50mm的伸缩缝,以适应温度的变化。

(3)横梁

横梁以台墩牛腿为支承点安装其上,是锚固夹具的临时固定预应力筋的支承点,也是张拉机械张拉预应力筋的支座。横梁常采用型钢或钢筋混凝土制作。

2.槽式台座

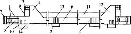
槽式台座由端柱、传力柱、柱垫、横梁和台面等组成。台面长度要便于生产多种构件,一般其长度为45m或76m;其宽度随构件外形和制作方法而定,一般不小于1.0m。槽式台座既可承受张拉力,又可作为蒸汽养护槽,适用于张拉较高的大型构件(如吊车梁、屋架等)的生产。

槽式台座的构造如图6-4所示。为便于运送和浇筑混凝土及蒸汽养护,槽式台座一般低于地面,但要考虑到地下水位和排水问题。端柱、传力柱的端面必须平整,对接接头必须紧密,柱与柱之间连接必须牢靠。

图6-4 槽式台座构造图

1-下横梁;2-基础板;3-上横梁;4-张拉端柱;5-卡环;6-中间传力柱;7-钢横梁;8、9-垫块;10-连接板;11-砖墙;12-锚固端柱;13-砂浆嵌缝;14-支座垫板

为便于拆迁和重复使用,台座应设计成装配式。槽式台座也要进行强度和稳定性验算。端柱和传力柱的强度按钢筋混凝土结构偏心受压构件计算。

(二)张拉设备与夹具

1.夹具

夹具是在先张法施工中,为保持预应力筋的拉力并将其固定在张拉台座或设备上所使用的临时性锚固装置。夹具的种类很多,按其工作用途不同分为锚固夹具和张拉夹具。对夹具的要求是具有可靠的锚固能力,其强度要求不低于预应力筋抗拉强度;使用中不发生变形或滑移,且预应力损失较小。夹具应当耐久性好,锚固与拆卸方便,能重复使用,适应性好,构造简单,加工方便,成本较低。

(1)钢丝锚固夹具

1)圆锥齿板式夹具。也称为锥销夹具,又可分为圆锥齿板式夹具和圆锥槽式夹具,由钢质圆柱形套筒和带齿(或凹槽)的锥销组成,如图6-5所示。锥销夹具既可用于固定端,也可用于张拉端,具有良好的自锁和自锚能力。自锁即锥销或齿板打入套筒后不至于弹回脱出;自锚即能可靠地锚固预应力钢丝。在进行锚固时,将圆锥销打入套筒,借助锚阻力将钢丝锚固。圆锥齿板式夹具适用于夹持单根直径3~5mm的冷拔低碳钢丝和碳素钢丝。

2)镦头式夹具。固定端镦头式夹具如图6-6所示,在采用镦头式夹具时,将预应力钢丝端部进行热镦或冷镦,通过承力分孔板锚固。它主要适用于预应力钢丝固定端的锚固。

图6-5 钢质锥销夹具

(a)圆锥齿板式;(b)圆锥槽式

1-套筒;2-齿板;3-钢丝;4-锥塞

图6-6 固定端镦头式夹具

1-垫板;2-镦头钢丝;3-承力板

(2)钢筋锚固夹具

钢筋锚固夹具常用圆套筒三片式夹具,主要由套筒和夹片组成(图6-7)。套筒的内孔成圆锥形,三个夹片互成120°,钢筋夹持在三个夹片的中心,夹片内槽有齿槽,以保证钢筋锚固牢靠。

图6-7 圆套筒三片式夹具

(a)装配图;(b)套筒;(c)夹片

(3)张拉夹具

张拉夹具是夹持住预应力筋后,与张拉机械连接起来进行预应力筋张拉的机具。常用的张拉夹具有月牙形夹具、偏心式夹具、楔形夹具等,如图6-8所示。

图6-8 张拉夹具示意图

(a)月牙形夹具;(b)偏心式夹具;(c)楔形夹具

2.张拉设备

张拉设备应当操作方便、简易可靠,能准确控制张拉应力,能以稳定的速率增大拉力。在选择张拉机具时,为了保证设备、人身安全和张拉力准确,张拉机具的张拉力应不小于预应力筋张拉力的1.5倍;张拉机具的张拉行程不小于预应力筋伸长值的1.1~1.3倍;此外,还应考虑张拉机具与锚固夹具配套使用。

在先张法中常用的是拉杆式千斤顶、穿心式千斤顶、台座式液压千斤顶等;按使用功能不同可分为单作用千斤顶和双作用千斤顶;按张拉吨位大小不同可分为小吨位(≤≤25t)、中吨位(>25t、<100t)和大吨位(≥100t)千斤顶;此外,还有前置内卡式千斤顶和开口式双缸千斤顶,供单根钢绞线张拉用。

在先张法施工中单根冷拔钢丝的张拉还可采用电动螺杆张拉机和电动卷扬张拉机等。张拉设备上应装有测力仪表,以准确建立张拉力。张拉设备是准确建立预应力的设备,必须由专人负责使用和保管,并定期维护与标定。

(1)拉杆式千斤顶

拉杆式千斤顶是利用单活塞张拉预应力筋的单作用千斤顶,主要用于张拉带有螺丝端杆的冷拉Ⅱ~Ⅲ级钢筋和带镦头锚具的钢丝束或钢筋束等预应力筋。

YL60型千斤顶是一种常用的拉杆式千斤顶,其技术性能见表6-3。另外还有YL400型和YL500型千斤顶,其张拉力分别为4000kN和5000kN,主要用于张拉力大吨位预应力筋。

表6-3 YL60型千斤顶技术性能表

(2)穿心式千斤顶

穿心式千斤顶是一种适应性较强的千斤顶,它既适应于张拉带有夹片锚具或夹具的钢筋束和钢绞线束,配上撑脚与拉杆等附件后,也可作为拉杆式千斤顶使用。此种千斤顶具有一个穿心孔,是利用双液压缸张拉预应力筋和顶压锚具的双作用千斤顶。

根据使用功能不同,可分为YC型、YCD型与YCQ型等系列产品,常用的是YC型千斤顶,其中YC20D型、YC60型和YC120型千斤顶用得较广。其技术性能和适用范围见表6-4。

表6-4 YC型穿心式千斤顶技术性能和适用范围

(3)台座式千斤顶

台座式千斤顶是在先张法四横梁式或三横梁式台座上成组整体张拉或放松预应力筋的设备。当采用四横梁式装置时,拉力架由两根活动横梁和两根大螺杆组成,张拉时台座千斤顶推动拉力架横梁,带动预应力筋成组张拉(图6-9a)。当采用三横梁式装置时,台座式千斤顶与活动横梁组装在一起,张拉时台座式千斤顶与活动横梁直接带动预应力筋成组张拉(图6-9b)。

图6-9 预应力筋成组张拉装置

(a)三横梁式成组张拉装置; (b)四横梁式成组张拉式装置

1-活动横梁;2-千斤顶;3-固定横梁; 1-台座传力柱;2、3-后、前横梁;4-钢丝(筋);4-槽式台座;5-预应力筋;6-放松装置;7-连接器5、6-拉力架横梁;7-大螺杆;8-台座式千斤顶;9-螺母

(4)电动螺杆张拉机

电动螺杆张拉机(图6-10)主要适用于预制厂在长线台座上张拉冷拔低碳钢丝。其工作原理为:电动机正向旋转时,通过减速箱带动螺母旋转,螺母即推动螺杆沿轴向后移动,即可张拉钢筋。弹簧测力计上装有计量标尺和微动开关,当张拉力达到要求时,电动机能够自动停止转动。锚固好钢丝(筋)后,使电动机反向旋转,螺杆即向前运动,放松钢丝(筋),完成张拉过程。

图6-10 电动螺杆张拉机的构造

1-螺杆;2,3-拉力架;4-张拉夹具;5-顶杆;6-电动机;7-减速器;8-测力计;9,10-胶轮;11-底盘;12-手柄;13-横梁;14-钢丝;15-锚固夹具

目前,工程上常用的是DL型电动螺杆张拉机,其最大张拉力为10kN,最大张拉行程为780mm,张拉速度为2m/min,适于Φb3~Φb5的钢丝张拉。

(5)电动卷扬张拉机

电动卷扬张拉机主要用于长线台座上张拉冷拔低碳钢丝。工程上常用的是LYZ-1型电动卷扬机,其最大张拉力为10kN,最大张拉行程为5m,张拉速度为2.5m/min,电动机功率0.75kW。LYZ-1型又分为LYZ-1A型(支撑式)和LYZ-1B型(夹轨式)两种。A型适用于多处预制场地,移动变换场地方便;B型适用于固定式大型预制场地,左右移动灵活、轻便、动作快、生产效率高。

在工程中常采用LYZ-1A型(支撑式)电动卷扬张拉机,这种张拉机构造简单、操作方便、机身较小、便于转移,其构造如图6-11所示。

图6-11 LYZ-1A型(支撑式)电动卷扬张拉机

1-电气箱;2-电动机;3-减速器;4-卷筒;5-撑杆;6-夹钳;7-前轮;8-测力计;9-开关;10-后轮

随便看

 

离鸟网收录3541549条中英文词条,其功能与新华字典、现代汉语词典、牛津高阶英汉词典等各类中英文词典类似,基本涵盖了全部常用中英文字词句的读音、释义及用法,是语言学习和写作的有利工具。

 

Copyright © 2004-2024 vtrois.com All Rights Reserved
更新时间:2026/5/25 7:51:20