网站首页  词典首页


请输入您要查询的字词:

 

字词 咬接成型
类别 中英文字词句释义及详细解析
释义

咬接成型


咬接是将两块板料的交接处采用咬缝连接,即将两块板料的边缘折转、扣合,彼此压紧在一起成牢固的接头,在许多地方可代替钎焊。咬接适用于板厚小于1.2mm的普通钢板和厚度小于1.5mm铝板,以及厚度小于0.8mm的不锈钢板等薄板构件。这种方法不仅应用于一般日常生活用品构件,如盆、桶、水壶等件的连接部位,而且还应用于工厂厂房的天沟、烟道、水道、房顶及冷暖通风设备的管道等构件的连接,适用范围很广。

(一)咬接的种类及应用

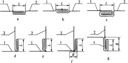
根据咬缝的结构形式可分为单扣和双扣,按应用场合又可分为平接和角接。如图10-57所示,图中各种形式咬缝中的小圆点,系指两连接板接缝的分界点。图10-57a的平接单扣成型简单且具有一定强度,适宜于一般结构件的连接成型,而图10-56c的咬接强度高、结合牢,一般用于屋顶的天沟;图10-57b则用于风道和烟道,只要求不漏水即可。

图10-57 咬缝连接形式

a.平接单扣 b.平接单扣 c.平接双扣 d.外角接单扣 e.内角接单扣 f.联合角接 g.嵌底角接

角接在要求具有较大的刚性时采用,如图10-57g为角接整咬(嵌底胶接);弯制较难时,一般多采用图10-57d的角接半咬(外角接单扣)。

(二)咬接工艺

咬缝的宽度L和板厚有关。若板的厚度为t,一般选取L=(8~12)t,而图10-57f、g中,B的长度一般选5~10mm。

咬接钣金件的毛料必须留出正确的咬口余量,才能保证制成的构件尺寸与样图尺寸一致而不至于成为废品。咬口余量一般留在钣金件的展开放样图上(图10-58),其大小取决于咬口宽度大小和咬口形式。

图10-58 展开图上的咬缝余量

例如,图10-57b为平接单扣,小圆点在咬缝宽度L的中间,件1、2的加工余量α0相等,即α0=1.5L;图10-57a虽也为平接单扣,但其小圆点在L的左边,故件2的加工余量α0=L,而件1的加工余量α0=2L,图10-57中其他咬缝形式的加工余量如表10-23所示。

表10-23 咬缝的加工余量

(三)咬接方法

各种薄板咬口应根据板料材质和使用要求的不同,采取相应的工艺措施,选择钳台或折边机上进行弯折。

1.平接单扣的弯制

如图10-59c所示,先在板料上画出咬口的弯折线,然后把板料放在方杠或角钢的边缘上,弯折伸出的部分成90°角,再朝上翻转板料,使弯折边向里扣,但不要扣死,应留出适当的间隙。用同样方法弯折另一块板料的边缘,再相互扣上,撞击压紧,并将咬口边敲凹,以防松脱。

图10-59 咬接操作方法

a.钳台角钢 b.钳台规铁 c.平接单扣 d.平接双扣 e.角接单扣 f.角接双扣

2.平接双扣的弯制

如图10-59d所示先在板料上作出平接单扣,再向里弯翻板料使弯边朝上,再向里扣。在第二块板料上同样弯出双扣,然后对合在第一块板料的双扣上,彼此扣合并压紧,同时将咬口边敲凹防脱。

3.角接单扣的弯制

如图10-59e所示,在一块板料上做成角接单扣,而把另一块板料的边缘弯成直角,然后相互扣合压紧。

4.角接双扣的弯制

如图10-59f所示,先在一块板料上做双扣并将边缘弯成直角,后将另一块板料做单扣并翻转板料将边缘弯成直角,最后相互扣合压紧。

随便看

 

离鸟网收录3541549条中英文词条,其功能与新华字典、现代汉语词典、牛津高阶英汉词典等各类中英文词典类似,基本涵盖了全部常用中英文字词句的读音、释义及用法,是语言学习和写作的有利工具。

 

Copyright © 2004-2024 vtrois.com All Rights Reserved
更新时间:2026/4/8 2:46:47