网站首页  词典首页


请输入您要查询的字词:

 

字词 喷放式冷凝器
类别 中英文字词句释义及详细解析
释义

喷放式冷凝器


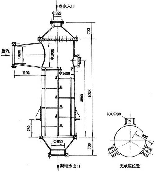
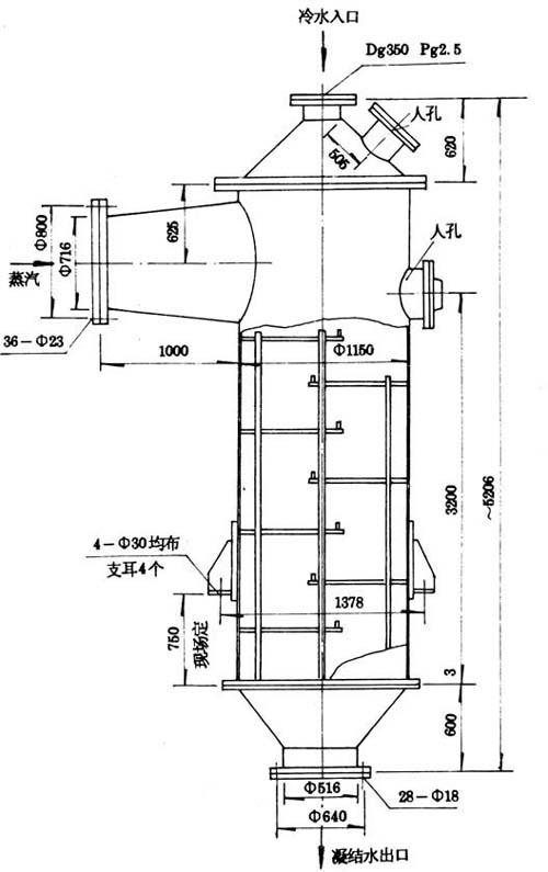
喷放式冷凝器的作用是把旋浆分离器来的喷放蒸汽直接冷凝为90℃左右的污冷凝水,其技术特征见表6-3-23,构造见图6-3-25。

图6-3-25 喷放式冷凝器ZJF15

图6-3-25 喷放式冷凝器(ZJF16)

表6-3-23 喷放冷凝器主要技术特征

注*ZJF16材质为碳钢结构,ZJF9材质为不锈钢结构。

随便看

 

离鸟网收录3541549条中英文词条,其功能与新华字典、现代汉语词典、牛津高阶英汉词典等各类中英文词典类似,基本涵盖了全部常用中英文字词句的读音、释义及用法,是语言学习和写作的有利工具。

 

Copyright © 2004-2024 vtrois.com All Rights Reserved
更新时间:2026/4/9 8:47:00