网站首页  词典首页


请输入您要查询的字词:

 

字词 喷灌机械
类别 中英文字词句释义及详细解析
释义

喷灌机械


(一)拖拉机悬挂式长射程喷灌机

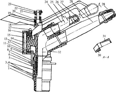
拖拉机悬挂式长射程喷灌机如图8-21所示。主要由带变速箱的离心泵、具有底阀的吸入管和长射程喷头等部分组成。

图8-21 拖拉机悬挂式长射程喷灌机

1.水泵 2.框架 3.带护罩的万向联轴器 4.分载链 5.气体射流器 6.施肥器 7.喷头 8.流量计 9.喷头旋转机构 10.带滤网机提升绞盘的吸入管

常见的拖拉机悬挂式长射程喷灌机的灌溉作业方式如图8-22所示。

图8-22 拖拉机悬挂式长射程喷灌机的灌溉作业方式

a.正方形布置 b.三角形布置 c.矩形布置 d.扇形喷灌三角形布置

(二)双悬臂式喷灌机

双悬臂式喷灌机的工作原理,如图8-23所示。

图8-23 双悬臂式喷灌机工作原理

整机装在履带拖拉机上。在拖拉机上装有水泵设备和双悬臂桁架。水泵从临时的或者永久性的水渠中抽水,然后以362kPa的压力输送到桁架上的水管中去。水管同时是桁架的杆件,并且构成下弦。通过动力输出轴用拖拉机发动机带动水泵工作。拖拉机前进速度和倒车速度为0.6~1.0km/h;运输速度为4.5km/h。

(三)多支座喷灌机

多支座喷灌机有滚动式喷灌机、平移式喷灌机、圆形喷灌机。

滚动式喷灌机是结构上最简单的多支座喷灌机,在每个侧翼的中部,各装有动力小车(图8-24),靠汽油机通过变速箱带动车轮转动。

图8-24 滚动式喷灌机的中心动力小车

1.动力小车轮 2.链条 3.变速器 4.短管 5.车架 6.罩 7.齿轮 8.油箱 9.汽油机

多支座圆形喷灌机和平移式喷灌机的工作原理可分别参见图8-6和图8-7。

(四)固定式和半固定式喷灌装置

固定式喷灌装置作业原理如图8-25所示,主要由固定式泵站、地下有压管网、给水栓以及装在给水栓上的远射程和近射程喷头等部分组成。

图8-25 固定式喷灌装置作业原理

半固定式喷灌装置和固定式喷灌装置的差别是在灌溉季节开始前将它装上,灌溉季节过后再拆除。两种装置是类似的。半固定式喷灌装置的管路和泵站比较接近于可拆移动管路的喷灌装置,可以在任何地区装设半固定式喷灌装置。

山区使用的固定式喷灌装置的原理如图8-26所示。从泉水地方,用管路把水输送到山坡上的灌溉地点。在Ⅰ区和Ⅱ区,水头不足以进行喷灌,只能靠自流。在Ⅲ区,由于水的自然落差高了一些,可以使用带有锥形挡水板短射程喷头和中射程喷头。Ⅳ区的水头对远射程的喷头工作来讲已经足够了。但由于水头高,管子的强度不够,所以必须用上述方法中的一种进行消能(减压)。经过消能后,水头在Ⅴ区内又逐渐上升。继续使用短射程喷头和中射程喷头。在Ⅳ~Ⅸ区内,水头达到使用远射程喷头有利的数值。根据地势,可能需要重新对水头进行消能。

图8-26 山区使用的固定式喷灌装置的原理

(五)喷头的构造及工作原理

1.喷头的种类 喷头的作用是将水泵及管路送来的压力水按一定的要求喷洒到田间,是喷灌机的主要工作部件。

喷头的种类很多,按其工作压力大小可分为高压、中压、低压3种;按照喷头的喷水特征可分为散水式和射流式2种;按驱动喷头旋转的方式可分为摆动式、蜗轮蜗杆式、反作用式、脉冲式和全射流式5种。

(1)摆动式:这种喷头依靠喷射的水流冲击摇臂,使其摆动一角度,之后在摇臂扭力弹簧作用下撞击喷管使其转动,如此不断进行,喷头间歇转动工作,使喷出的水均匀喷洒。这种喷头,结构简单,便于推广,应用较多。在一般情况下,工作是可靠的,但在有振动、有风及安装不水平的情况下,容易发生转速不均匀。

(2)蜗轮蜗杆式:蜗轮蜗杆式喷头。依靠喷出的水流冲击叶轮,使它转动,叶轮通过两级蜗轮蜗杆,带动喷管旋转,进行喷洒。这种喷头的特点是工作可靠,转速均匀,不受振动、风力及水平情况的影响,适用于远射程喷灌机。

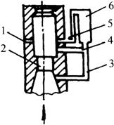
(3)反作用式:反作用式喷头如图8-27所示。这种喷头是利用从喷嘴喷出水流的反作用力,使喷头旋转进行喷灌的。

图8-27 反作用式喷头

1.管接头 2.调节板 3.支杆 4.塑料软管 5.喷嘴 6.辅助喷头

(4)脉冲式喷头:近年来,随着喷灌技术的发展,国内外研制使用了脉冲喷头,主要有内燃脉冲式喷头和水击脉冲式喷头两种。

①内燃脉冲式喷头的工作过程是先从进水管充水至水气罐,使罐中空气受到一定的压缩,关闭逆止阀,然后,由燃料管阀供给气体燃料混合物,当达到一定压力时,火花塞点燃,气体燃料混合物燃烧,关闭燃料管阀,使水气箱中压力急剧增加,迫使控制阀开启,水在高压作用下从喷管喷出,水气箱压力下降到下限值时,进气阀自动打开,空气进入,于是,进水管又开始向水气箱中充水,由此重复循环地工作。

②水击脉冲式喷头如图8-28所示。这种喷头依靠压力水进入钟形水气箱,压缩箱内空气,同时,压力水沿螺旋管流动,并沿逆止阀返流至吸水管,在高速水流作用下,逆止阀突然关闭,产生水击。增压水击波沿着螺旋管传播到钟形水气箱,低压水从水气箱沿相反方向反射,开启逆止阀。部分水又流至吸水管,重复上述过程,周期地产生水击波。

图8-28 水击脉冲式喷头

1.水泵 2.钟形水气箱 3.螺旋管 4.蓄能箱 5.喷管 6.进水管 7.控制阀 8.压力阀 9.逆止阀 10.连接管 11.吸水管

(5)全射流喷头:全射流喷头是指压力水通过喷头出口处的附壁式水射流元件,在均匀喷洒的同时,改变射流偏转方向,使喷头在反作用力作用下均匀旋转,并能和换向器一起使喷头作正、反向旋转的扇形喷洒。

全射流喷头从旋转方式上可分为连续式和步进式两种。连续式全射流喷头如图8-29所示。

图8-29 连续式全射流喷头

1.射流圆孔 2.喷管 3.喷体 4.换向器 5.旋转密封机构 6.副喷嘴 7.塑料管

步进式全射流喷头如图8-30所示。步进式应用间歇作用的驱动力矩,使喷头在每次反作用力驱动下转动一个小角度,其互作用腔内壁为直线,元件过流截面多用过流能力大的圆形,步进式全射流喷头由于控制射流附壁的机构不同,分为机械式和流控式,常见的是流控式。

图8-30 步进式全射流喷头

1.左控制孔 2.喷嘴 3.信号源孔 4.抽负孔 5.右控制孔(通大气) 6.容室

2.摆动式喷头的构造和工作原理 以J40型喷头为例说明。

J40型喷头是用增强尼龙制造的,如图8-31所示。主要由喷头体、喷管、摇臂、换向机构和转动密封部分组成。

图8-31 J40型喷头

1.轴套接头 2.挡圈 3、4.橡胶封圈 5.套管 6.轴瓦 7.挡环 8.拨杆 9.传动臂 10.销钉 11.限位销、孔 12.密封圈 13.喷管体 14.小轴 15.勾杆 16.驱动臂 17.换向弹簧 18.摇臂凸起 19、26.摇臂20.摇臂轴 21.扭力弹簧 22.调节座 23.销钉 24.副喷管 25.喷管凸起 27.副喷嘴 28.主喷管 29.主喷嘴 30.导水板 31.挡水板 32.近喷孔

喷头体通过轴套接头安装在主管上,轴套接头用螺纹拧在轴瓦上,在轴瓦与轴套接头之间设有密封圈4以防漏水。在轴瓦内,套有套管。套管上端拧入喷管体,其下端带有凸环,凸环上面设有挡圈和橡胶封圈,用以防止套管脱出,并起密封作用,以防漏水。

在轴瓦上端卡有两个挡环,挡环位置可调,用以限制喷头的摆角。

进入主管的高压水流,可从3个喷嘴(孔)喷出。从近喷孔喷出的水流喷灌喷头附近的田面。经主喷管从主喷嘴喷出的水流射程较远,喷灌远区田面。经副喷管从副喷嘴喷出的水流,有两个作用,其一是喷灌中、近区,其二是使喷头转动。

(1)作圆形喷灌时的工作原理:当进行圆形喷灌作业时,由副喷嘴喷出的水流,射到摇臂前端的斜面导水板并冲击在挡水板上。由于水流的冲击力使摇臂绕摇臂轴逆时针转动一定角度(50°~60°),同时使扭力弹簧受压变形。摇臂一摆开,就脱开了水流的作用,这时在扭力弹簧的作用下,使摇臂以一定速度回位,打击主喷管上的凸起,使整个喷头体绕轴瓦按顺时针方向转动一定角度。摇臂完成此动作后,又立即受到水流的冲击,再次摆动、回位和打击喷头使其转动。如此循环进行,喷头就间歇地绕轴瓦回转,进行圆形喷灌。

(2)作扇形喷灌时的工作原理:当需要进行扇形喷灌时,应首先调整喷头摆角,例如进行120°扇形喷灌,应把轴瓦上部的两个挡环拨成120°夹角,并使拨杆处于夹角之内,由拨杆、传动臂、小轴、驱动臂、换向弹簧、勾杆等组成的换向机构可控制喷头的来回摆动。

随便看

 

离鸟网收录3541549条中英文词条,其功能与新华字典、现代汉语词典、牛津高阶英汉词典等各类中英文词典类似,基本涵盖了全部常用中英文字词句的读音、释义及用法,是语言学习和写作的有利工具。

 

Copyright © 2004-2024 vtrois.com All Rights Reserved
更新时间:2026/4/8 3:24:51