(一)用途与特点
喷雾式气水混合机是我国二次灌装法生产汽水中用得最多的一种气水混合机。国内有多家饮料机械厂制造这种设备,其结构和尺寸基本一致。由于二次灌装法已属淘汰的生产工艺,这种设备用得已越来越少。
本机主要用于小型汽水厂进行CO2与净化水的混合操作。在二次灌装法生产中,已混合CO2气体的净化水(即碳酸化水),通过灌水机灌装到已装入糖浆的汽水瓶中。这类混合机结构简单、使用方便,但喷嘴易堵,混合效率较差。
(二)结构与工作原理
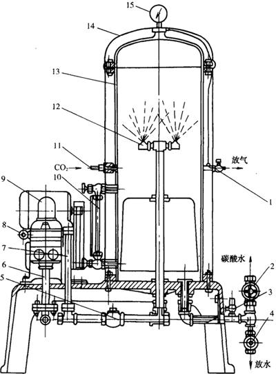
喷雾式气水混合机结构和工作原理如图4-5-1所示。本机主要由混合桶、喷雾嘴和柱塞泵等组成。混合桶上装有压力表、液面指示玻璃管、二氧化碳止回阀和二氧化碳及水的进出口等。柱塞泵多采用三柱塞泵。本机工作原理如下:当开动柱塞泵后,泵将已冷却成低温的净化水吸入泵内,并进行加压。压力水进入喷嘴后,向混合桶空间喷出。喷嘴小孔直径为0.8~1.5mm左右。当压力水高速从小孔喷出后,压力骤然降低,喷出的液体颗粒被撕裂成细小的雾状而分散在混合桶空间。从混合桶侧面的管进入桶内的二氧化碳气体也存在于混合桶空间。这样,具有极大表面积的低温雾化净化水,就在桶内压力状态下与二氧化碳气体接触而混合。已经溶解了二氧化碳的碳酸水,随时从碳酸水出口阀向外输送。桶内的压力,是由进入呈压力状态的二氧化碳气体建立起来的。一般桶内压力控制在0.3~0.45MPa左右。
(三)性能与技术参数
这种喷雾式气水混合机,国内各厂家的性能参数相差不多,具体性能参数见表4-5-1所示。
表4-5-1 喷雾式气水混合机性能参数表



图4-5-1 喷雾式气水混合机结构图
1-放气阀 2-碳酸水出口阀 3-安全阀 4-放水阀 5-止回阀 6-水泵进水管 7-水泵出水管 8-压力调节阀 9-柱塞泵 10-液位计 11-二氧化碳气进口 12-雾化喷嘴 13-贮液桶 14-外壳 15-压力表