网站首页  词典首页


请输入您要查询的字词:

 

字词 圆盘耙的调整和使用
类别 中英文字词句释义及详细解析
释义

圆盘耙的调整和使用


(一)圆盘耙的调整

圆盘耙工作时,耙架应前、后、左、右水平,达到耙深一致。耙组偏角大小的调整视土壤情况和农业技术要求而定。耕后的播前整地作业,要求以碎土、耙实为主,达到上松下实,这时偏角不易过大,若耙深不够时,可以在耙架上加重增加深度。灭茬或混肥,以耙代耕等作业,偏角宜调大,以加强翻土的作用。

1.耙组角度的调整 耙组角度是指圆盘耙在工作状态时,耙组轴线方向与垂直于前进方的直线的夹角。耙组角度越大,耙片入土、碎土性能越强,耙地越深,耙地阻力也越大。各种类型圆盘耙耙组偏角调整范围见表5-9。

表5-9 各种类型圆盘耙耙组偏角调整范围

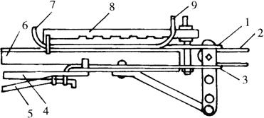
工作时用角度调节器调节各耙组的偏角,调整偏角的大小可以改变耙的深浅。角度调节器如图5-27所示,上下滑板为一体套在主梁上,其前端和牵引板相连,下滑板后端长孔和下弯部分分别和前列耙组两个侧拉杆及后列耙组角度调节拉杆连接。调节齿条在主梁上可以前后移动。需要增大偏角时,将齿条提起前移到相应的缺口,在卡子上卡住,然后开动拖拉机,牵引板通过上下滑板带动拉杆前移,前列两耙组外端向前移动,下滑板带动中央拉杆拉动左右拉钩使后列耙组内端前移,前后列耙组偏角同时增大,直至上滑板的上弯部分抵住齿条末端为止。拖拉机继续前进时,整个机组一起前进。如要变为运输位置,可使拖拉机后退,则下滑板也在主梁上向后滑动,直到不能再滑动为止。由于下滑板上有长槽及中央拉杆与滑板是单向钩连接,故拖拉机后退时,耙架和前后耙组相对地面暂时不动,然后将齿条第一缺口卡于卡子上,机组再前进时,前耙组内端及后耙组外端先随机架前进,使偏角为零,即可达到田间转移的要求。耙组角度调整方法如图5-28所示。

图5-27 角度调节器

1.上滑板 2.后列耙组角度调节拉杆 3.牵引板 4.滑板上弯部分 5.主梁 6.下滑板 7.卡子 8.调节齿条 9.前列耙组角度调节拉杆

图5-28 耙组角度调整示意

2.配重调节 在耙地工作过程中,应根据农业技术要求改变耙地深度。耙深用改变耙组偏角或机组加重方法来调整,加重不应超过400kg,加重物在前列耙组要放在加重盘的中部,后列耙组放在加重箱的两端。

3.刮泥刀的调整 刮泥刀与耙片凹面间隙为3~8mm,与耙片外缘距离是20~25mm,间隙不合适时,可通过改变刮泥刀在耙架上的位置予以调整。

4.运输状态的调整 如果进行长距离运输,应装上运输轮(图5-29)。安装运输轮时,将运输轮放到耙组的下面,用专用千斤顶卡在耙架上,丝杠下端插入运输轮牵引架的孔中。摇动丝杠将牵引架升起,直至其上所带挂钩能挂到耙架上为止,然后卸去千斤顶。

图5-29 运输轮

1.运输轮 2.运输轮牵引架 3.挂钩 4.提升螺杆 5.卡子 6.摇把

(二)圆盘耙的使用

圆盘耙适用于较硬的土壤,可以破碎较大的土块,但不能平整土地及消除杂草。一般都用于耕后的整地作业,有时也可用于以耙代耕的灭茬作业。在实际使用中,可根据不同的土壤条件和农业技术要求,选择不同类型的耙和不同的作业方法。

1.作业前圆盘耙的技术状态检查 使用前检查耙的各部件是否完整,有无变形和缺损状况,各紧固螺钉有无松动,特别是方轴螺母必须拧紧。清理杂物保证各转动部件运转灵活。检查刮泥刀的位置,是否有摩擦耙片的现象。根据作业要求调整好耙组的偏角和耙深。

2.作业过程中应注意的事项 在作业中,严禁对耙进行修理、检查和调整。拖拉机带耙作业中不许转急弯,牵引耙不许倒车,带悬挂耙转弯、倒车时须把耙升起后才可进行。

3.耙地方法 根据地块的形状和大小、农业技术要求,可采用不同的耙地方法。按与犁耕方向的关系可分为顺耙、横耙和交叉耙(斜耙)3种方法。

顺耙法是耙的行走方向与犁耕方向平行,往返依次顺耙,最后地头横耙。此种耙地方法耙片阻力小,但耙后垄沟不易填平,地表耙不平坦,土层耙不透。

横耙法是耙的行走方向与犁耕方向垂直。这种耙地方法平土效果好,但容易将已埋下的杂草、根茎等拉出地面,耙地时工作阻力大,机组跳动厉害,驾驶员容易感到疲劳。

交叉耙法是耙的行走方向与犁耕方向成45°角,这种耙法的优点是能将土壤耙平、耙透,切土平土效果好,工作中机组行走平稳。但走的路线比较复杂,夜间作业易产生漏耙或重耙。适用于大地块作业。

平常作业中,常采用以下几种耙地方法:

(1)套耙法(图5-30):耙地时地块分成相等宽度的两个小区,机组从小区的一侧进入,从另一小区返回,顺时针或逆时针套耙。这种行走方法都是顺熟耕地方向耙,因此不用在地头转小弯,容易掌握,但应防止因机组走偏而引起的重耙或漏耙。

图5-30 套耙法

(2)对角交叉耙法(图5-31、图5-32):地块为正方形或近似正方形时(图5-31),机组从地块的一角进入沿对角线向对角偏半个耙幅行进,到对角后顺时针或逆时针返回,依次耙完,最后沿地块四周绕行一遍,以消除漏耙,这种方法因是斜耙,又耙了两遍,所以平地效果较好。

图5-31 正方形地块对角交叉耙

图5-32 长方形地块对角交叉耙

对长方形地块施行对角交叉耙时,可把地块分成几个正方形的小区,再连起来进行作业(图5-32)。

随便看

 

离鸟网收录3541549条中英文词条,其功能与新华字典、现代汉语词典、牛津高阶英汉词典等各类中英文词典类似,基本涵盖了全部常用中英文字词句的读音、释义及用法,是语言学习和写作的有利工具。

 

Copyright © 2004-2024 vtrois.com All Rights Reserved
更新时间:2026/4/8 15:21:22