网站首页  词典首页


请输入您要查询的字词:

 

字词 地下连续墙的施工
类别 中英文字词句释义及详细解析
释义

地下连续墙的施工


地下连续墙工艺是近几十年来在地下工程和基础工程中发展起来并应用较广泛的一项技术,一些重大的地下工程和深基础工程是利用地下连续墙工艺完成的,并取得了很好的技术经济效果。地下连续墙是现浇连续的整体性钢筋混凝土结构,其施工工艺还是比较复杂的,质量要求是比较高的。

(一)施工前的准备工作

在进行地下连续墙设计和施工之前,必须认真调查施工现场情况和地质、水文等情况,以确保施工的顺利进行和施工质量。

1.施工现场情况调查

施工现场情况调查的目的,主要包括:施工机械进入施工现场和进行组装的可能性;挖槽时弃土的处理和外运方案;施工给排水和供电条件;地下障碍物和相邻建(构)筑物情况;施工噪声、振动与污染等公害引起的有关问题等。

(1)施工机械进场条件调查

要把施工机械、设备和材料等运进施工现场,除调查地形条件等以外,还需调查所要经过的道路和桥梁情况,尤其是道路宽度、坡度、转弯半径、路面状况和桥梁限制吨位等,以便判断挖槽机械和重型机械等进场的可能性。

(2)给排水和供电条件调查

地下连续墙在施工的过程中,需要用大量的水和电,这是确保工程顺利施工的基本保证,因而需要调查施工现场现有的供水和供电条件,如果现场不能满足施工要求时,则需要设法创造条件,以确保施工需要。

地下连续墙施工需要用泥浆护壁,泥浆中混有大量土料,因此排出的水是携带泥砂的泥浆,容易引起下水道的堵塞和河流、周围环境污染等公害,在这方面应引起足够的重视。

(3)现有建(构)筑物调查

当地下连续墙的位置靠近现有建(构)筑物时,要调查其结构及基础情况,还要了解其基础埋置深度及其以下的土质情况,以便确定地下连续墙的位置、槽段长度、挖槽方法、墙体刚度及土体开挖后墙体的支撑等。同时还要分析研究现有建(构)筑物产生的侧压力是否会增大地下连续墙体的内力和影响槽壁的稳定性。

(4)有关地下障碍物的调查

埋在地下的桩、砖石结构、废弃钢筋混凝土结构物、混凝土块体和各种管道等,是地下连续墙施工时的主要障碍物,不仅增加施工难度,影响施工进度,而且还会导致工程失败。因此,在开工前应进行详细的勘察,并尽可能在地下连续墙之前加以排除,或采取其他的必要措施,否则会给施工带来很大影响。

(5)噪声、振动与污染调查

地下连续墙施工时的噪声、振动均比较小,一般情况下对周围无大的影响。但是,当在医院、学校、科研等要求安静的地区施工,也会带来一定的不良影响,需要加以注意。

另外,泥浆对地下水有污染,排水与弃土也会引起对环境的污染,因此在施工前必须制定防止污染的措施。

2.水文和地质情况调查

地下连续墙的设计、施工和完工后的使用性能,在很大程度上取决于事先是否对水文和地质有无全面、正确的了解。因此必须认真进行地质勘探,要根据工程情况、挖槽长度、地形起伏等正确确定钻孔位置,钻孔深度应超过地下连续墙的设计深度。在进行地质勘探中,应注意收集有关地下水的资料,包括地下水位、水位变化情况、地下水流向、流动速度、承压水层分布、水压力大小,必要时还需对地下水的水质进行化验分析。

确定深槽的开挖方法、决定单元槽段长度、估计挖土效率、设计护壁泥浆配合比和循环工艺等,都与水文和地质情况密切相关。如深槽用钻抓法施工,目前钻导孔所用的工程潜水电钻是正循环出土,当遇到砂土或粉砂层时,要注意不要因钻头喷浆冲刷而使钻孔直径过大或造成局部塌方,从而影响地下连续墙的施工质量。

槽壁的稳定性也取决于土层的物理力学性质、地下水位高低、泥浆配制质量和单元槽段长度。在制定施工方案时,为了验算槽壁的稳定性,就需要了解各土层土的重力密度、内摩擦角、内聚力等物理力学指标。

基坑坑底的土体稳定性也与坑底以下土的物理力学指标密切相关,在验算坑底隆起和管涌时,需要土的重力密度、土的单轴抗压强度、内摩擦角、内聚力、地下水重力密度和地下水位高度等数据,这些都要求在进行地质勘探时提供。

另外,在研究地下连续墙施工用的泥浆向地层渗透是否会污染邻近的水井等水源时,也需要利用土的渗透系数等技术参数。根据以上所述可以清楚地看出,全面正确地掌握施工地区的水文和地质情况,对地下连续墙的施工是十分重要的。

3.制定地下连续墙施工方案

地下连续墙支护结构是属于隐蔽工程,一般多用于施工条件较差的情况下,而且其施工质量在施工期间不能直接进行观察和评价,一旦发生质量事故返工处理非常困难,所以在施工前应详细制定施工方案。即在详细研究工程规模、工程用途、质量要求、水文地质资料、现场周围环境和施工作业条件等情况后,编制切实可行的施工组织设计。

(二)地下连续墙的施工

1.导墙的施工

导墙是地下连续墙在挖槽之前修筑的临时结构,它对于确定地下连续墙的位置、垂直度和顺利挖槽,起着极其重要的作用。

(1)导墙的作用

1)作为挡土墙。在挖掘地下连续墙沟槽时,接近地表的土比较松软、极不稳定、容易塌陷,单纯用泥浆不能起到这部分的护壁作用,因此在单元槽段挖完之前,导墙则起挡土墙的作用。为防止导墙在水压力和土压力作用下产生位移,一般在导墙内侧每隔1m左右,加设上、下两道木支撑(其规格为5cm×10cm和10cm×10cm),如附近地面有较大荷载或有机械运行时,还可在导墙中每隔20~30m设置一道钢闸板,以防止导墙位移和变形。

2)作为测量的基准。在设置导墙时,则按照设计要求确定其位置、垂直度和标高。由此它规定了沟槽的位置、确定单元槽段的划分,同时也可以作为测量挖槽标高、垂直度和精度的基准,并以此施工的地下连续墙则符合设计要求。

3)作为重物的支撑。导墙施工完毕后,它既是挖槽机械轨道的支撑,又是地下连续墙施工中钢筋笼、接头管等重物搁置的支点,有时还承受其他施工设备的荷载。

4)可以存蓄泥浆。导墙是地表处比较规则的临时结构,可以存蓄泥浆,使泥浆达到一定标高,以此泥浆压力稳定土壁。在施工的过程中,泥浆的液面应始终保持在导墙面以下20cm,并高于地下水位1.0m。

5)泥浆的其他作用。此外,导墙还可以防止泥浆的流失;防止雨水等地面水流入槽内;地下连续墙距现有建(构)筑物很近时,施工时还起一定的补强作用;在路面下施工时,可起到支撑横撑的水平导梁的作用。

(2)导墙的形式

导墙一般多为现浇的钢筋混凝土结构,也可以用钢制或预制钢筋混凝土的装配式结构,这样可多次重复使用。不论采用何种结构的导墙,都应具有必要的强度、刚度和精度,并且必须满足挖槽机械的施工要求。

图10-25所示为适用于不同施工条件的现浇钢筋混凝土导墙的各种形式,可供不同情况下进行选用。

图10-25 现浇钢筋混凝土导墙的各种形式

1)图10-25a、图10-25b所示形式断面最简单,它适用于表层土质良好(如密实均匀的黏性土)和导墙上的荷载较小的情况。

2)图10-25c、图10-25d所示形式是应用较多的两种,适用于表层土为杂填土、软黏土等承载能力较弱土层。

3)图10-25e所示形式适用于导墙上的荷载很大的情况,可根据荷载的大小计算确定其伸出部分的长度。

4)当地下连续墙距离现有建(构)筑物很近,对相邻结构需要加以保护时,可采用图10-25f所示形式的导墙,其邻近建(构)筑物的一肢适当进行加强,在施工期间可防止相邻结构变形。

5)当地下水位很高且又不采用井点降水的方法降水时,为确保导墙内泥浆液面高于地下水位1m以上,需将导墙顶面上提而高出地面。在这种情况下,需在导墙的周边填土,可采用图10-25g所示形式的导墙。

6)当施工作业面在地面以下时,导墙需要支撑已施工结构的作为临时支撑用的水平导梁,可采用图10-25h所示形式的导墙。此时导墙需要适当加强,而且导墙内侧的横撑宜用千斤顶代替。

7)金属结构的可拆装导墙的形式很多,图10-25i所示形式是其中的一种,它由H型钢(常用规格为300mm×300mm)和钢板组成。这种金属结构的导墙强度高、刚度好、可以拆除、重复使用,是值得推广的一种导墙。

(3)导墙的施工

现浇钢筋混凝土导墙的施工工艺为:平整施工场地→测量定位→挖槽及处理弃土→绑扎钢筋→支设模板→浇筑混凝土→拆模并设置横撑→导墙外侧回填土。

当表层土质较好,在导墙施工期间能保持外侧土壁垂直自立时,可以以土壁代替模板,可不进行回填土工作。当表层土开挖后外侧土壁不能垂直自立时,则外侧应设立模板。为防止槽外地表水从导墙背后渗入槽内,引起槽段塌方,导墙外侧的回填土应用黏土填满夯实。

导墙的厚度一般为0.15~0.20m,墙趾处不宜小于0.20m,深度一般为1.0~2.0m。导墙的配筋多为Φ12@200mm,水平钢筋必须连接起来,使导墙成为一个整体。导墙施工的接头位置应与地下连续墙施工的接头位置错开。

导墙顶面应高出地面10cm,这样可防止地面水流入槽内污染泥浆。导墙的内墙面应平行于地下连续墙轴线,对轴线距离的最大允许偏差为±10mm;内外导墙面的净距,应为地下连续墙名义厚度加40mm,净距的允许误差为±5mm,墙面应垂直;导墙顶面应水平,全长范围内的高差应小于±10mm,局部高差应小于±5mm。导墙的基底应和土面紧密接触,以防止槽内泥浆沿底面渗入导墙后面。

现浇钢筋混凝土拆模后,应沿其纵向每隔1m左右加设上、下两道支撑,将两片平行的导墙支撑起来,在导墙混凝土未达到设计强度之前,禁止任何重型机械和运输设备在旁边行驶,以防止导墙受压变形。

导墙的混凝土强度等级多采用C20,浇筑时要注意其施工质量也要符合有关规范的规定。

2.泥浆护壁

(1)泥浆的作用

地下连续墙的深槽是在泥浆护壁下进行挖掘的。由于整个施工过程中泥浆用量较大,其费用占工程费用的比例较高,泥浆材料的选用既要考虑护壁效果,又要考虑其携渣、冷却、润滑等作用,其中最主要的作用是护壁作用。

1)护壁作用。这是泥浆最主要的作用。泥浆具有一定的相对密度,如槽内泥浆液面高出地下水位一定的高度,泥浆在槽内就对槽壁产生一定的静水压力,可抵抗作用在槽壁上的侧向土压力和水压力,相当于是一种液体支撑,可防止槽壁的倒塌和剥落,并防止地下水的渗入。

经过一段时间的作用,泥浆在槽壁上会形成一层透水性很低的泥皮,从而可使泥浆的静水压力有效地作用于槽壁上,能防止槽壁出现剥落。如果槽壁土体具有一定的渗透性,泥浆还会从槽壁表面向土层内渗透一定范围,泥浆粘附在土颗粒上,这种粘附作用同样可减少槽壁的透小性,也可防止槽壁塌陷。

2)携渣作用。这是挖槽成孔的作用。由于泥浆具有一定的黏度和相对密度,它能把钻头式挖槽机挖下来的土渣悬浮起来,既可通过泥浆的循环将土渣随同泥浆排出槽外,又可避免土渣沉积在工作面上影响挖槽机的生产效率。

3)冷却和润滑作用。冲击式或旋转式挖槽机在泥浆中挖槽,以泥浆作为冲洗液,钻具在连续冲击或回转中温度急剧升高,泥浆既可以降低钻具的温度,又可以起润滑作用而减轻钻具的磨损,有利于延长钻具的使用寿命和提高深槽挖掘效率。

(2)泥浆的组成

用于地下连续墙深槽挖掘的泥浆,主要有制备泥浆、自成泥浆或半自成泥浆,其中用膨润土、水和外加剂制成的膨润土泥浆,是最常用的一种护壁泥浆。

1)膨润土。膨润土是一种颗粒极细、遇水显着膨胀、黏性和可塑性都很大的特殊黏土,它经过加热、干燥和粉碎之后,用旋流分离器按粉末粒径大小分级后出售。其质量因产地、出厂时间和粒径大小不同而差异很大,在采购时应进行试验。

膨润土的主要成分是蒙脱石,它由Si-Al-Si三层结构重叠而成,在很薄的不定形的板状表面上吸附了大量的阳离子。一般情况下表面吸附的阳离子是钠离子和钙离子,吸附钠离子的称为钠膨润土,吸附钙离子的称为钙膨润土。

2)水。水的pH值和其中的杂质,也会影响泥浆的性质。人饮用的自来水可以直接使用。如果用含有大量盐类的地下水、河水,或者性质不明的水时,宜先进行拌合试验。

3)外加剂。为使配制的泥浆性能适合地下连续墙施工的要求,应根据具体情况选用适当和适量的外加剂。常用的外加剂有分散剂、增黏剂、加重剂和防漏剂等。

①分散剂。分散剂的种类很多,各有不同的作用。主要是通过提高膨润土颗粒的电位、使有害离子产生惰性和置换有害离子,从而提高泥浆良好的护壁作用。

②增黏剂。增黏剂一般常用羧甲基纤维素(CMC),这是一种高分子化学糨糊,溶解于水中可成为黏度很大的透明液体,可提高泥浆的黏度、泥皮的形成,具有胶体保护作用,可防止盐类污染泥浆。

如果单独使用增黏剂(CMC),会降低钢筋与混凝土的握裹力,一般应与分散剂共同使用,两者的掺量为:增黏剂(CMC)为用水量的0.05%~0.10%,分散剂(FCL)为用水量的0.10%~0.50%。

③加重剂。当泥浆和地下水之间的水位差不能保证槽壁稳定时,需加大泥浆的相对密度以维护槽壁的稳定。掺加一些相对密度大的物质,加大泥浆的相对密度,增强泥浆的液体支撑效果较好。如重晶石、珍珠岩和方铅矿粉末等,应用最多的是重晶石,掺入后能增大泥浆的相对密度、黏度和凝胶强度。

④防漏剂。在开挖沟槽时,如槽壁为透水性较大的土层,或由于泥浆黏度不够、形成泥皮的能力较弱等因素,会出现泥浆漏失现象。此时,需在泥浆中掺入适量的防漏剂,如锯末、蛭石粉、水泥、有机纤维素聚合物等。最常用的是锯末和水泥,它们的掺量分别为:锯末为用水量的1%~2%,水泥为17kg/m3以下。

(3)泥浆的制备

不同种类的泥浆,其制备的方法也不同。这里仅介绍膨润土泥浆的制备和处理。

1)准备工作。在制备泥浆之前,应对地基土、地下水和施工条件等进行调查,以便制备符合工程实际的泥浆。

对于地基土的调查,主要包括土层的分布、土质的种类(包括标准贯入度N值);有无坍塌较大的土层;有无裂缝、空洞、透水性大易产生漏浆的土层;有无有机质土层等。

对于地下水的调查,要了解地下水位及其变化情况,能否保证泥浆液面高出地下水位1m以上;了解潜水层、承压水层的分布和地下水流速;测定地下水中的盐分和钙离子等有害离子的含量;了解有无化工厂的排水流入;测定地下水的pH值。

对于施工条件的调查,主要了解槽深和槽宽;最大单元槽段长度和可能空置的时间;适合采用的挖槽机械和挖槽方法;泥浆循环方法、泥浆处理的可能性、能否在短时间内供应大量的泥浆等。

2)泥浆配合比。在确定泥浆配合比时,首先应根据为保持槽壁稳定所需的黏度,确定膨润土和增黏剂的掺量。在一般情况下,膨润土的掺量为6%~9%,增黏剂(CMC)的掺量为0.05%~0.08%。

我国常用的分散剂是纯碱,掺量为0~0.5%。分散剂的掺量要适宜,当超过一定限度后,不但不再增加分散效果,反而会降低其效果。在地下水丰富的砂砾层中,也可不掺加分散剂。分散剂掺加后对泥浆的黏度有一定影响,可用增加膨润土或增黏剂的掺量来调节。

3)泥浆制备。泥浆制备包括泥浆搅拌和泥浆储存。泥浆搅拌宜采用泥浆搅拌机,其有高速回转式和喷射式两种。泥浆搅拌机选择的原则是:能保证满足设计的泥浆性能;泥浆生产效率高,能在规定时间内供应所需要的泥浆;操作灵活、移动方便、噪声较小。

为了充分发挥泥浆在地下连续墙施工中的作用,应在膨润土泥浆充分膨胀后再使用,一般在泥浆搅拌后宜储存24h以上,最少也不得少于3h以上。储存泥浆宜在钢制储浆罐或地下、半地下储浆池中,其容积大小应适应施工的需要,一般应超过一个单元槽段挖土量的1.5~2.0倍。

常用膨润土泥浆的参考配合比,如表10-4所示。

表10-4 常用膨润土泥浆的参考配合比

注:1.CMC配成1.5%的溶液使用;纯碱和分散剂也配成15%溶液使用。

2.分散剂常用碳酸钠或三(聚)硝酸钠。

(4)泥浆的处理

在地下连续墙的施工过程中,泥浆必然要与地下水、砂、土、混凝土接触,膨润土、掺合料等成分会有所消耗,同时也会混入一些土渣和电解质离子等,使泥浆受到污染而质量降低。泥浆质量降低的程度与挖槽方法、土的种类、地下水性质和混凝土浇筑方法等有关,其中挖槽方法的影响最大。

被污染的泥浆经适当处理后,还可重复使用,如果污染严重或处理不经济者可舍弃。泥浆处理分为土渣分离处理和污染泥浆化学处理两种。

1)土渣分离处理。土渣分离处理也称为物理再生处理。在深槽开挖中,泥浆中混入大量土渣,会使粘附在槽壁上的泥土厚而弱,从而使槽壁的稳定性变差;在浇筑混凝土时,土渣极易混入混凝土中,严重影响混凝土的质量;土渣还会使槽底沉降过多,使建成后的地下连续墙沉降量增大;含有大量土渣的泥浆稠度增大,泥浆循环发生困难,加重对泥浆泵和管道的磨损。因此,对于重复使用的泥浆,必须进行土渣分离处理。分离土渣的方法有机械处理和沉降处理两种,若将两种方法共同使用效果最好。

①机械处理。机械处理是利用振动筛与旋流器,反循环出土的泥浆机械处理的过程,其处理过程如图10-26所示。反循环排出的带有土渣的泥浆由吸力泵送至振动筛,经振动筛将泥浆和土渣分离,此时分离后的泥浆仍含有部分小粒径的土渣,再由旋流器供应泵将其送入旋流器,旋流器高速旋转而产生离心力,质量较大的土渣被甩至旋流器壁上并下滑排出,而泥浆由上面排至沉淀池,沉淀后的泥浆再由回流泵经输浆管送入深槽内。

图10-26 反循环出土的泥浆处理

1-吸力泵;2-回流泵;3-旋流器供应泵;4-旋流器;5-排渣管;6-脱水机;7-振动筛

②沉降处理。泥浆的沉降处理即重力沉降处理,它是利用泥浆与土渣的相对密度差,使土渣产生沉淀以排除土渣的方法。沉淀池的容积越大,污染泥浆在沉淀池中停留的时间越长,土渣沉淀分离的效果越好。所以,如果泥浆采用重力沉降处理,现场应设置大容积的沉淀池,一般应超过一个单元槽段挖土量的2倍。

沉淀池设于地下、地上、半地下皆可,总的要考虑泥浆循环、再生、舍弃等工艺要求,一般要分隔成几个沉淀池,其间由埋管式开槽口连通。

2)污染泥浆化学处理。污染泥浆化学处理也称为化学再生处理。在浇筑混凝土时从深槽内被置换出来的泥浆,因混入大量土渣和与混凝土接触等使质量恶化,对其应进行必要的化学再生处理。

泥浆进行化学再生处理,一般是使用分散剂置换膨润土表面的有害阳离子,使颗粒又重新在泥浆中呈分散状态。经化学再生处理后再进行土渣分离处理。

泥浆经过处理后,应测试其施工中所需的性能指标,发现有不符合施工规定指标要求时,可再补充掺入材料进行再生调剂。经再生调剂后的泥浆,送入贮浆池(罐)中,待新掺入的材料与处理过的泥浆完全溶合后再重复使用。

3.开挖深槽

开挖深槽是地下连续墙施工中的关键工序,大约占地下连续墙施工总工期的1/2,因此提高开挖深槽的效率是缩短工期的关键。由于槽壁的形状基本上决定了墙体外形,所以挖槽的精度又是确保地下连续墙质量的关键之一。

地下连续墙开挖深槽的主要工作,包括单元槽段划分、挖槽机械的选择与正确使用、制定防止槽壁坍塌的措施与工程事故和特殊情况的处理等。

(1)单元槽段划分

在地下连续墙施工时,预先要沿着墙体长度方向把地下连续墙划分为许多某种长度的施工单元,这种施工单元称为“单元槽段”。地下连续墙的挖槽就是在一个个单元槽段内进行挖掘的,在一个单元槽段内,挖掘机械可以挖一个或几个挖掘段。划分单元槽段就是将各种单元槽段的形状和长度标明在墙体平面图上,这是地下连续墙施工组织设计中的一个重要内容。

单元槽段的最小长度不得小于一个挖掘段,即不得小于挖掘机械的挖土工作装置的一次挖土长度。从理论上讲单元槽段的长度越长越好,这样可以充分发挥挖掘机械的施工效率,减少槽段的接头数量,增加地下连续墙的整体性,又可提高其防水性能。

(2)挖槽机械的选择

地下连续墙开挖深槽所用的挖掘机械,是在导墙上(或地面)进行操作,穿过泥浆向地下深处开挖一条预定断面深槽的工程施工机械。由于地质条件十分复杂,地下连续墙的深度、宽度、用途和技术要求各不相同,目前尚未有能适合于各种地质情况下的万能挖掘机械,因此需要根据不同地质条件及工程要求,选用合适的挖槽机械。

目前,在地下连续墙施工挖槽机械常用的有回转式挖槽机、挖斗式挖槽机、冲击式挖槽机三大类。

1)回转式挖槽机。这类挖槽机是以回转的钻头切削土体进行挖掘,切下的土渣随循环泥浆排出深槽。按照钻头数目,又可分为单头钻和多头钻,单头钻主要用来钻导孔,多头钻用来开挖深槽。

我国使用的SF-60型和SF-80型多头钻,是在日本BW钻机的基础上改进而成的。这种多头钻采用动力下放、泥浆反循环排渣、电子测斜纠偏和自动控制给进成槽,具有一定的先进性,其技术性能如表10-5所示。

表10-5 SF型多头钻的技术性能

2)挖斗式挖槽机。挖斗式挖槽机是以其斗齿切削土体,切削下来的土体收容在斗体内,再从沟槽内提出地面打开挖斗卸土,然后再返回到沟槽内挖土,以如此重复循环作业方式进行挖槽。

为了保证挖槽机的挖掘方向,提高成槽的精度,一种主要措施是在抓斗上部安装导板,则成为我国常用的导板抓斗;另一种措施是在挖斗上装长导杆,导杆沿着机架上的导向立柱上下滑动,则成为比较先进的液压抓斗,这样既保证挖掘方向又增加了斗体自重,提高了对土体的切入力。

挖斗式挖槽机构造简单、耐久性好、出现故障少,适用于较松软的土层。对于较硬的土层也可以用钻抓法施工,即用索式导板抓斗与导向钻机组合成钻抓式成槽机进行挖槽。我国所用的钻抓式挖槽机如图10-27所示。

图10-27 钻抓式挖槽机示意图

1-电钻吊臂;2-钻杆;3-潜水电钻;4-泥浆管及电缆;5-钳制台;6-转盘;7-吊臂滑车;8-机架立柱;9-导板抓斗;10-出土上滑槽;11-出土下滑槽架;12-轨道;13-卷扬机;14-控制箱

3)冲击式挖槽机。目前,我国在地下连续墙施工中使用的主要是钻头冲击式挖槽机,它是通过各种形状钻头的上下运动,冲击破碎土层,借助泥浆循环把土渣带出槽外。这种挖槽机适用于老黏性土、硬土和夹有孤石等复杂的地层情况。钻头冲击式挖槽机的排土方式有正循环方式和反循环方式两种。

①正循环方式。泥浆正循环方式是将泥浆通过钻杆从钻头前端高压喷出,携带被破碎的土渣一同上升至槽壁顶部排出,然后经泥水分离装置排除土渣后,再用泥浆泵将泥浆送至钻头处,使泥浆产生循环。

②反循环方式。泥浆反循环方式是泥浆经导沟流入槽内,携带土渣一起被吸入钻头,通过钻杆和管道排出地面,经泥水分离装置排除土渣后,再把泥浆补充到槽内。

(3)挖槽中的注意事项

1)控制钻进速度。使用多头钻开挖深槽时,如果在软塑黏土中钻进,进尺过快,钻渣量过大,有可能使排浆口堵塞,从而造成“糊钻”,反而影响钻进;如果进尺过慢,切削下来的泥土难以从钻头及侧刀上甩开,而附着在钻头及侧刀上,从而造成“抱钻”,也会影响钻进。所以施钻时要注意控制钻进速度,不可过快或过慢,钻进速度的确定要考虑土的坚硬程度并与排泥速度协调。

2)防止产生卡钻。在挖槽施工过程中,要注意防止出现卡钻,这是比较难处理的事故。造成卡钻的原因可能是多方面的,如泥渣沉淀在钻机周围,将钻机与槽壁之间的孔隙堵塞;中途停止钻进未及时提钻;槽壁局部出现塌方,将钻机埋入槽内;在钻进中遇到较硬的障碍物,钻头被卡住;槽孔偏斜过大等均可能造成卡钻。

针对以上情况,在钻进过程中要注意不定时的交替紧绳、松绳,将钻头慢慢下降或空转,避免泥渣淤积堵塞造成卡钻;中途需要停钻时,应及时将钻机提出槽外;要注意控制泥浆密度,防止槽壁出现塌方;在开挖深槽前应探明障碍物,并采取措施清除;钻进中随时检查垂直度,发现偏斜及时纠正;对磨损严重的钻头及时更换或补焊,防止钻头直径变小。

3)防止偏斜和弯曲。在挖槽的过程中要防止槽孔出现偏斜和弯曲。为此,在钻机使用前应调整悬吊装置,防止产生偏心,机架底座应保持水平,并安设平稳;在钻进过程中如遇到较大孤石、探头石或坚硬土层,辅以冲击钻破碎;在有倾斜度的软硬地层交界处及扩孔较大处,应采用低速钻进。

如果已出现槽孔偏斜和弯曲,一般可在偏斜处用钻机上下往复扫孔,将突出部位扫除,使槽孔纠正竖直;如果偏斜比较严重,则回填砂黏土到偏斜处1m以上,待填土沉积密实后,再重新施钻。

4)处理好砾石地层。在挖槽中如果遇到孔隙率很大的砾石地层,护壁泥浆会出现突然大量流失;当遇到未经处理的落水洞、暗沟时,也会出现泥浆流失,使槽内泥浆迅速下降,造成“漏浆”甚至塌方。

出现以上情况后,应立即停止使用吸力泵,并及时向槽内输送尽量多的泥浆,同时将挖槽机迅速提出。对砾石层要提高泥浆的黏度和密度,并掺适当的堵漏材料,及时补浆和堵漏,保持槽内的泥浆面处于正常高度;对落水孔洞、暗沟要先填充优质黏土,待填充沉淀密实后再重新施钻。

5)防止槽壁坍塌。地下连续墙施工中保持槽壁稳定、防止槽壁塌方,是成功的关键和重大技术问题。与槽壁稳定有关的因素是多方面的,主要有泥浆、地质条件和施工三个方面。

①泥浆方面。泥浆质量和泥浆液面的高低对槽壁稳定有很大影响。成槽应根据土质情况选用合格泥浆,并通过试验确定泥浆配合比和泥浆密度。泥浆液面越高槽壁失稳的可能性越小,因此泥浆液面应高出地下水位1m左右;如发现有漏浆或跑浆现象,应及时堵漏和补浆。

②地质条件。地质条件主要是指地下水和地基土的情况。地下水位愈高,平衡它所需要的泥浆相对密度也愈大,槽壁失稳的可能性也愈大。因此,地下水位的相对高度,对槽壁的稳定影响很大,施工中应特别注意地下水位的变化,采取相应措施进行控制。

地基土的条件直接影响槽壁的稳定。土的内摩擦角愈小,所需泥浆的相对密度愈大;内摩擦角愈大,表明土质愈好,槽壁则不易发生塌方。为此,应根据不同的土质条件选用不同的泥浆配合比。

③施工方面。地下连续墙施工时单元槽段的划分也影响槽壁的稳定性。槽段的长深比越小,土拱作用越小,槽壁越不稳定。因此,一般一个单元槽段不要超过2~3个挖掘段。另外,施工中还应注意控制钻进进尺、钻机回转速度、及时吊放钢筋笼和浇筑混凝土、地面荷载不要过大、随时检查和处理等。

4.清理槽孔

在地下连续墙槽孔施工中,切削下来的土渣大部分随泥浆循环排出槽外,但少量的泥浆颗粒和土渣逐渐沉淀到槽底,如果不将这些沉积的泥土清除,会在槽底部形成夹层,使地下连续墙的沉降量增大,承载力显着降低,并削弱其截水防渗能力,甚至会导致发生管涌;如果泥渣混入混凝土中会使混凝土强度降低,若被挤至接头处会影响接头部位的防渗性能;沉渣过厚,会使钢筋笼不能吊放至预定高度,或使钢筋笼上浮。由此看来,在吊放钢筋笼之前,必须进行清槽工作,即清除槽底的沉淀物。

清槽是地下连续墙施工中的一项重要工作,清槽的目的是置换槽孔内稠泥浆,清除钻渣和槽底沉淀物,以保证地下连续墙的设计高程及结构受力要求,同时为下一道工序安装接头管、钢筋笼、浇筑水下混凝土提供良好的条件,确保地下连续墙墙体的质量。

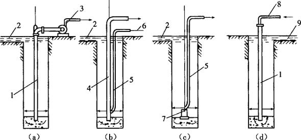
清槽一般采用吸力泵、压缩空气和潜水泥浆泵三种排渣方式,当放下钢筋笼后清槽,则可利用混凝土导管压清水或稀泥浆清槽。以上排渣的工作原理,如图10-28所示。

图10-28 清槽的基本方式

(a)用吸力泵通过导管清槽;(b)压缩空气机吸泥清槽;(c)潜水泵清槽;(d)利用混凝土导管压清水或稀泥浆清槽

1-导管;2-补给泥浆;3-吸力泵;4-空气升液排泥管(或导管);5-软管;6-压缩空气;7-潜水泥浆泵;8-清水或稀泥浆;9-排渣

不同的成槽方式,应采用不同的清槽方法,清槽的一般操作方法程序是:

当钻到设计深度后,应立即停止钻进,使钻头空转4~6min,将槽底残留的泥块破碎成细小颗粒,用吸力泵或砂石泵用反循环方式抽吸10min,将钻渣清除干净,使泥浆密度控制在1.1~1.2范围内。

当采用正循环成槽时,则将钻头提离槽底20cm左右进行空转,中速压入密度为1.05~1.10的稀泥浆,把槽孔内悬浮土渣和较稠泥浆置换出来。

当采用自成泥浆成槽时,挖掘槽孔结束后,可使钻头空转不进尺,同时喷射清水或稀泥浆,待排出的泥浆密度降至1.10左右时即可。如清槽后到浇筑混凝土的间隔时间较长,泥浆沉淀或槽壁局部坍落,可利用混凝土导管在顶部加盖,用泵压入清水或密度很小的新鲜泥浆,将槽底含砂量较大的泥渣置换出来。

清槽一般在钢筋笼安装前进行,在混凝土浇筑时,应再次测定槽底沉淀物情况,如果不符合要求,应再进行清槽,直至合格为止。

在进行清槽换浆之前,对前段混凝土接头处上的残留泥皮,可采用特制的接头清扫工具,用吊车吊入槽内紧贴接头混凝土面往复上下刷2~3遍,将混凝土接头表面上的泥皮刷净。特制混凝土接头清扫工具,如图10-29所示。

图10-29 特制混凝土接头清扫工具示意图

(a)轮胎刮刀;(b)钢丝刷;(c)刀具;(d)成槽抓斗上装弧形钢丝刷

1-轮胎;2-抓斗;3-钢丝刷

清槽的质量要求是:清槽结束后1h,测定槽底沉淀物的淤积厚度不大于20cm,槽底处的泥浆密度不应大于1.20。

5.钢筋笼制作与吊放

(1)钢筋笼的制作

钢筋笼的制作应根据设计钢筋配置图、单元槽段的划分和吊放机具的能力等因素而确定。单元槽段的钢筋笼应装配成一个整体,必须分段时宜采用焊接或机械连接,接头位置宜选在受力较小处,并相互错开。

为保证钢筋笼的几何尺寸和相对位置正确,钢筋加工一般应在工厂平台放样,主筋接头用闪光对焊连接,下端的纵向主筋稍微向内弯曲一些,以防止吊放钢筋笼时,钢筋损伤槽壁。

钢筋笼在现场地面上平卧组装成一个槽段整体。先将闭合钢箍排列整齐,再将通长的主筋依次穿入钢箍,采用点焊的方法加以固定就位,要求钢筋笼表面平整度误差不得大于5mm。为保证钢筋笼具有足够的刚度,吊放时不发生变形,钢筋笼除设置结构受力筋外,一般还应设纵向钢筋桁架和主筋平面内的水平及斜向拉条,与闭合箍筋点焊成骨架,钢筋笼的主筋和箍筋交点采用点焊,也可视钢筋笼结构情况,除四周两道主筋交点全部点焊外,其余采用50%交错点焊和用直径0.8mm以上铁丝绑扎。

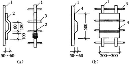
对于较宽尺寸的钢筋笼,应增设直径25mm的水平筋和剪刀拉条组成横向水平桁架。主筋的保护层厚度一般不小于70mm,水平筋端部距接头管和混凝土接头面应有100~150mm的间隙。一般在主筋上焊高500~600mm的钢筋耳环或扁钢板作定位垫块(图10-30),其垂直方向每隔2~5m设一排,每排每个面不少于2块,垫块与壁面间留有20~30mm间隔,可防止吊放钢筋笼时擦伤槽壁和保证位置正确。

图10-30 钢筋笼定位垫块设置

(a)钢筋耳环垫块;(b)钢板垫块

1-主筋;2-20mm垫块;3-箍筋;4一钢板垫块(厚3.2mm)

钢筋笼内净空尺寸应比混凝土导管连接处的外径大100mm以上,并要求上下贯通,钢筋叠置的地方要确保混凝土流动的必要距离。有的还在混凝土导孔内两侧各焊1~2根通长的钢筋作导向用,以便下放混凝土导管、钢筋笼纵向筋距槽底应为200~300mm。

钢筋笼制作尺寸必须正确,其允许偏差为:主筋间距为±10mm;箍筋间距为±20mm;钢筋笼的厚度和宽度为±10mm;总长为±50mm。

(2)钢筋笼的吊放

由于钢筋笼是平卧制作,其平面面积大、钢筋用量多、整体刚度差、很容易变形,所以钢筋笼的起吊、运输和吊放应制定周密的施工方案,主要应解决好两个问题:一是在起吊、运输、竖立的过程中不得使钢筋笼产生不可恢复的永久变形;二是钢筋笼在向槽内插入的过程中不要造成槽壁坍塌。

钢筋笼起吊应用横吊梁或吊梁,吊点布置和起吊方式要防止起吊时引起钢筋笼的变形(图10-31)。起吊时不能使钢筋笼下端在地面上拖拉斜吊,应先将钢筋笼水平起吊,然后通过主机和辅助起重机的协调操作,使钢筋笼逐渐垂直立起并对准槽口。为防止钢筋笼吊起后在空中摆动,应在钢筋笼下端系上控制绳索,用人力操纵控制。

图10-31 钢筋笼的起吊方法

1,2-吊钩;3,4-滑轮;5-卸甲;6-端部向内弯曲;7-纵向桁架;8-横向架立桁架

在插入钢筋笼时,吊点中心必须对准槽段中心,以缓慢的速度垂直地落入槽内。起重机操作人员应全神贯注施工,注意不要因起重臂摆动而使钢筋笼产生横向摆动,以致造成槽壁的坍塌。钢筋笼插入槽孔内后,应检查其顶端高度是否符合设计高度,然后用横担或在主筋上设弯钩将其搁置在导墙上。如果钢筋笼长度小于15m,一般可采用整体制作,用15t或25t履带式吊车一次整体吊放;如果钢筋笼长度大于15m,可采用分段制作,在下段钢筋笼插入槽内后,应先悬挂在导墙上,然后将上段钢筋笼吊起,采用搭接焊或帮条焊方式,将上下两段钢筋笼成直线连接。

如果钢筋笼不能顺利插入槽内时,千万不可强行插入,以免引起钢筋笼变形或槽壁发生坍塌,而应将钢筋笼吊出,查明原因加以解决。为保证槽壁不发生坍塌,应在清槽完毕3~4h内下完钢筋笼,并立即开始浇筑混凝土。

6.浇筑混凝土

(1)混凝土配合比的选择

混凝土配合比的设计除满足设计强度要求外,还应考虑到水下混凝土浇筑(导管法)的施工特点和对混凝土强度的影响。工程实践证明,将混凝土的设计强度等级提高5MPa进行配合比设计是比较适宜的。水泥宜采用强度等级为42.5的普通硅酸盐水泥或52.5的矿渣硅酸盐水泥;石子宜采用卵石,其最大粒径不大于导管内径的1/6和钢筋最小净距的1/4,且不大于40mm;当采用碎石时,粒径宜为5~20mm,且适当增加水泥用量和提高砂率;砂宜采用中粗砂,含砂率宜为40%~45%;水灰比不宜大于0.60;单位水泥用量应不小于370kg/m3;混凝土拌合物应具有良好的和易性,坍落度宜为18~20cm,并有一定的流动度保持率,当坍落度降低至15cm时的时间不小于1h,施工扩散度宜为34~38cm。

混凝土初凝时间应满足浇筑和接头施工工艺要求,一般为3~4h。如运输距离过远,可在混凝土中掺加木钙减水剂,可减小水灰比,增大流动度,减少离析,防止导管堵塞,并延缓初凝时间,降低浇筑速度。

(2)地下连续墙浇筑方法

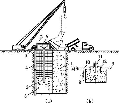
地下连续墙的混凝土浇筑,一般是采用水下混凝土浇筑方法,即导管浇筑法。通常采用履带式起重机、卸料翻斗、混凝土导管和贮料斗,并配备简易浇筑架,组成一套混凝土浇筑设备,其组成和浇筑过程如图10-32所示。

图10-32 地下连续墙的混凝土浇筑

(a)混凝土浇筑机具设备及过程;(b)混凝土隔水塞

1-已浇筑的连续墙;2-浇筑架;3-混凝土导管;4-接头钢管;5-接头管顶升架;6-下料斗;7-卸料翻斗;8-混凝土;9-橡皮(3mm厚);10-木板;11-吊钩;12-预埋螺栓

导管内径一般选用1250~300mm,由2~3mm厚的钢板卷焊而成,每节长度为2~3m,并配备1~1.5m长的调节长度用的短管;各节导管由管端粗螺纹或法兰螺栓连接,接头处用橡胶垫圈密封防水,接头外部应当光滑,使之在钢筋笼内上拔时不挂钢筋。当单元槽段长度在4m以下时,可采用单根导管,槽段长度大于4m时,可采用2~3根导管,导管间距一般掌握在3m以下,最大不超过4m,同时距槽段端部不得超过1.5m。

在整个浇筑过程中,混凝土导管应埋入混凝土内2m以上,最小埋深不得小于1.5m,使从导管下口流出的混凝土将表层混凝土向上推动,从而避免混凝土与泥浆直接接触,否则混凝土流出时会把混凝土上升面附近的泥浆卷入混凝土内。

当混凝土浇筑到离顶部约3m附近时,导管内的混凝土不易流出,这时要放慢混凝土的浇筑速度,或将导管埋深减为1m,如果仍浇筑不下去,可将导管上下抽动,但抽动的范围不得超过30cm。

为保证混凝土的均匀性,混凝土浇筑时中途不得中断,遇到特殊情况,间歇时间应控制在15min内,在任何情况下也不得超过30min,每个单元槽段的浇筑时间,一般应控制在4~6h内完成。

(3)混凝土浇筑注意事项

1)地下连续墙混凝土的浇筑要连续进行,一般不得出现中断,一个单元槽段应控制在4~6h内完成,以保证混凝土的均匀性;混凝土的间歇时间一般应控制在15min以内,任何情况下也不得超过30min。

2)浇筑混凝土时要保持槽内均衡上升,而且要使混凝土面上升速度不大于2m/h。浇筑速度一般为30~35m3/h,导管不能在槽内做横向运动,否则会使泥浆土渣混入混凝土内。当采用多根导管浇筑时,各导管处的混凝土面高差不宜大于0.3m。

3)导管提升的速度应与混凝土的上升速度相适应,始终保持导管在混凝土中的插入深度不小于1.5m,也不能使混凝土溢出漏斗或流进槽内。

4)在混凝土浇筑过程中,要随时用探锤测量混凝土面的实际标高,每次应至少量测三个点取其平均值,以此计算混凝土上升高度、导管下口与混凝土相对位置,统计混凝土的浇筑量,及时做好施工记录。

5)搅拌好的混凝土应在1.5h内浇筑完毕,在高温气候下应在1h内浇完,否则应掺加适量的缓凝剂。当混凝土浇筑到距顶部3m时,可在槽段内放水适当稀释泥浆,或上提导管减少埋深,或放慢混凝土的浇筑速度,以减少混凝土排除泥浆的阻力,保证浇筑顺利进行。

6)当混凝土浇筑至顶层时,由于导墙内压力的减少,混凝土与泥浆很可能产生混杂,为清除上部接触泥浆的混凝土,混凝土面高度应比设计高度超浇500~600mm,待混凝土浇筑完毕后,立即清除最上层的300~400mm,留下的200mm左右待其硬化后,再用风镐将浮浆层凿去,以利于新老混凝土的结合。

随便看

 

离鸟网收录3541549条中英文词条,其功能与新华字典、现代汉语词典、牛津高阶英汉词典等各类中英文词典类似,基本涵盖了全部常用中英文字词句的读音、释义及用法,是语言学习和写作的有利工具。

 

Copyright © 2004-2024 vtrois.com All Rights Reserved
更新时间:2026/4/7 12:05:58