网站首页  词典首页


请输入您要查询的字词:

 

字词 塑料三通接头注塑模具
类别 中英文字词句释义及详细解析
释义

塑料三通接头注塑模具


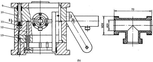
制品为塑料三通接头。该模具采用滚轮式滑板抽芯机构。模具结构紧凑,抽芯稳定可靠,选取大抽拔角度,能满足较长的抽拔距离,滚动轴承18与滑板导滑槽相配,摩擦阻力小。

开模时,弹簧9使模具首先沿Ⅰ-Ⅰ分型面分型,脱出主流道凝料,随后由定距拉杆10及垫圈11定距限位,模具沿Ⅱ-Ⅱ分型面分型。此时,三对滚动轴承18沿三对滑板3、20的导滑槽滚动,分别通过轴19带动侧型芯5、7、17完成抽芯。推杆15将制品顶出。合模时,为避免推杆15与侧型芯发生干扰,采用了弹簧13顶出机构先复位,见图5-12。

图5-12(a) 塑料三通接头注塑模具主视图及俯视图

图5-12(b) 塑料三通接头注塑模具侧视图及塑件图

1—限位销 2—型芯导套 3—滑板 4—锁紧块 5—侧型芯 6—定模镶块 7—侧型芯 8—定模 9—弹簧 10—定距拉杆 11—垫圈 12—复位杆 13—弹簧 14—动模 15—推杆 16—定模镶块 17—侧型芯 18—滚动轴承 19—轴 20—滑板

随便看

 

离鸟网收录3541549条中英文词条,其功能与新华字典、现代汉语词典、牛津高阶英汉词典等各类中英文词典类似,基本涵盖了全部常用中英文字词句的读音、释义及用法,是语言学习和写作的有利工具。

 

Copyright © 2004-2024 vtrois.com All Rights Reserved
更新时间:2026/4/8 16:18:51