网站首页  词典首页


请输入您要查询的字词:

 

字词 塑料线轴注塑模具
类别 中英文字词句释义及详细解析
释义

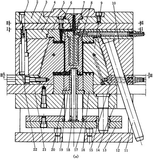
塑料线轴注塑模具


该模具主要特点是:用锥形模套对滑块锁紧,牢固可靠,并使动、定模板之间具有较高的同轴度;连接杆15与滑块9用螺钉连接,加工简便;利用制品的加强筋允许有较大的脱模斜度,而采用推管顶出,简化了结构;冷却系统布局较适宜,加之可以自动脱浇口,因而可以实现全自动连续生产。此外,还巧妙地利用内部空间设置了一根复位杆,解决了外部不便设置复位杆的矛盾。此模具为典型的高滑块注塑模具。

开模时,由于成型时的胀型力使滑块9与模套10之间具有较大的摩擦力,因此Ⅰ-Ⅰ面首先分型,点浇口被拉料杆6带出定模镶块5。当拉杆22对模套10限位后,模具沿Ⅱ-Ⅱ面分型,托板3托住浇道凝料使其脱离浇口套和拉料杆6并自动落下;当限位螺钉1起限位作用后,Ⅱ-Ⅱ面进行分型,在此过程中斜导柱11拔动连接杆15从而使滑块9完成抽芯。随后推管20将制品顶出,见图5-11。

图5-11(a) 塑料线轴注塑模具主视图

图5-11(b) 塑料线轴注塑模具塑件图

1—限位螺钉 2—定模座板 3—托板 4—定模板 5—定模镶块 6—拉料杆 7—水套 8—型芯 9—滑块 10—模套 11—斜导柱 12—动模座板 13—推板 14—支承板 15—连接杆 16—型芯 17—卡环 18—复位杆 19—型芯 20—推管 21—动模板 22—拉杆

随便看

 

离鸟网收录3541549条中英文词条,其功能与新华字典、现代汉语词典、牛津高阶英汉词典等各类中英文词典类似,基本涵盖了全部常用中英文字词句的读音、释义及用法,是语言学习和写作的有利工具。

 

Copyright © 2004-2024 vtrois.com All Rights Reserved
更新时间:2026/4/7 7:20:24