网站首页  词典首页


请输入您要查询的字词:

 

字词 塑料隔板注射模具
类别 中英文字词句释义及详细解析
释义

塑料隔板注射模具


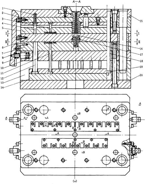
该模具用以成型四种规格的隔板制品。模具结构采用双分型面。定模型腔成型窄的制品,由侧浇口进料;动模型腔成型宽的制品,由点浇口进料。此模具为点浇口进料的三板式模具。

开模时,Ⅰ-Ⅰ面首先分型,在此过程中,在摆钩9和弹簧1的同时作用下,由推杆3将窄制品顶出定模板5型腔;然后,在继续开模中,摆钩9被强行脱开,窄制品和浇口随浇口板6一起移动,当摆钩9钩住浇口板6时,在弹簧17作用下,推杆16将点浇口顶断,窄制品同时脱开浇口板6。当浇口板6由垫圈19限位后,摆钩9再次被强行脱开,此时模具沿Ⅱ-Ⅱ面分型,随后推杆11将宽制品从动模板7中顶出,见图5-15。

图5-15(a) 塑料隔板注射模具主视图及俯视图

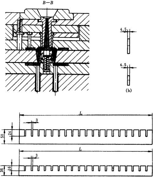
图5-15(b) 塑料隔板注射模具侧视图及塑件图

1—弹簧 2—推板 3—推杆 4—复位杆 5—定模板 6—浇口板 7—动模板 8—弹簧 9—摆钩 10—支承板 11—推杆 12—复位板 13—垫块 14—推板 15—定模镶块 16—推杆 17—弹簧 18—拉杆 19—垫圈 20—动模座板

随便看

 

离鸟网收录3541549条中英文词条,其功能与新华字典、现代汉语词典、牛津高阶英汉词典等各类中英文词典类似,基本涵盖了全部常用中英文字词句的读音、释义及用法,是语言学习和写作的有利工具。

 

Copyright © 2004-2024 vtrois.com All Rights Reserved
更新时间:2026/4/9 11:55:48