网站首页  词典首页


请输入您要查询的字词:

 

字词 增塑剂的测试
类别 中英文字词句释义及详细解析
释义

增塑剂的测试


(一)色度测定

铂、钴色度:用不同比例之氯铂酸钾与氯化钻配制的标准溶液与增塑剂的色泽比较,色号越小颜色越浅。

测定要点:将试样均匀混合后,注入比色管中至刻度,再将同样的比色管注入等量的铂钴比色标准液,置于装有反光镜的比色架(图10-2-1)上,将比色管连同比色架放入有照明装置的比色箱见图10-2-2。转动反光镜,以镜中反射之光泽进行比色,确定色度详细方法参照HG2-465-75。

图10-2-1 比色管架

1-置比色管孔 2-玻璃 3-镜面 4-p32孔,共12孔

图10-2-2 比色箱

1.3-磨砂玻璃 2-日光灯

(二)酯含量测定

增塑剂与氢氧化钾乙醇溶液经煮沸回流发生水解作用,剩余之碱液用标准盐酸溶液进行滴定以测定其酯含量。

测定要点:称取试样0.5~1.0g(准确到0.0002g)置于锥形瓶中,用移液管准确加入50ml0.5N氢氧化钾乙醇溶液,然后装上回流冷凝管,并附加吸收CO2的苏打石灰管,于沸水浴中回流1.5h,用10ml左右新煮沸蒸馏水冲洗冷凝管管壁,冷却后加入2~4滴1%酚酞指示剂,以0.5N盐酸溶液滴定至粉红色消失,即为终点。用同样条件作一空白试验,酯含量计算公式见GB1665-81。

(三) 相对密度测定测定相对密度有韦氏天平法和比重瓶法。

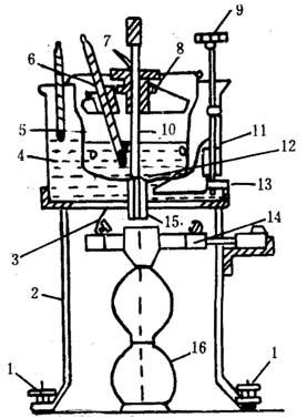
1. 韦氏天平法韦氏天平见示图10-2-3。

图10-2-3 韦氏天平

1-支架 2-调节器 3-指针 4-横梁 5-刀口 6-游码 7-小钩 8-细白金丝 9-浮锤 10-玻璃筒 11-调整螺丝

测定要点:将天平安装好,将浮锤挂在钩上,旋转调整螺丝使两个指针对准。

向玻璃筒中注入经煮沸30min的蒸馏水,将浮锤浸入水中,玻璃筒置于20℃恒温水浴中,小钩上挂上游码,使天平保持平衡。

将玻璃筒中水倾出,玻璃筒及浮锤用乙醇或乙醚洗涤数次,吹干,注入试样(20℃),同样置于水浴中,调节游码使梁上游码都放在刻度上。如果在同一刻度上需要放两个游码,则将小的挂在大的游码上(如图)。如果试样相对密度大于1,则单位游码挂在小钩上,待天平保持平衡,记录读数(),即为试样的相对密度。

2.比重瓶法

比重瓶见示图10-2-4。比重瓶主体容积一般为15~25ml;侧管尖端呈毛细管状;温度计分度值为0.2℃。

图10-2-4 比重瓶

1-比重瓶主体 2-侧管 3-侧孔 4-罩 5-温度计 6-玻璃磨口

测定要点:将20℃蒸馏水(经煮沸30min)注满瓶中,装上温度计(瓶中应无气泡),立即浸入20±0.1℃恒温水浴中20~30min,取出,用滤纸擦去溢出侧管之水,立即盖上罩擦干后称量G3

将比重瓶中水倾出,用乙醇、乙醚洗涤数次,吹干后称量G1,将试样注满比重瓶,按上述恒温至20±0.1℃,称量G2

计算公式:

式中 G1——比重瓶的重量(g)

G2——比重瓶及试样的重量(g)

(四)酸值测定

中和1g增塑剂所需要氢氧化钾的mg数称为酸值。

仪器、试剂、精确度参照GB1668-81。

测定要点:称试样10g(准确至0.0002g)置于100ml三角瓶中,加入40ml已中和的95%乙醇及2滴酚酞指示剂,充分摇匀,再用0.02N氢氧化钾标准溶液滴定至溶液呈粉红色,并在20s内不褪色为终点。

计算公式:

式中 N——氢氧化钾溶液之浓度

V——氢氧化钾溶液之体积(ml)

56.11——氢氧化钾分子量

G——样品重量(g)

酸值测定还可参照GB1668-81,GB1674-81,GB1675-81

(五)加热失重测定

增塑剂在一定温度下所损失的重量为加热失重。

仪器参照GB1669-81。

测定要点:称取试样10g置于干燥恒重的称量瓶中,将此称量瓶置于125±2℃的恒温烘籍中保持3h后,取出放入干燥器内,待冷却后称重。

计算公式:

式中 G——试样重(g)

G1——加热前试样与称量瓶重(g)

G2——加热后试样与称量瓶重(g)

(六)热稳定性试验

增塑剂在一定温度下加热后,观察其色泽与酸值的变化称为热稳定性。

仪器、试剂参照GB1670-81。

测定要点:取试样70ml注入硬质试管,置于加热至180C的油浴中,在180±2℃的油浴中静置30min,然后取出,冷却至室温,进行色泽和酸值测定。测试方法同GB1664-81,GB1668-81。

(七)闪点测定

增塑剂按GB267-74标准规定的条件下,加热到其蒸气与火焰接触发生闪光时的最低温度定为闪点。

仪器:按GB267-74《石油产品闪点与燃点测定法》规定的开口杯法的闪点测定仪见图10-2-5。

图10-2-5 闪点测定仪

1-温度计夹头 2-温度计 3-引火器 1-内坩埚 5-外坩埚 6-坩埚托 7-电炉 8-底座 9-挡风屏

试验方法:将试样注入坩埚中。闪点在210℃以下的试样,液面装到距坩埚边缘12mm处,闪点高于210℃的试样,装到距坩埚边缘18mm处,液面以上的坩埚壁不应沾有试样。温度计垂直固定在试样中,水银球应位于内坩埚中央。升温速度开始为每分钟10℃,当试样温度达到预期闪点前40℃时,控制为每分钟4±1℃。当试样温度达到预期闪点前10℃时,点火器火焰放到距液面表面10~14mm处,并沿水平面作直线运动。点火器从坩埚的一边移至另一边需时间2~3s,试样温度每升高2℃重复一次点火试验。点火器的火焰高度约3~4mm。液面上方最初出现蓝色火焰时的温度即为闪点。

(八)体积电阻率测定

仪器:平板状黄铜电极和圆柱状黄铜电极的规格和图参照GB1672-81。

测定方法:线路图见图10-2-6。

图10-2-6 线路图

1.平板状电极的测量方法

将约100ml增塑剂倒入黄铜电极槽内,使测量电极完全浸入。温度控制在20±5C,相对湿度不大于70%。然后将电极接至测量线路中,K1接在位置1上,K2接在位置2上。用万分流计调节,使检流计电流处于最小位置。接上K3。开始记录时,逐级改变分流器的分流比,直到有足够的偏转格数为止(偏转格数必须在10mm~150mm之间)。1min记下偏转格数,将试样放电1min,然后将K1接在2上。重复试验两次,取偏转格数的平均值。

2.圆柱状电极的测量方法

将约50ml增塑剂倒入黄铜电极槽内。温度控制在20±5℃,相对湿度不大于70%。测量法如板状电极。

计算公式

式中 ρV——体积电阻率(Ω·cm)

U——测量电压(V)

N——分流器的分流比

Cp——检流器的电流常数(A/mm)

A——检流器的读数(mm)

S——测量电极的表面积(cm2)

D——测量电极与高压电极间距(cm)

(九)折光率测定

测定要点:折光仪应放置在光线充足的地方。光与恒温水浴连接,再将折光仪棱镜温度调至实验温度。将样品数滴放入棱镜内,立即闭合,恒温后,调节棱镜之螺旋至现场分为明暗两部分。转动补偿器旋扭,消除彩虹并使明暗分界线清晰,继续调节螺旋并使明暗分界线对准在十字线上,读取标尺上的读数,读数精确至小数点以下4位。

注意:折光仪使用前应用水校正,20℃时水的折光率为1.3330。

(十)水分的测定(比浊法)

用增塑剂与溶剂相混,当含有水分时,将出现浑浊现象,由目视观察测定增塑剂的水分。

仪器、试剂参照GB1659-82。

方法一:称取1g试样(准确至0.01g)放入20ml带塞比色量筒中。在15~20℃下,将水饱和的苯20m1分4次加入,每次加入后剧烈摇动,然后观察其外观混浊程度,与同体积同温度水饱和苯比较。

方法二:取试样5ml,置于100ml带塞比色量筒中,在20℃下每次加入5ml汽油,剧烈摇动,直至100ml,每加入一次汽油察其外观的浑浊程度,并与同体积的汽油比较。

注意:一种增塑剂可任选一种测定方法。仲裁分析可用卡尔-费林法。

(十一)运动粘度测定(恩氏法)

恩氏粘度是在一定温度下试样自恩氏粘度计流出200ml所需时间(s)与同体积蒸馏水流出时间(s)之比值。

仪器:恩氏粘度计(见图),恩氏粘度计接受容量瓶(200ml),温度计,秒表。

图10-2-7 恩氏粘度计

1-调整螺钉 2-铁三角架 3-铂制角 4-外容器 5-内容器 6-插温度计孔 7-木塞孔 8-黄铜盖 9-搅拌手柄 10-柱塞 11-小尖钉 12-流出孔 13-搅拌器 14-环焰灯 15-黄铜小管 16-瓶

试剂:乙醇,蒸馏水。

试验方法:将试样注入容器,调整至三个尖钉的尖端刚露出液面为止。接通电源,以变压器调节升温速度。不停搅拌内外容器液体,要求外容器内液体温度比内容器液体高1℃,当试样达到所需温度时迅速提起柱塞同时按下秒表。记下从内容器流出液体达到接受瓶的200m1刻度线时的秒数。

蒸馏水的测定方法同上,标准粘度计的水值为51±1s。

计算公式:

绝对粘度(Cp)=7.41×恩氏粘度

×试样相对密度(20℃)

运动粘度与恩氏粘度换算表参照GB1661-82。

品氏法运动粘度测定详见GB1660-82。

(十二) 结晶点的测定

在降温条件下测得的增塑剂出现晶体(或凝胶状)时的最高温度,即为增塑剂的结晶点。

仪器:双层壁的玻璃管(见图10-2-8)。

图10-2-8 结晶点测定仪

1-搅拌器 2-标记

试剂:参照GB1662-81。

测定要点:

①试样应混合均匀并调节在18~20℃。

②将试样注入玻璃管到标线处,并插入水银温度计,其位置处于试管中央与管底距离15mm。

③容器中所贮冷剂液面应高于试样液面30~40mm,冷剂的温度自始至终比试样温度低15~17℃,并以60~200r/min的速度搅拌试样。估计到达结晶点前5℃时,从冷剂中取出试样置于光源下仔细观察,如试样未呈晶体,再将试管放入冷剂中,以后每隔1C观察一次,每次观察时间不超过12s。

当试样开始呈现出肉眼能见的晶体或凝胶状时,所示温度即为结晶点。

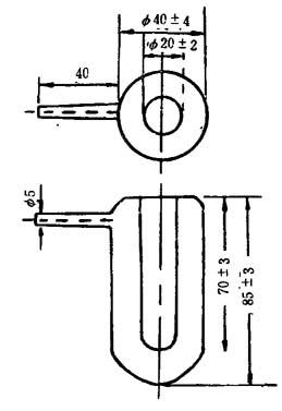
(十三) 凝固点的测定

(1)仪器及装置

①茹可夫瓶见图10-2-9。

图10-2-9 茹可夫瓶

②干燥试管:高70±3mm,内径20±2mm。

③套管:高85±5mm,内径40±4mm。

④温度计:分度值为0.2℃(见图10-2-10)。

图10-2-10 温度计

⑤冷却浴:盛有适宜的冷却液。

(2)测定步骤

①称取约50g固体试样置于烧瓶中。

②将其加热熔化至高于其凝固点约10~15℃时,立即倒入预热至同一温度的茹可夫瓶中,至体积三分之二处。用软木塞塞住。注意塞子中间插入的温度计不要接触瓶壁与瓶底。

③搅拌试样,当试样自然冷却至凝固点下2~3℃时,停止搅拌,试样开始凝固。此时,温度稍有上升并至一定点,在该温度下保持一短时间不变,然后开始下降。此短暂不变的温度为试样的凝固点。

(十四)环氧值测定

盐酸吡啶法测环氧值参照GB1678-81。

(十五)含氯量测定

含氯量的测定参照GB1679-81。

(十六)热分解温度测定

热分解温度的测定参照GB1680-81。

随便看

 

离鸟网收录3541549条中英文词条,其功能与新华字典、现代汉语词典、牛津高阶英汉词典等各类中英文词典类似,基本涵盖了全部常用中英文字词句的读音、释义及用法,是语言学习和写作的有利工具。

 

Copyright © 2004-2024 vtrois.com All Rights Reserved
更新时间:2026/4/9 8:57:34