网站首页  词典首页


请输入您要查询的字词:

 

字词 外形及结构
类别 中英文字词句释义及详细解析
释义

外形及结构


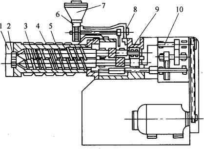
双螺杆挤压机就是在机筒中并排安放两根螺杆,图3-6-1是它的外形图。其结构见图3-6-6、图3-6-7。

图3-6-6 双螺杆挤压机结构简图

1-机头连接器 2-多孔板 3-机筒 4-加热器 5-螺杆 6-加料器 7-料斗 8-加料器传动机构 9-推力轴承 10-减速箱

图3-6-7 双螺杆结构简图

1-输送螺纹 2-捏合块 3-挡环 4-齿形混合盘

图3-6-6中双螺杆挤压机是由机筒、螺杆、加热器、机头连接器(包括筛板即多孔板)传动装置(包括电动机、减速箱和推力轴承)、加料装置(包括料斗、加料器和加料器传动装置)和机座等部件组成。各部件的作用与单螺杆挤压机相似。其中螺杆和机筒是核心部件。

从图3-6-7双螺杆结构简图中可看出,它是由输送、剪切、混合结构元件组成。

其工作过程是从料斗加入的物料,由输送螺纹推送至剪切和混合部件——捏合块处,使物料和添加剂在此处得到剪切、混合和塑化。挡环阻挡料流,升高前段料压,以强化捏合的剪切作用,最后齿形混合盘使物料混合均匀。

机筒内孔的横断面呈“8”字形,见图3-6-8。国外采用双金属机筒,机筒内壁涂有高强度合金,使之耐磨、耐腐蚀,使用寿命较长。

图3-6-8 双螺杆挤压机筒体

随便看

 

离鸟网收录3541549条中英文词条,其功能与新华字典、现代汉语词典、牛津高阶英汉词典等各类中英文词典类似,基本涵盖了全部常用中英文字词句的读音、释义及用法,是语言学习和写作的有利工具。

 

Copyright © 2004-2024 vtrois.com All Rights Reserved
更新时间:2026/4/5 15:11:32