网站首页  词典首页


请输入您要查询的字词:

 

字词 大中型拖拉机的调整
类别 中英文字词句释义及详细解析
释义

大中型拖拉机的调整


拖拉机在使用过程中,它的一些技术参数会发生变化,影响拖拉机的正常工作,甚至导致事故的发生,为此应对拖拉机的主要技术参数及时进行检查调整,保证拖拉机正常工作。

(一)离合器间隙及踏板自由行程的检查与调整

离合器在使用过程中,由于摩擦片及压盘的磨损,离合器的间隙会逐渐减小或消失,造成离合器打滑,并使踏板自由行程变小,在这种情况下,必须对其进行检查调整。下面以铁牛-55、60型拖拉机为例,介绍其调整方法。

1.离合器踏板自由行程的调整

(1)内部调整:从离合器壳左侧前检查孔内取下调节螺母7(图4-48)上的开口销,拧动调节螺母7,使分离杠杆端部与分离滑套推力轴承端面之间的间隙达到规定值,然后锁好。采用这种方法时,必须保证3个分离杠杆端部A在同一垂直面内。对于有些机型须将发动机和变速箱断开,调整分离杠杆端部与发动机或离合器某个部位的距离达到规定值。

图4-48 铁牛拖拉机离合器(单位:mm)

1.前从动盘总成 2.前压盘 3.后从动盘总成 4.后压盘 5.离合器盖 6.紧固螺栓 7.调节螺母 8.分离拉杆 9.分离杠杆 10.分离滑套总成 11.动力输出离合器主动轴 12.主离合器轴 13.润滑油嘴 14.动力输出离合器从动轴 15.动力输出离合器从动齿轮 16.拨动叉 17.支撑螺栓 18.支撑螺栓垫片 19.支撑螺栓座 20.挡销

(2)外部调整:松开拉杆11(图4-49)上的锁紧螺母10,取下连接销8,拧动调节叉9,使踏板自由行程达到规定值,然后装合。当利用这种方法不能调到其规定值时,须进行内部调整。

图4-49 铁牛拖拉机离合器操纵机构

1.离合器踏板 2.分离定位销踏板 3.连锁拉杆 4.轴销 5.连锁轴臂 6.拉簧 7.拨动叉轴臂 8.连接销 9.调节叉 10.锁紧螺母 11.拉杆

2.离合器分离行程的调整 对于双作用离合器,为了保证离合器接合和动力输出及离合器的分离彻底,必须使3个挡销20(图4-48)的端面和3个支撑螺栓17的端面之间的间隙保持在规定值,过大过小都会使离合器不能正常工作。

调整时,把3个支撑螺栓17拧到顶住挡销20的端面为止,然后再分别将支撑螺栓退回9个卡槽(可以听到9次响声),此间隙就是规定数值。

3.东方红75、802型拖拉机离合器小制动器间隙的检查调整 当离合器处于接合状态时,检查制动压盘与制动盘之间的间隙应为7~8mm,如图4-50a所示。可用塞规进行测量,如间隙不正确,可改变离合器拉杆的长度进行调整。拉杆增长,间隙增大;反之减小。当离合器处于分离状态时,检查耳环后端面与制动压盘之间的间隙,应为3~5mm,如图4-50b所示。此间隙用改变螺栓的有效长度调整。小制动器间隙调好后,应调离合器间隙(只能采用内部调整法)。

图4-50 东方红-75型拖拉机离合器小制动器间隙调整

a.离合器接合 b.离合器分离

1.耳环 2.制动压盘 3.踏板

常用拖拉机离合器主要调整数据见表4-2。

表4-2 常用拖拉机离合器主要调整数据

(二)中央传动的啮合副间隙及啮合印痕的检查与调整

中央传动两锥形齿轮必须处于正确的啮合位置,否则会造成噪声大、磨损快、齿面剥落、轮齿折断等现象。所谓齿轮的正确啮合,即指啮合的两圆锥齿轮的节锥母线重合,并且两齿轮节锥顶相交于一点,如图4-51所示。为了检查方便,通常用啮合印痕来表示。齿侧间隙是指相啮合的齿侧面之间的最小间隙。为保证中央传动正常工作,各机型均规定了在一定工作小时或拆出后桥轴和更换新齿轮副的情况下,要对中央传动进行检查和调整。检查的内容和方法如下:

图4-51 圆锥齿轮的正确啮合

1.大小圆锥齿轮轴承间隙及预紧度的检查 将千分表的表头顶触在大小圆锥齿轮的端面上,用撬棒沿轴向撬动齿轮,千分表指针摆动量就是轴承间隙。测量大圆锥齿轮轴承预紧力时,拆下小圆锥齿轮及两边半轴,用专用工具转动大齿轮,测出转动所需的扭矩,如扭矩符合规定,轴承紧度即符合要求。测量小圆锥齿轮轴承紧度时,应将小圆锥齿轮总成夹在虎钳上,用专用工具测量转动小圆锥齿轮所需转矩,如转矩符合要求紧度即合适。

2.啮合印痕的检查 由于前进挡工作时间长,负荷重,所以检查或调整啮合印痕,应以前进挡工作齿面的啮合印痕为准,在此前提下,适当照顾倒退挡工作齿面的啮合印痕。检查前,首先应弄清哪一面是前进挡工作齿面。

检查时,应先放净润滑油,并洗净擦干齿轮表面,然后将红印油或红丹油涂在齿面上,在稍加制动的情况下,转动圆锥齿轮副,使工作齿面得到清晰的印痕。观察或测取印痕的位置和尺寸。如果印痕不符合要求,应予调整。

3.齿侧间隙的检查 齿侧间隙过小,会造成圆锥齿轮副润滑不良,后桥温度过高,加速齿面磨损,甚至传动卡滞或产生啃齿现象,使轮齿折断;间隙过大,则产生较大的冲击,甚至造成轮齿崩裂。因此,调好印痕后,必须检查齿侧间隙。检查可采用下列两种方法:

第一种方法是将千分表架固定好,用表头垂直顶触在小圆锥齿轮大端齿面上,然后用手晃动小圆锥齿轮轴,表针的摆差即为齿侧间隙。

第二种方法是将适当粗细的保险丝弯成“∽”形或“匚”形作为试片,将此试片放入即将啮合的非工作面上,位置应与啮合印痕相对应。转动圆锥齿轮副,取出保险丝,用游标卡尺测量被挤压后的最薄处厚度,即为齿侧间隙。

无论采用哪种方法,都应在齿轮圆周上分别测取3个点以上。

中央传动的调整,各机型的说明书都有介绍,这里着重说明以下几点:

(1)中央传动的检查与调整,其顺序是:首先检查调整第二轴圆锥轴承的预紧量;然后检查调整支撑大圆锥齿轮的圆锥轴承预紧量(或间隙);最后检查调整啮合印痕。

(2)工厂规定的齿侧间隙和小圆锥齿轮的安装距,是配对检验的根据,同时也为装配调整提供参考。实践证明,只要啮合印痕良好,齿侧间隙即使达到1.5mm,甚至2mm,也能保证中央传动正常工作。因此,在使用过程中,对中央传动的调整,只是为了减小因磨损而增大的轴承间隙,恢复齿轮副的正确啮合,即应以检查调整啮合印痕为主。由于齿面磨损而增大的间隙,一般不予调整。只有更换新的圆锥齿轮副,才须调整间隙。

(3)由于圆锥齿轮副在工作时,承受大的负荷,齿轮小端变形量较大,将使啮合印痕略向大端方向移动。因此,检查调整时,齿面上的啮合印痕应稍接近小端,这样在大负荷作用下,就保证印痕趋向于齿宽中部。如果小圆锥齿轮在前进挡是凸面工作时则情况应有所不同,由于附加轴向力朝向小端,故印痕以居中为宜。

(4)由于圆锥齿轮副的传动比大于2,所以改变小圆锥齿轮的轴向位置,对啮合印痕在齿宽方向的影响较为显着;而改变大圆锥齿轮的轴向位置,则对齿侧间隙和啮合印痕在齿高方向变化明显。因此,啮合印痕在齿高方向偏大端或小端,主要应移动小圆锥齿轮的轴向位置;而印痕在齿高方向偏齿顶或齿根,则主要应移动大圆锥齿轮的轴向位置。

调整时,小圆锥齿轮的移动方向与其轮齿工作面是凸面或是凹面有关。当小圆锥齿轮在前进挡是凹齿面工作时,小圆锥齿轮的移动方向与印痕在齿宽上所需移动的方向相反,即需要使印痕向大端移动时,小圆锥齿轮向小端方向移动。前进挡是凸齿面工作时,移动方向与凹齿面工作时相反。当印痕偏于齿根,应向远离小圆锥齿轮方向移动大圆锥齿轮。反之则靠近。

几种主要机型中央传动的检查调整的大致方法,可参阅表4-3。

表4-3 几种主要机型中央传动的检查调整

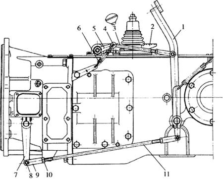
(三)转向离合器的检查与调整

转向离合器主要用在履带式拖拉机上,如东方红-75、802等,对于转向离合器的检查调整(参见图4-33),主要是指操向杆自由行程的检查调整。所谓自由行程是指操向杆从放松位置拉到转向离合器开始分离时,手柄移动的距离,此自由行程应为60~80mm。在使用过程中,由于转向离合器摩擦片磨损,操向杆的自由行程将减小,若不及时调整,会使转向离合器处于半结合状态。调整时,先将驾驶坐垫及支座拆下,检查分离杠杆的安装角度,分离杠杆在水平面内前倾7°±5°,不符时另行安装。而后拧松推杆调节套上的夹紧螺钉,转动带球头的推杆调节套,以改变推杆的长度,直至操向杆的自由行程符合要求,再把夹紧螺钉拧紧。

(四)转向盘自由转角的检查与调整

转向盘的自由转角(或自由行程)是指导向轮于居中位置时,向任一方向转动转向盘,到前轮开始偏转前所转过的角度。转向盘自由转角综合地反映了转向系中各配合件配合间隙的大小。适当的自由转角对于缓和冲击、操纵柔和,以及避免驾驶员过度紧张是有利的;但自由转角过大,将影响转向系工作的可靠性和灵敏性。使用中由于传动件磨损,转向盘自由转角会逐渐增大。必须定期检查调整。

1.球面蜗杆滚轮式转向器转向盘自由转角的检查调整(参见图4-26)当拖拉机在直线位置时,铁牛-55C型拖拉机转向盘的自由转角不得超过20°,否则应分别检查蜗杆轴承的轴向间隙、蜗杆与滚轮的啮合间隙及转向纵拉杆和前轴上横拉杆球节销的配合间隙,必要时进行调整。

(1)蜗杆轴承的调整:当转向盘有明显的轴向窜动时,可减少转向器下盖处的调整垫片进行调整,调好后,在未装转向滚轮3的情况下,转动转向盘的力应不大于9.8N。其测量方法如图4-52所示。

图4-52 测量转动方向盘所需的力

1弹簧拉力计 2.方向盘

(2)蜗杆与滚轮啮合间隙的调整:当滚轮处于中间位置(即拖拉机直线行驶位置)时,在转向盘左右各转90°的范围内,不应有啮合间隙,否则,应进行调整。调整方法如下:

①从拖拉机上卸下转向器。

②拧下锁紧螺母,取下止动垫圈。

③拧入调节螺钉,使滚轮在蜗杆中间位置时,蜗杆与滚轮的啮合间隙为0,此时转动转向盘的力应在9.8~24.5N范围内。

④按上述拆卸的相反程序装复。

(3)转向纵拉杆和横拉杆球接头的调整,取出开口销4(图4-53),拧入螺塞3,直至用力才能推动球节销时为宜,然后装复。

图4-53 转向纵拉杆和横拉杆球接头总成

1.球节销 2.球节销座 3.调节螺塞 4.开口销

2.螺杆螺母循环球式转向器转向盘自由转角的检查与调整(以上海-50型拖拉机为例)

(1)转向盘自由转角的调整:转向盘自由转角一般调整为15°。在使用过程中,由于滚珠上下座、滚珠的磨损,引起滚珠和上下座之间间隙增大,因而转向盘自由转角就增大,此时就须进行调整。调整方法如图4-54,打开保险垫片1,松开螺母3,用扳手旋转转向滚珠上座2,待间隙消除后,再将螺母拧紧,将保险垫片锁好。

图4-54 方向盘自由行程调整

1.保险垫片 2.转向轴滚珠上座 3.螺母

(2)固定销与转向螺母间隙调整:固定销头部和转向螺母连接处在使用过程中由于磨损使间隙增大,转向盘会产生松动现象,此时必须调整该间隙。调整方法见图4-55,松开固定销两侧的固定螺栓1,抽出垫片2,调整到固定销和转向螺母的配合无间隙但又能用很小的力矩转动转向螺杆为宜。

图4-55 固定销与转向螺母间隙调整

1.螺栓 2.垫片

(五)制动器间隙及踏板自由行程的检查调整

1.带式制动器的检查调整(以东方红-75型拖拉机为例) 参见图4-33,制动踏板的自由行程应为65~85mm。拖拉机在使用过程中,随着制动带的磨损,踏板的自由行程将增大,制动效果变差甚至失灵。因此,必须进行调整。

调整时,把制动踏板放松到紧靠驾驶室地板挡条上,拧转制动器拉杆的调节叉来改变拉杆的长度,使制动器拉臂后倾15°±5°,再将制动器拉紧螺母拧到底后,退回6~7圈。然后将制动踏板踩到底并锁住,松开后桥壳底部托盘上的锁紧螺母,将调整螺钉拧到底再退回1~1.5圈,以得到合适的制动带间隙,将锁紧螺母锁紧。

2.盘式制动器的检查调整(以上海-50型拖拉机为例)

(1)踏板自由行程的调整:制动摩擦片总成和制动压盘在非制动状态时,相对表面总间隙在1~1.2mm之间,相应制动踏板自由行程为90~120mm。当制动摩擦片磨损后,制动踏板的自由行程就会增大,制动效果不良,此时必须对踏板自由行程进行调整(图4-56)。调整方法如下:松开连杆上的锁紧螺母,然后顺时针方向转动调整螺母,则踏板自由行程减少,反之增大。调整时应使左右踏板自由行程一致,以免制动时拖拉机跑偏,调好后将锁紧螺母拧紧。然后将左右踏板锁在一起进行跑偏试验,方法是拖拉机在平整路面上高速行驶并进行紧急制动,观察左右后轮拖带印痕是否一致,如不一致应调整到印痕一致时为止。

图4-56 制动踏板自由行程调整

(2)左右制动器总间隙的调整(图4-57):当左、右制动器总间隙不相同相差过大时,上述调整可能达不到要求,此时可以增减制动器盖调整垫片,待总间隙调好后再进行上述调整。

图4-57 制动器总间隙调整

(六)轮距的检查与调整

为了适应不同作业的需要,必须对轮距进行调整。调整时可用千斤顶将机体支起,使轮子离开地面。

前轮轮距的调整通过改变前轴长度的方法来实现有级式调整,辅以翻转轮辐的方法,以进一步扩大调整范围。如图4-58所示,在改变前轮轮距的同时,必须进行前轮前束的检查调整,检查前束的简便方法是:在转向盘处于居中位置时,在前轮正前方、左右轮胎胎面中间或轮胎内侧做一记号,记号的离地高度与车轮中心高度相等,测取两记号间的距离;然后将该记号转到正后方同样高度位置,再次测取两记号间的距离,后一距离与前一距离的差值即为前束值。前束值不正确时可调节转向梯形的横拉杆或双拉杆转向机构的左右纵拉杆的长度来调整。

图4-58 前轮轮距调整法

后轮轮距的调整包括有级式和无级式两种:有级式调整是通过改变轮辐与轮圈的连接位置及翻转轮盘的方法来实现(图4-59)。如泰山-25、上海-50型等拖拉机是有级式调整。无级式调整是通过改变轮毂在驱动轴上的位置来实现(图4-60)。铁牛系列等属于无级式调整。

图4-59 后轮轮距有级调整

图4-60 铁牛-55型拖拉机的后轮调整

1.轮圈 2.轮幅 3.重块 4.螺母 5.螺栓 6.轮毂盖 7.轮毂 8.气嘴 9.轮胎 10.球面垫圈 11.螺钉 12.平键

(七)悬挂机构的检查与调整

1.分置式液压悬挂系统的检查与调整(以铁牛-55C型拖拉机为例)

(1)液压分配器的调整:液压分配器应在专门设备上调整,调整时,应使油液温度控制在65℃±5℃范围内。

①滑阀的自动回位压力为9800~10787kPa。当拧入回位调节螺钉时,回位压力升高;拧出时则降低。

②安全阀开启压力为12747.8kPa+784kPa。当拧入安全阀调节螺钉时,安全阀开启压力升高,拧出时则降低。

(2)液压油缸活塞行程的调整:该机型所用油缸为YG-100型,油缸活塞行程为200mm,为了防止活塞在下降终了时,活塞杆端撞裂油缸下盖,应将活塞行程调至180mm为宜,也可以调到中间位置以实现位置调节。调整时,先将悬挂机构升到最高位置,松开活塞杆上定位卡箍的蝶形螺母,把定位卡箍沿活塞杆移到所需位置,然后拧紧蝶形螺母。

2.整体式液压悬挂机构的调整(上海-50型拖拉机为例)

(1)外拨叉杆的调整:在位调节中,当农具被提升并停留在最高位置时,里手柄1在扇形板上“升”的位置,液压泵控制阀在平衡位置,农具、里手柄和控制阀三者的相对位置是通过外拨叉杆9的位置来实现的。其调整步骤如下(图4-61):

图4-61 内外拨叉杆偏心轮调整

1.里手柄 2.外手柄 3.液压升降机盖 4.外拨叉螺母 5.里拨叉螺母 6.螺母 7.偏心轮 8.里拨叉杆 9.外拨叉杆 10.外拨叉片 11.曲柄 12.升降臂

①松开外拨叉杆9上偏心轮7的固定螺母6。

②将升降臂12放在最高位置,使液压升降机盖3后端与曲柄11之间有5mm的间隙,同时将里手柄1推向“升”的位置。

③拧动螺母4调整外拨叉杆9,使其下端边距支架槽前边为8mm,调好以后,将螺母4锁紧。

(2)偏心轮的调整:农具的快速下降或慢速下降,是通过调整偏心轮的位置来实现的。其调整步骤如下(图4-61):

①升降臂仍放在最高位置。

②里手柄1推向“快”的位置,使外拨叉杆9的下端与支架槽的前边轻微接触。

③拨动偏心轮7,使之与外拨叉片10的前端接触,然后拧紧螺母6。

④慢速下降时,农具、里手柄、控制阀相对位置核对,升降臂仍放在最高位置,将里手柄放在“慢”的位置上,此时外拨叉杆下端前边与支架槽前边相距6mm。

(3)里拨叉杆的调整:运用液压输出时,外手柄2与控制阀的相对位置是通过里拨叉杆8的调整来实现的。里拨叉杆8的调整步骤如下(图4-61):

①将外手柄2推向扇形板上方。

②用扳手拧动螺母4调整里拨叉杆8使其下端边距支架槽前边为20mm,调整好后,将螺母4锁紧。

(4)控制阀摆动杆的调整:

①在液压泵装入后桥壳之前,以旋动螺母1(图4-62)来调整摆动杆2的支点位置,使摆动杆的支点至液压泵后盖3的距离为49mm。

图4-62 液压泵控制阀摆动杆的调整

1.螺母 2.摆动杆 3.后盖

②将液压升降机盖总成和液压泵装入后桥壳后,应通过后桥壳右侧窗孔检查里外拨叉杆与摆动杆的相对位置是否正确,检查前先将里手柄放在“快”的位置上,外手柄放在“深”的位置上,以使里外拨叉杆下端与支架槽的前边接触,这时里外拨叉杆的最下端部分和摆动杆上端的滚轮保持轻微的接触,若不对,应重新调节摆动杆支点位置。

(5)扇形板上,上止点螺栓位置的调整(图4-63):将里手柄1向“升”的方向移动,农具上升到所需要的高度时(注意悬挂臂限动链不得处于紧张状态,否则会引起机件损坏)停住里手柄,将上止点螺栓2移至与里手柄相接触后拧紧固定。再将里手柄向“慢”的方向移动,直到农具下降后将要回升而未回升时,停住里手柄,将下止点螺栓3移至与里手柄相接触后拧紧固定。

图4-63 液压操纵位调节手柄操纵

1.定位调节手柄 2.定位螺钉 3.定位螺钉 4.定位手轮

(6)扇形板上定位手轮的调整:扇形板上有两只定位手轮,各定位手轮调整方法如下:

①农具入土速度选定后,将里手柄1停在与速度相对应的位置上,然后移动定位手轮4与里手柄1相靠并拧紧固定(图4-63)。

②使用力调节耕作时,耕深选定后,将外手柄1(图4-64)停在与耕深相对应的位置,将定位手轮2移至外手柄1槽的中央并拧紧固定。

图4-64 液压操纵力调节手柄操纵

1.力调节手柄 2.定位手轮

(八)履带紧度的检查与调整

履带式拖拉机(东方红-75、802型拖拉机)履带过松,行驶中容易产生履带振跳和滑脱,过紧则增大动力消耗并加速有关机件的磨损,故应及时检查和调整履带的紧度即下垂度。检查调整时将拖拉机停放在平坦的硬地上,取一平直木条置于两托轮上方的履带爪上,测量下垂量最大处的履带爪上端至木条下平面间的距离。如图4-65所示。履带正常的下垂度为30~50mm,这时张紧弹簧的压缩长度是260~265mm(图4-66)。下垂度过大时,可转动张紧螺杆后端的调整螺母,以使导向轮前移而张紧履带。若张紧螺杆已拧到底,而履带下垂度仍然过大时,则应取下一节履带板。

图4-65 检查履带下垂度

图4-66 东方红-75型拖拉机履带张紧装置

1.拐轴 2.耳环 3.成形叉 4.支承压圈 5.调整螺母 6.球形支座 7.螺母 8.张紧弹簧 9.螺杆 10.连轴销

(九)发电机调节器的检查与调整

发电机调节器工作性能是否良好,直接影响对用电设备的供电,因此必须经常注意进行检查和调整。检查前应确保蓄电池与发电机技术状况完好。

直流发电机调节器的检查与调整的技术数据有:逆流切断器的闭合电压和逆电流;电压调节器的调节电压及电流限制器的限制电流。

1.逆流切断器的检查与调整 把发电机和调节器装在电气试验台上,按图4-67接线。

图4-67 发电机和调节器试验线路图

把开关转到A处,接通蓄电池,闭合电闸使试验台的电动机拖动发电机缓慢运转,逐渐提高发电机转速,注意观察电压表指针的指示数值。开始时发电机的电压随转速的增加而逐渐增加,当电压突然下降时,可听到逆流切断器触点闭合的搭声。在将要下降时电压的最大值即为逆流切断器的闭合电压,此值应与规定值相符(表4-4)。否则可调整逆流切断器弹簧3的拉力或动铁上边的限位钩1(图4-68),改变触点打开状态时动铁与铁心的间隙A,使之达到规定值。

图4-68 逆流切断器的调整

1.限位钩 2.静触点支架 3.弹簧

表4-4 调节器的调整数据

逆流切断器的触点闭合后,可将发电机转速略为提高些,电流表应指示充电,然后缓慢降低发电机转速,注意观察电流指针所指示的充电电流值,它将随转速的降低而逐渐减小至零。再降低转速,电流表指针指向放电,当电流表指针突然由放电摆回零点时,说明逆流切断器触点已分开。电流表指示的放电电流最大值即为逆流值,此值应符合表4-4中规定的数值。若不符,可调整静触点支架2(图4-68),改变触点闭合后动铁与铁心的间隙,使之符合要求。

2.电压调节器的检查与调整 接线见图4-67,把负载开关扳至B处,接通滑线电阻,起动试验台电动机,将发电机转速提高到3000r/min,调节滑线电阻,使发电机输出电流(负载电流)为10A,此时电压应符合表4-4中规定数值,如不符则可调节图4-69中弹簧3的拉力或放松螺钉1,调节支架2以改变动铁与铁心的间隙,使之达到规定值。

图4-69 电压调节器和电流限制器的调整

1.螺钉 2.支架 3.弹簧

3.电流限制器的检查与调整 接线方法同检查电压调节器一样,发电机转速仍是3000r/min。减小滑线电阻的阻值,增加负载电流,当发电机电压开始下降时,再继续减小电阻,输出电流几乎不变,这时的电流值即为限流值,此值应符合表4-4的要求。若不符合,则调节电流限制器的弹簧拉力与铁心的间隙,使其达到规定值,其方法与电压调节器相同。

这种调节方法在车上也可以直接进行,不同点仅是发电机由发动机带动,负载要用车上的用电设备。

硅整流发电机调节器一般是触点振动式电压调节器,与上述直流发电机电压调节器的检查调整基本相同。

(十)起动电动机啮合机构的检查与调整

1.驱动齿轮与止推片间的间隙检查与调整 对于电磁式啮合机构应将铁心推到底,使驱动齿轮移到最右端位置(参照图3-36),这时小齿轮的端面与止推片之间应有1.5~3mm的间隙。如不符合可改变铁心与杠杆之间的拉杆长度来调整,拉杆调短间隙变小,反之变大。技术要求是两齿轮全部啮合后,再接通主电路。

2.驱动齿轮安装位置的检查与调整 电动机安装时,驱动齿轮端面与飞轮齿圈端面应保持2.5~3.5mm的距离,如不符合,可在电动机凸缘平面与发动机机座间,加、减垫片调整,以保证齿轮啮合良好。

随便看

 

离鸟网收录3541549条中英文词条,其功能与新华字典、现代汉语词典、牛津高阶英汉词典等各类中英文词典类似,基本涵盖了全部常用中英文字词句的读音、释义及用法,是语言学习和写作的有利工具。

 

Copyright © 2004-2024 vtrois.com All Rights Reserved
更新时间:2026/4/5 16:19:50