网站首页  词典首页


请输入您要查询的字词:

 

字词 天平的种类
类别 中英文字词句释义及详细解析
释义

天平的种类


(一)普通等臂天平 天平是依据杠杆原理设计的,如下图,设一杠杆ABC,B为支点,AB、BC是杠杆的两臂,其长为l1和l2,杠杆两端分别载重质量为m1和m2的物体和砝码,当到达平衡时,作用于两臂的力F1和F2与两臂长l1和l2的关系为:

因F=mg(g为重力加速度)

所以

使B点为杠杆ABC的中点,则两臂相等:

代入上式得:

由上式可知,等臂天平称量达平衡时,物体质量m1等于砝码质量m2。所以,严格地说,天平称量的结果是物体的质量。

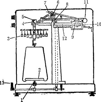
普通等臂天平主要由天平横梁、天平支柱、附属部件及砝码等构成,如图1-1。

图1-1 普通等臂天平构造示意图

1.天平横梁 2.支点刀 3.承重刀 4.吊耳 5.盘 6.指针 7.刻度标牌 8.平衡调节螺丝 9.灵敏度调节圈 10.托叶 11.升降钮 12.托盘 13.天平柱 14.天平足 15.游码标尺 16.游码操纵杆

(二)空气阻尼分析天平 空气阻尼分析天平的结构与普通等臂天平基本相同。但为了提高称量速度,减少称量时天平的摆动,尽快使天平静止,在盘的上部装有两只阻尼器。天平摆动时,两盘上的阻尼器借空气一边压缩、一边膨胀而产生阻尼作用,阻止天平摆动而迅速静止。其结构如下图1-2。

(三)单盘光幕分析天平 单盘光幕分析天平为不等臂的分析天平,又称为自动电光分析天平,如北京产的DT-100型精密

图1-2 空气阻尼分析天平

1.天平横梁 2.游码标尺 3.吊耳 4.指针 5.支刀点 6.刻度标牌 7.盘 8.阻尼器 9.升降钮 10.垫脚 11.感量调节圈 12.平衡调节螺丝 13.游码操纵杆天平,见图1-3。此天平只有一只盘,盘上部悬挂有天平最大载重的全部砝码。梁的另一端,由重锤和阻尼器与天平盘平衡。称量时,盘上加物体,减去与物体等量的砝码,使天平平衡。平衡后减少砝码的重量即为物体的重量。单盘光幕分析天平的优点很多,它因其不须外加砝码,从整数到小数均在下端及光幕屏上以数字表示出来,节省称量时间,且具有极高的准确性。

图1-3 单盘光幕分析天平

1.托盘 2.盘 3.砝码 4.承重刀 5.吊耳 6.感量调节圈 7.平衡调节螺丝 8.支点刀 9.平衡锤 10.阻尼器 11.光学刻度标尺 12.横梁托架 13.升降钮

(四)精密分析天平 精密分析天平的最大载重量为20或30g,感量为0.01mg。此类国产天平有上海产的TG-332A型精密分析天平,还有北京产的WT-2A及WT-2B型精密天平等。近年来,已有自动调零(容器重量可在称量时自动扣除)和快速测出所称物体的近似值等装置的电子天平。

随便看

 

离鸟网收录3541549条中英文词条,其功能与新华字典、现代汉语词典、牛津高阶英汉词典等各类中英文词典类似,基本涵盖了全部常用中英文字词句的读音、释义及用法,是语言学习和写作的有利工具。

 

Copyright © 2004-2024 vtrois.com All Rights Reserved
更新时间:2026/4/8 20:59:13