网站首页  词典首页


请输入您要查询的字词:

 

字词 导轨底座的安装
类别 中英文字词句释义及详细解析
释义

导轨底座的安装


导轨安装后,还需要固定导轨底座,将导轨最下段固定在导轨底座上,并用混凝土浇灌,操作工艺如下:

(1)将导轨底的支承木块(100mm)抽出。如果导轨重量都集中在了支承木块上,那么木块将很难抽出,所以可以在吊装导轨的时候垫砖头来代替木块。

(2)将导轨底座用两件导轨压板固定在最下面一条导轨上。如图4.6-1所示。

图4.6-1 导轨底座

(3)在导轨底座的两个Φ13圆孔内插入M12撞拉式膨胀螺栓。

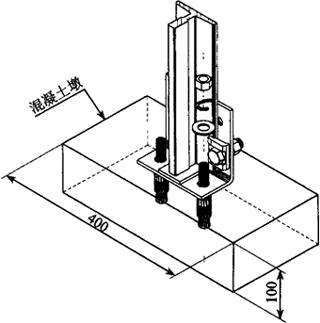
(4)在导轨底座与底坑地面之间捣制混凝土墩,混凝土墩尺寸如图4.6-2所示。

图4.6-2 导轨底座安装示意

(5)混凝土墩捣制2~3d后,将两撞拉式膨胀螺栓紧固。

随便看

 

离鸟网收录3541549条中英文词条,其功能与新华字典、现代汉语词典、牛津高阶英汉词典等各类中英文词典类似,基本涵盖了全部常用中英文字词句的读音、释义及用法,是语言学习和写作的有利工具。

 

Copyright © 2004-2024 vtrois.com All Rights Reserved
更新时间:2026/5/25 7:53:00