(1)原理 由水泵喷出的高速水流,通过射流器内的喷咀,由于高速流体造成的负压,使周围的空气沿着吸气管进入射流器的混合室内,在这里气水混合造成高氧水喷出,由于水流不断喷出,空气不断吸入,动能造成的负压不断存在,所以高氧水源源不断喷出。目前由于气水混合状态欠佳,故增氧效力很低,只是在活鱼运输车上使用,在养鱼中很少采用。
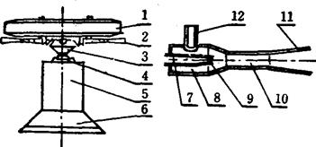
(2)结构 射流增氧机主要由电机、水泵、分水器、射流器和浮体所组成,其结构比较紧凑,见图5-4:

图5-4 射流式增氧机
左——结构图 右——原理图
1.浮圈;2.射流器;3.分水器;4.潜水泵;5.吸水罩;6.滤网;7.进水管;8.接受室;9.喉管;10.混合管;11.扩散管;12.进气管
(3)常用型号和参数 目前仅2.2瓩的Y-SL射流增氧机,其吸气量为50米3/小时,氧气利用率5-20%,其水泵扬程为15米,流量为25米3/小时,射流管为6根。
(4)使用保养
①使用时应和喷水式增氧机一样注意用电安全,检查电线,接线等是否完好,使用一段时间后检查电机绝缘情况。
②使用1500小时后应更换水泵密封,加注新油。
③应经常检查喷口和吸口是否阻塞。
④不用时应吊起,放在干燥通风室内保存。