(1)结构特点 动模设有弹簧二次顶出,见图5-32。

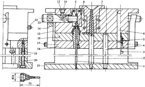
图5-32尼龙1010接头
1—顶杆 2—钩料杆 3—限位钉 4—回程杆 5—弹簧 6—动模导柱 7—注口套 8—型芯 9—小哈夫镶件 10—弹簧 11—顶销 12—水嘴 13—侧型芯 14—拉板 15—定模 16—动模推板 17—螺钉 18—垫板 19—支腿 20—内六角螺钉 21—顶杆
(2)动作原理 开模时,拉板14首先将侧型芯13抽出一定距离L,动模继续移动,拉板14上的斜槽完全脱离侧型芯13。与此同时,型芯8随塑件一起离开定模15,这时弹簧5作用于动模推板16,使件16顶动塑件完成一次顶出。最后由顶杆1将塑件顶出,完成二次顶出。
为加工方便起见,小哈夫镶件9由两半组合而成。
(3)浇口尺寸 宽2.6mm,深为0.46mm。
(4)工艺要点 小哈夫镶件9与定模15按过渡配合装入。