网站首页  词典首页


请输入您要查询的字词:

 

字词 履带拖拉机悬架和支重轮
类别 中英文字词句释义及详细解析
释义

履带拖拉机悬架和支重轮


(一)悬架

悬架装于车架和支重轮之间,将拖拉机的全部重量传给支重轮,并利用弹性元件缓和行驶中的冲击。东方红-75、802型拖拉机采用平衡式弹性悬架,其构造如图4-20所示。主要由一对铰链连接的内、外平衡臂和两根悬架弹簧组成。悬架又称为台车架,将4个支重轮安装在台车架上就组成了支重台车,支重台车装在车架的台车轴上。东方红-75、802型拖拉机共有4台支重台车,承担整个拖拉机的重量。台车架的内平衡臂为短臂,外平衡臂为长臂,它们用摆动轴铰接,二者之间装有2个螺旋方向相反的压缩弹簧;整个台车还可以绕台车轴摆动。当遇到障碍物时,其中一个平衡臂同支重轮一起分别绕摆动轴和台车轴向上摆动,压缩悬架弹簧而升高,如图4-21所示。越过障碍物以后,悬架弹簧伸长,平衡臂和支重轮恢复原位。这样,弹簧的缓冲作用减小了拖拉机的振动。

图4-20 东方红-75、802型拖拉机的平衡式弹性悬架

1.内平衡臂 2.悬架弹簧 3.外平衡臂 4.锁销 5.台车轴 6.止推垫圈 7.摆动轴

图4-21 平衡式弹性悬架工作示意图

1.支重轮轴 2.内平衡臂 3.托盘 4.悬架弹簧 5.外平衡臂 6.支重轮 7.台车轴 8.摆动轴 9.履带 10.障碍物

(二)支重轮

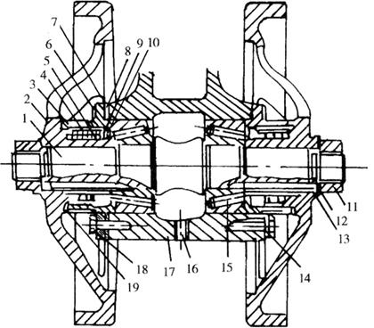
支重轮用来支撑拖拉机的重量,沿着履带轨道滚动,使机身移动,并能防止履带横向滑脱,实现拖拉机的顺利转向。东方红-75、802型拖拉机支重轮的构造如图4-22所示。支重轮轴由两个圆锥滚柱轴承支撑在平衡臂轴孔内,轴承外端安装密封外壳、密封罩、大小密封环、密封弹簧及胶皮圈,防止润滑油漏出和泥土进入,支重轮用平键和螺母固定于支重轮轴的两端。增减密封外壳与平衡臂之间的调整垫片,可以调整支重轮的轴承间隙。

图4-22 东方红-75、802型拖拉机的支重轮

1.支重轮轴 2.支重轮 3.压圈 4.胶皮圈 5.弹簧 6.密封外壳 7.调整垫片 8.小密封环 9.胶皮圈 10.大密封环 11.支重轮螺母 12.止动垫片 13.密封胶圈 14.密封胶圈 15.锥柱轴承 16.放油孔 17.平衡臂 18.螺栓 19.密封罩

随便看

 

离鸟网收录3541549条中英文词条,其功能与新华字典、现代汉语词典、牛津高阶英汉词典等各类中英文词典类似,基本涵盖了全部常用中英文字词句的读音、释义及用法,是语言学习和写作的有利工具。

 

Copyright © 2004-2024 vtrois.com All Rights Reserved
更新时间:2026/4/8 18:25:09