网站首页  词典首页


请输入您要查询的字词:

 

字词 干酪素加工装备
类别 中英文字词句释义及详细解析
释义

干酪素加工装备


1 概述

干酪素加工装备是以脱脂乳为原料,加工干酪素的装备。干酪素是牛乳中的酪朊与磷酸钙结合成的酪朊酸-磷酸的钙盐络合物胶粒,其等电点为pH4.6。工业用干酪素用于塑料、胶合剂、造纸、皮革等加工中,食用干酪素供制造营养食品和医药。

2 干酪素加工工艺

加工干酪素有酸法和凝乳酶法两种工艺,本节主要介绍工业用干酪素酸法加工工艺。加工食用干酪素,脱脂乳需经70~75℃,10~15min杀菌处理,或经95℃的高温短时间杀菌,其余工序可参照工业用干酪素加工工艺(图1-8-26)。

图1-8-26 工业用干酪素酸法加工工艺流程图

2.1 脱脂乳

应是从新鲜优质乳分离出的脱脂乳,其脂肪含量需低于0.03%。

2.2 凝块

脱脂乳中的酪蛋白与磷酸钙能结合成酪蛋白酸钙-磷酸钙的络合物胶粒,其等电点为pH4.6。脱脂乳加酸能使酪蛋白游离析出就是凝块的机理。先将脱脂乳加热,加热温度夏季35~40℃,冬季40~42℃,此温度下点胶,可获得干酪素凝块软硬适中的满意效果。加酸时,先用8倍量的水稀释浓盐酸,后徐徐加入脱脂乳中,同时予以搅拌,酸度到达pH4.6时乳中酪蛋白开始沉淀,后再稍加少量稀盐酸即可。一般用量每100L脱脂乳约需相对密度1.15的盐酸600~650mL。沉淀的酪蛋白颗粒用手捏,手感具有良好弹性时可认为沉淀结束。加酸及凝块在贮乳槽中进行。

2.3 分离

加酸作业后需短时间搅拌,后放掉乳清。

2.4 洗涤、脱水

先注入等量温水洗涤凝块,放出洗涤水后再用冷水搅拌洗涤2次,尽量洗去乳清。最后用离心脱水机脱水。

2.5 破碎

脱水后酪蛋白颗粒大小不均,为方便干燥作业,还需用破碎机破碎。

2.6 干燥

可使用间歇式或连续式干燥机干燥。干燥热风温度应在100℃以下,以防止焦化。经干燥后干酪素含水率应低于10%。

2.7 粉碎、过筛、包装

粉碎用锤片粉碎机,过筛用摆动筛,包装用称量包装机。经粉碎过筛,成品干酪素粒度0.5mm左右,即经30目筛可通过80%以上。

工业用酸法干酪素脂肪含量应不超过1%,灰分不超过1.5%,水溶物不超过0.5%,氮溶为14.5%,水分低于10%。其色泽白色,颗粒0.5mm左右。

3 关键装备

3.1 贮乳槽

贮乳槽用于对脱脂乳进行加酸凝块、分离乳清、洗涤脱水等多项操作。通常用卧式贮乳槽,其外套夹层可以通入热水来控制槽中物料的温度,参见本章第1节。

3.2 离心脱水机

离心脱水机用于对洗涤后的干酪素凝块进行离心脱水,可采用间歇运转的三足离心机,参见第1篇第15章第2节。

3.3 单辊破碎机

用于破碎经脱水作业后大小不均的酪蛋白结块,单辊破碎机结构原理如图1-8-27所示。带齿的辊子4和砧板3之间形成破碎腔。由于辊子的转动,对进入腔内的酪蛋白结块进行挤压、剪切和劈碎等联合作用,使其破碎,并从下方排出。砧板3上端悬挂在心轴2上,下端置于支座1内。支座1通过螺杆与弹簧相连,一旦有硬杂物进入破碎腔,可以自动加大排料口将杂物排出,从而防止破碎机机件损坏。

图1-8-27 单辊破碎机结构原理示意图

1-支座 2-心轴 3-砧板 4-辊子 5-弹簧 6-机架

3.4 干酪素干燥器

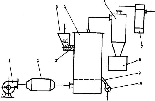
干酪素干燥可用单层沸腾床干燥器,其干燥流程原理如图1-8-28所示。湿物料从料斗4加入,经加料器3进到干燥室5中。风机1鼓入空气在加热器2得到加热,成为热风引进干燥室5的底部。干燥室内湿物料颗粒在沸腾状态下被干燥后,经卸料管9、卸料器10出料。换热后的热风废气经旋风分离器6、布袋过滤器7收集粉尘后排出。

图1-8-28 单层沸腾床干燥示意图

1-风机 2-加热器 3-螺旋加料器 4-料斗 5-干燥室 6-旋风分离器 7-布袋过滤器 8-粉尘料斗 9-卸料管 10-卸料器

3.5 锤片粉碎机

锤片粉碎机用于粉碎干燥后的酪蛋白,使其满足干酪素成品颗粒粒度0.5mm左右的要求。锤片粉碎机参见第1篇第13章。

3.6 摆动筛

摆动筛用于对粉碎后的干酪素粉进行过筛,使其颗粒大小符合要求,摆动筛筛面取30目。

3.7 干酪素包装需用供袋充填包装机及封袋机

参见第2篇第6章。

随便看

 

离鸟网收录3541549条中英文词条,其功能与新华字典、现代汉语词典、牛津高阶英汉词典等各类中英文词典类似,基本涵盖了全部常用中英文字词句的读音、释义及用法,是语言学习和写作的有利工具。

 

Copyright © 2004-2024 vtrois.com All Rights Reserved
更新时间:2026/4/7 22:17:50