网站首页  词典首页


请输入您要查询的字词:

 

字词 成型设备
类别 中英文字词句释义及详细解析
释义

成型设备


低沸点液体型发泡塑料的加工设备较化学发泡塑料更为复杂。这是因为这种发泡剂需在一定压力下于特定位置泵送进挤出机。另外,随着发泡剂的加入,发泡剂又能起到增塑作用从而使熔体粘度大幅度降低。结果,为了提高入口处的熔体粘度须进行充分冷却,而在此通过气体的不断逸出形成泡孔。冷却方式多种多样,发泡设备也依此进行设计。

(一)生产过程

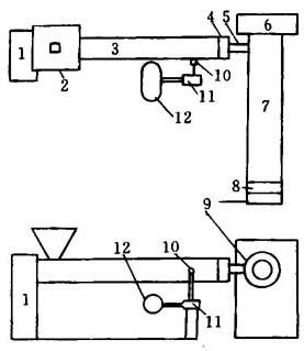
图16-9为一种这类设备的示意图。在这种设计方案中,两台挤出机串联排列。第一台挤出机用于物料的塑化。挤出的熔体通过输送管进入第二台挤出机。该挤出机较大。相当于一台熔体泵。在塑化挤出机的最后一段,将发泡剂泵送进机筒并与塑料混合,塑化挤出机的螺杆配备有混料段,通过注入点将发泡剂混入树脂。

图16-9 物理泡剂双级挤出发泡机组排列结构

1、6-传动系统 2-料斗 3-小型塑化用挤出机 4-过渡接头 5-熔体连接器 7-大型热交换挤出机 8-机头过渡接头 9-口模 10-止逆阀 11-计量泵 12-发泡剂贮槽

熔体泵实际上为一台大型挤出机,其螺杆螺槽很深。结果,在这台挤出机中,螺杆转速很慢,熔体所受的剪应力也很小。这样就可减轻在第二台挤出机中因剪切热的影响而须充分冷却的负担。机筒温度低,会降低入口处的熔体温度,这样可保证熔体具有一定的粘度,提高泡沫制品的质量。口模位于第二台机,即泵送冷却机的出口段。

(二)发泡用单螺杆挤出机及其特点

所有单螺杆发泡挤出机与塑化单螺杆挤出机有一个共同点。这就是在螺杆的计量段的过渡处加上混炼元件,见图16-10。如图16-10所示,此混炼元件由鱼雷体与销钉段构成,鱼雷体与料筒的间隙为0.381~1.143mm。这样可防止未塑化的颗粒进入计量段,销钉段可以进一步提高熔体的均匀性。经实践使用证明,这对提高发泡料的均匀性很有效。

图16-10 注入发泡溶剂单螺杆挤出机混炼段

1-螺杆计量段 2-密封段 3-混炼段 4-混炼销钉

所有低沸点液体型发泡体系的另一个特性是在发泡剂注入机筒的注射点处安装了一个控制阀。其典型结构如图16-11所示。其作用有二:一是防止物料从机筒中泄漏。二是物料在与发泡剂供应装置相连接注入段时,降低发泡压力。因此,控制阀必须使压力快速降低,克服料流阻力,并能方便快捷地对回流进行清理。

图16-11 低沸点液体发泡的泡沫塑料生产线溶剂注入孔球形止回阀设计

1-发泡剂注入点 2-导滑槽 3-止回阀 4-密封面 5-与止回阀相配面

(三)挤出机其它装置

在低沸点液体型发泡体系中,除了串联挤出机外,也可采用其它装置。但对挤出装置最根本的要求是能对发泡剂进行混合,并使溶剂化物在适当温度下发泡时可充分冷却。图16-12即为其中的一例。这是一种特长型挤出机,冷却段的螺槽较深,但这种设备由于螺杆尺寸的缘故,其生产量较低。结果,在整个加工长度内螺杆转速均相同。从而产生一定的熔体剪切热。螺杆应具有深螺槽、大螺旋角。另外在有些场合,设计成双螺杆以降低剪切热效应。螺杆转速将使发泡塑料的冷却量受到限制。

图16-12 物理发泡剂注入单级挤出机伸长料筒

1-传动系统 2-料斗 3-塑化区 4-混合区 5-冷却区 6-口模 7-发泡剂贮罐 8-计量泵 9-止逆阀 10一屏障段

另一种单机挤出系统在加工过程中的热交换段采用静态混炼装置。这种静态混炼器不会产生显着的熔体剪切热,在熔体与机筒壁相接触的许多段的混炼作用可有效地冷却熔体。其长度约为料筒直径的6~8倍,见图16-13。在小型挤出机中常采用这种结构。在大型挤出机中采用静态混炼器并不能有效解决问题。这是由于随着料筒直径的增大,热散失区也会成比例地增多,与此同时,物料的冷却效果也会得到相应提高。因为料筒壁能控制热散失面积。大型挤出机的机筒很长,静态混炼器的直径也须相应增大。在相同的产量下,直径增大一倍。静态混炼器的直径并不须相应增大一倍。结果,在适当的冷却速率下,静态混炼器长度应为挤出机料筒直径的12~18倍。

图16-13 使用静态混合器作为热交换器的发泡剂注入挤出机

1-传动系统 2-料斗 3-塑化段 4-阻流区 5-止回阀 6-混炼段 7-静态混合器 8-口模 9-发泡剂贮罐 10-计量泵

另一种解决问题的措施是在挤出机头附近安装一特殊的热交接装置,低沸点液体发泡法挤出发泡生产线中的交换板如图16-14所示。(摘自美国专利4,222,729号)。采用这种带径向物料通道的热交换器,可以在挤出机较短的空间内获得很高的散热效率,见图16-15。它可以单独使用,也可与小型静态混炼器并用来减小温度波动。另一种管型热交换器已用于某些难以清理的聚烯烃材料的加工中。

图16-14 低沸点液体发泡法挤出发泡生产线中交换板

1-径向分流块 2-径向分流孔 3-轴连接孔

图16-15 用低沸点液体发泡法挤出泡沫塑料生产线板式热交换器装配图

1-径向分流块 2-径向分流孔 3-轴向连接孔

具有低剪切特性的双螺杆挤出机也可用于泡沫塑料的挤出。采用具有适当塑化长度的挤出机以及发泡剂注入后可对其进行冷却的滞留装置,双螺杆挤出机可以在同一台机器上进行成型。图16-16为这种结构的示意图。图中显示出了发泡剂进入机筒的点的位置,而螺杆旋转方向相反。为了塑化与冷却的充分进行,挤出机长径比(L/D)大约为20甚至更高。双螺杆挤出机中有一排气段。但其详细结构并未给出。

图16-16 双螺杆注入溶剂挤出机结构

1-传动系统 2-喂料器 3-料斗 4-塑化段 5-阻流段 6-混合段 7-冷却段 8-口模 9-止回阀 10-计量泵 11-发泡剂贮罐

为了掌握这种设备的技术要求,有必要弄清此溶剂发泡阶段的工艺流程,如图16-17所示。该系统中的每一单元操作均有一相应的装置与其对应。由图16-17可知,气体、低沸点液体都必须经过增压装置,再由计量泵从挤出机的注入点注入;而挤出机在加入树脂后进行塑化,塑化的树脂经过限流密封处(此处的作用是防止气体、液体发泡剂从料斗处逸出)后,就注入发泡剂,再经过混合段将气体与树脂混合均匀,再经过热交换器达到所需要的温度后,即可从口模挤出发泡。

图16-17 注入气体、低沸点液体挤出发泡工艺流程图

发泡剂的注射-泵送系统与所有挤出发泡系统均类似。其典型结构如图16-18。该装置包括一个带有增压器的发泡剂贮存罐,将发泡剂输送到计量泵。计量泵通常采用活塞型的油填充式间隔泵。可将压力升至69MPa。泵的输送速率可通过调节泵的叶片方向或改变泵速来控制。实际上是利用叶片调节装置进行范围的设置及调节马达速度来设置发泡剂的输送速率。为了达到所需的压力。需要有读取机头压力和入口压力的仪表,减少回流的控制阀,测量输送速率的流量计及保证安全的破裂盘,因为在发泡线上障碍物的存在会导致过量压力的产生。

图16-18 发泡剂注入系统

1-已加压发泡剂贮罐 2-增压器 3-高压表 4-流量计 5-安全装置 6-电机控制器 7-传动装置 8-变速箱 9-充油隔膜式高压计量泵 10-低压表 11-阀 12-止回阀

在只作很小变动的情况下,该系统可以采用异戊烷、氟里昂及二氧化碳作发泡剂。由于异戊烷易燃、易爆、故整个系统、包括挤出机必须能抗爆。若采用固态二氧化碳(干冰)需对系统进行改进,并达到绝热、以防止在泵的进料系统产生速度的蒸发压力。

树脂与发泡体系的其它组分之间的混合可采用干混或热混方式。在热混过程中,如何防止树脂的过早发泡尤为重要。因此,混合温度必须低于化学发泡剂的分解温度。对乙烯基类泡沫塑料来说,为了使预发泡的可能性降至最小,目前常采用干混的方法。就聚烯烃及聚苯乙烯而言,采用干混或含有发泡剂的浓缩物是掺混CBA的最佳方法。由于发泡剂的用量较少,(通常低于10%),因此常采用辅助混合措施。如在干混设备中加入白色无机矿物油。

树脂经混合后加入挤出机,在机筒中于适当的熔融温度下(可使CBA完全分解)挤出。当挤出物挤出口模后,即发泡成泡沫制品,化学发泡剂在使用中存在着许多明显的不足。其中一点就是,当发泡剂完全分解后会残留一些有机物,它们对制品的物理性能有着不良的影响。另一个问题是发泡剂的用量有一定的限度。也就是,泡沫塑料能够达到的最低密度是有限度的。通常,采用化学发泡剂时,泡沫塑料的密度最低只能达到0.25g/cm3左右。

在适当的加工温度下,采用化学发泡剂的泡沫塑料具有发泡均匀、泡孔细密的特点。另一方面,适用树脂种类多,所需设备简单。如家具、墙纸、画框等制品在适当的挤出速率下均可采用CBA挤出发泡。化学发泡体系的另一个优点就是能制备出强度高而致密的表层。

随便看

 

离鸟网收录3541549条中英文词条,其功能与新华字典、现代汉语词典、牛津高阶英汉词典等各类中英文词典类似,基本涵盖了全部常用中英文字词句的读音、释义及用法,是语言学习和写作的有利工具。

 

Copyright © 2004-2024 vtrois.com All Rights Reserved
更新时间:2026/5/31 23:45:13