网站首页  词典首页


请输入您要查询的字词:

 

字词 成型零件的导向及定位
类别 中英文字词句释义及详细解析
释义

成型零件的导向及定位


注射模具的动、定模开合模运动的导向,主要依靠装在模架上的导柱导向机构。除此之外为了成型高精密度的塑件,注射模具的其它零部件还需要通过自身的结构来保证其在模具的开、合模运动中的精确定位和导向。如型芯和型腔的精确定位,滑块和型芯的精确定位,滑块本身的精确导向等问题。

4.7.2.1 型芯和型腔的精确定位

有些筒形塑件,如图4-145所示,采用一般设计时,待模具使用到一定时候,由于模架上的导向机构经长期使用受到磨损而间隙扩大,造成筒壁S处的严重不均匀。所以在模具开始设计时,就应考虑其二次精确定位。该设计是将定模板1和推板嵌件2成锥体配合,其锥度为10°~15°。型芯5和浇口套3在主流道处也采用锥体配合,分流道和浇口直接设计在型芯5上,这样使型芯两端受到固定,在注射时不会受到注射压力的影响使型芯偏斜,从而保证了塑件的精度。

图4-145 型腔和型芯的精确定位

1一定模板 2—推板嵌件 3—浇口套 4—滑块 5—型芯

图4-146为型芯和型腔精确定位的另一种形式。塑件内孔φ26的精度要求较高,特别是底部六个凸爪处。动模1必须与定模型芯3直接插合,才能保证塑件的精确形状。倘若只采用一般的模架导向机构,型腔和型芯处很容易被拉伤,零件在拉伤处产生毛刺,影响塑件的质量。所以必须在定模型芯3的顶端增加一段精密导向部分,在合模时使定模型芯3顶端与动模导向套2首先配合进行导正定位,然后在φ26处再与动模型腔1配合,从而避免了该处拉伤。

图4-146 型腔和型芯精确定位的形式

1—动模型腔 2—动模导向套 3—定模型芯

4.7.2.2 滑块和型芯的精确定位

图4-147为滑块和型芯精确定位形式。该模具用来注射微型骨架塑件,塑料为POM,一模12腔,该模具的主要特点是中间型芯1仅有2.2mm长、0.8mm宽。为了保证中间型芯1在注射时的可靠性,设计时用左右滑块4将其紧紧夹在中间,滑块4是由左右型腔板各三块将其固定在左右滑块座3上,在左右滑块4的两侧有定位销2、5,它主要用于左右滑块4在合并时的二次定位,防止型腔部分在分型面上错位。注射时,塑料熔体经分流道进入垂直分流道(一圆柱体,在左右滑块4的分型面上),从浇口处至型腔。左右滑块4靠导向装置7固定在推板上。开模时,左右滑块4受斜导柱作用滑向两边,塑件随即脱出型腔,但仍留在中间型芯1上,顶出时,推杆板推动复位杆再顶动推板6,固定在推板6上的推板嵌件8将塑件连同浇注系统凝料一起推出模外。

图4-147 滑块和型芯精确定位形式

1—中间型芯 2、5—定位销 3—左右滑块座 4—左右滑块 6—推板 7—导向装置 8—推板嵌件

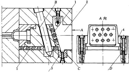
4.7.2.3 滑块本身的精确导向

图4-148为滑块精确导向的形式。其主要特点是斜导柱与斜孔的配合处B一定要有0.5mm以上均匀的孔隙,绝不允许在模具闭合时斜导柱和滑块之间有碰撞现象产生。件1是两块减小摩擦垫块,采用青铜制造,在垫块上加工出很多小孔,孔中压入粉末冶金小柱,使它能吸收润滑油,垫块之一固定在动模板上,另一块固定在滑块上,使滑块在滑动时减小摩擦。斜楔2在设计上采用在C处与锥形槽嵌件3配合,使滑块能够承受更大的型腔压力。侧向压板4在D处嵌入动模板内。采用上述设计结构一方面可提高成型塑件的精度,另一方面可大大延长模具的使用寿命。

图4-148 滑块自身的精确导向

1—减小摩擦垫块 2—斜楔 3—锥形槽嵌件 4—侧向压板

随便看

 

离鸟网收录3541549条中英文词条,其功能与新华字典、现代汉语词典、牛津高阶英汉词典等各类中英文词典类似,基本涵盖了全部常用中英文字词句的读音、释义及用法,是语言学习和写作的有利工具。

 

Copyright © 2004-2024 vtrois.com All Rights Reserved
更新时间:2026/4/7 2:01:29