网站首页  词典首页


请输入您要查询的字词:

 

字词 挤管机头
类别 中英文字词句释义及详细解析
释义

挤管机头


管机头按结构分,可分为:普通管机头、口模和分流器从机体两端装入的管机头、真空定径管机头、组合式管机头、内径定径管机头、双管机头、微孔流道管机头、钢管复合机头、流道带转换阀的管机头、塑料金属弹簧管包覆机头等等。这些机头的详细结构见参考文献2。

挤管机头可分为直通式机头、直角式机头(也称为弯机头)和侧向型机头(也称为旁侧式机头)三种,分别见图6-3、图6-4与图6-5。

图6-3 直通式挤管机头的结构图

1-机头法兰 2-机头连接圈 3-分流器及支架 4-压缩空气管 5-模体 6-调节螺钉 7-口模 8-口模压圈 9-芯模 10-电热圈

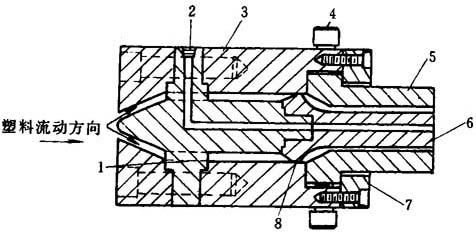
图6-4 直角式挤管机头的结构图

1-料流 2-机头法兰 3-模体4-电热偶插入口 5-芯模加热器 6-芯模 7-加热器 8-调节螺钉 9-固定外径套用螺栓 10-电热偶插入口 11-口模圈 12-加热器

图6-5 侧向型挤管机头的结构图

1-料流 2-机头法兰 3-温度计插入口 4-芯模加热器 5-电热偶插入口 6-电热偶插入口 7-口模圈 8-芯模 9-电热圈 10-调节螺钉 11-模体 12-电热圈 13-熔体电热偶

直通式机头具有结构简单、制造容易、成本低,料流阻力小等优点,适用于生产小口径管材;但也有只能生产外径定径管材、芯模加热困难及定型段较长分流器支架产生的熔合纹较难消除等缺点。

直角式机头对于大、小口径的管材均可生产,也能生产电线电缆类制品,具有芯模加热容易及定型段较短等优点;但也有结构复杂、制造成本高、料流阻力大等缺点。

侧向型(亦称为偏置式)机头与直角式机头的特点基本相同,制品沿挤出机轴向移动,可用真空定径法和芯模定径法定径;但料流阻力稍小。

决定使用哪种形式的管机头的第一影响因素是挤管用的塑料种类。例如,像RPVC这样的热敏性和流动性差的塑料,就不能采用芯棒带有螺旋沟槽的管机头。决定使用哪种形式管机头的第二位影响因素是定径方式。在大多数场合下,管材使用内部芯模或外部管壁的冷却装置定径。如果使用了内部芯模冷却,为了芯模与芯模架之间的配合,需要直角式或偏置式模头。如果使用真空定径装置控制管材尺寸,可选用直通式或所用的偏置式模头之一。在大多数场合下,直通式模头是较好的,因为这种模头对于热敏性塑料降解的可能性较少。这种形式的流道可以减少压力降并可得到高产率下的均匀性。

当管机头的结构一旦确定后,控制装置和制模材料也是要考虑的因素。

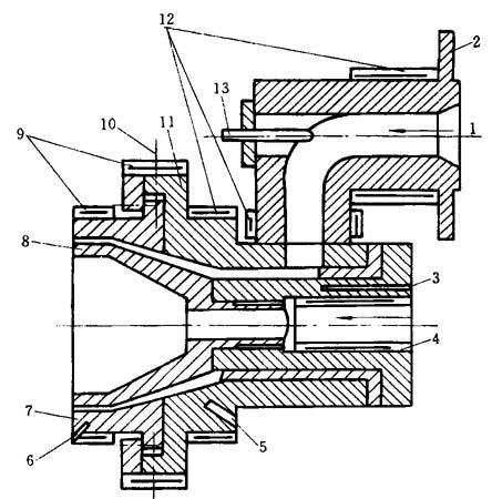
可移动芯模管材机头透视图见图6-6。此机头中心的芯模支架是可移动的。在此图中,

图6-6 可移动芯模管材机头透视图

1-口模 2-芯模 3-支架 4-模体 5-空气进入 6-调节螺钉

支架的结构可以看得很清楚。图还表明:空气入口孔是钻在芯模支架的一条腿上。机头中流道近似于流线型。这种机头的优点之一是减少支架腿的流动效应。优点之二是成型宽范围管径可使用此机头。此图还表明:电热圈控制机头的温度,用放置在机头中的温度敏感的热电偶式的高温计来控制的。

带有阻流效应的直通式管机头结构见图6-7。

图6-7 带阻流效应的直通式机头结构

1-分流梳 2-开始供给空气 3-模头体 4-口模调节螺钉 5-模头外口模 6-模体芯棒 7-挡圈 8-流动阻碍

在此图中,部分塑料的流动控制在流动效应最小的支架腿处。在这种机头结构中,部分塑料受阻,通过支架后有相当长的直流道。这类机头对于挤出聚烯烃塑料很有效。机头中储存大量的塑料,对于像RPVC或POM那样的热敏性塑料是不适应的。

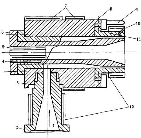
薄壁管材机头结构见图6-8。

图6-8 薄壁管材机头的结构图

1-较短的成型段 2-外部模头口模 3-外部口模调节螺钉 4-流动受阻处 5-塑料进入 6-扩张器环 7-模头体 8-加热圈 9-内部芯模

用醋酸纤维素、醋酸丁酯或其它纤维素塑料制造薄壁管材很困难。此机头就是针对这种用途专门设计的。此机头的管材的定型段相当短,通常是壁厚的10倍。用纤维素塑料挤出的管材,其表面非常光滑。

挤出小规格的管材,机头是直接安装在挤出机上的。对于大规格的管材,机头很沉重,只有支撑在机头支撑架上,才能进行操作。用机头支撑架,可移动机头到位。

随便看

 

离鸟网收录3541549条中英文词条,其功能与新华字典、现代汉语词典、牛津高阶英汉词典等各类中英文词典类似,基本涵盖了全部常用中英文字词句的读音、释义及用法,是语言学习和写作的有利工具。

 

Copyright © 2004-2024 vtrois.com All Rights Reserved
更新时间:2026/4/9 22:02:12