网站首页  词典首页


请输入您要查询的字词:

 

字词 斜导柱分型抽芯机构
类别 中英文字词句释义及详细解析
释义

斜导柱分型抽芯机构


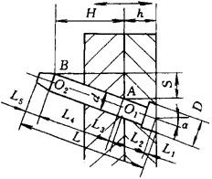
4.6.1.1 斜导柱长度和最小开模行程计算

斜导柱的长度由抽拔距、斜导柱的直径及其倾斜角的大小确定。

抽芯方向与开模方向垂直时,其长度计算如下(见图4-98):

式中 L——斜导柱总长度(mm)

D——斜导柱固定部分大端直径(mm)

h——斜导柱固定板厚度

d——斜导柱直径(mm)

α——斜导柱的斜角(°)

其中L4=S/sinα称斜导柱有效长度;L3+L4称斜导柱伸出长度;L5称斜导柱头部长度,常取(10~15)mm,也可取截锥长度为d/3,半球形头取d/2。完成抽拔距S所需的最小开模行程H由下式计算:

H=S·ctgα (4-25)

图4-98 斜导柱长度与开模行程

4.6.1.2 斜导柱直径的确定

滑块受力可简化为平面汇交力系。当滑块高度为其在导滑槽内滑动面宽度的2/3以内时,简化所引起的误差小于10%。

当滑块运动方向垂直于开模方向时,滑块的受力如图4-99所示。图中N为斜导柱施加的正压力(它可使斜销弯曲),Q'为抽拔阻力,p为导滑槽施加的压力,F1是斜导柱与滑块之间摩擦阻力,F2是导滑槽与滑块之间摩擦阻力。经过力平衡方程的推导,可得斜导柱承受的弯曲力计算式如下:

图4-99 滑块受力示意图

式中 N——斜导柱所受弯曲力(N)

Q'——抽拔阻力(N)

φ——摩擦角(°),tgφ=f

f——钢材之间摩擦因数,通常取0.15

α——斜导柱的斜角(°)

斜导柱的直径由它所承受的最大弯曲力决定。按斜导柱所受最大弯曲应力小于许用弯曲应力的原则,可得斜导柱直径计算公式如下:

式中 d——斜导柱直径(mm)

Kf——无量钢系数,由表4-19选取

Q'——抽拔阻力(N)

S——抽拔距(mm)

[σ]ω——斜导柱材料的许用弯曲应力(MPa)

表4-19 Kf随θ的变化关系(f=0.15)

注 带*号者尽可能不用。

4.6.1.3 斜导柱分型抽芯机构的结构形式

(1)斜导柱在定模,滑块在动模如图4-100所示为广泛用于动模边侧向分型与抽芯。图4-101所示为动、定模双重锁紧,开模过程中斜导柱3驱动滑块4完成侧抽芯。图4-102为斜导柱驱动内侧抽芯。图4-103为侧向分型运动滞后于开模运动的情况。

图4-100 斜导柱抽芯机构

1—锁紧块 2—斜导柱 3—滑块 4—侧型芯

图4-101 双重锁紧的斜导柱抽芯机构

1—挡块 2—锁紧块 3—斜导柱 4—滑块 5—侧型芯

图4-102 斜导柱内侧抽芯机构

1—弹簧 2—滑块 3—斜导柱

图4103 斜导柱侧向延迟分型

图4-104为滑块浮动式斜导柱侧向抽芯机构。开模过程中,斜导柱2在完成δ间隙的空行程接触滑块1时,并未开始抽芯动作,而是将滑块1拔动浮起,当限位螺钉7起限位作用时,则开始进行侧向抽芯动作,直至使型芯3脱出塑件,使其自动落下。

图4-104 滑块浮动式斜导柱侧向抽芯机构

1—滑块 2—斜导柱 3—型芯 4—套筒 5—定模镶块 6—动模镶块 7—限位螺钉 8—滑块座

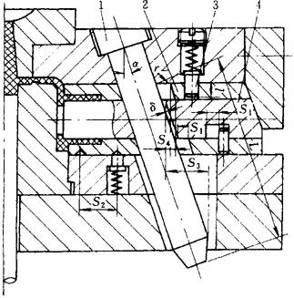
图4-105为斜导柱二级抽芯机构。由于塑件侧面需侧抽芯的部位为薄壁盒形,为防止抽芯时制件侧壁被夹变形或损坏,因此采用二级抽芯。开模时,斜导柱1先带动内滑块4向内侧抽芯,此时止动销3限制外滑块2的抽芯动作,当抽至S1距离时,斜导柱开始带动外滑块对制品外形部分进行抽芯。

图4-105 斜导柱二级抽芯机构

1—斜导柱 2—外滑块 3—止动销 4—内滑块

(2)斜导柱在动模,滑块在定模如图4-106所示。开模时,在弹簧3的作用下,模具首先沿A面分型,斜导柱1驱动定模滑块2抽芯,当侧型芯完全抽出后,由限位钉4限位,模具沿B面分开,塑件包紧型芯脱出凹模,最后由顶杆顶出。

图4-106 斜导柱定模抽芯

1—斜导柱 2—滑块 3—弹簧 4—限位钉

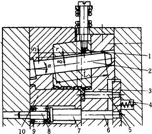
图4-107为型芯浮动式斜导柱定模抽芯。开模时,在弹簧的作用下首先沿A面分型,由于制品对型芯7具有足够的包紧力,致使型芯7相对于动模浮动一段距离,同时斜导柱8驱动滑块10完成侧抽芯,继续开模制品随型芯带到动模,最后由推件板4顶出。

图4-107 型芯浮动式斜导柱定模抽芯机构

1—定模座板 2—凹模 3—导柱 4—推件板 5—型芯固定板 6—支承板 7—型芯 8—斜导柱 9—锁紧块 10—滑块 11—定位钉 12—弹簧

图4-108为无须设置推出机构的例子。斜导柱与滑块间有较大的间隙(C=1.6~3.6mm),故动、定模先分开距离D()之后,滑块才分型。此时滑块已带动塑件脱离动模型芯,然后人工取出塑件。

图4-108 无须设置推出机构的斜导柱定模分型机构

图4-109为定模设推出机构的例子。开模时,由于滑块1与斜导柱2之间有间隙,此时型芯10脱离制品,消除制品对它的包紧力,继续开模在斜导柱2的作用下,完成侧抽芯,此时制品留在定模板中,并由推杆5在弹簧4的作用下推出制品。由复位杆6、压杆7、挡销8和弹簧9组成的系统,其作用是,在滑块1未完全脱离制品时抑制推件杆5的运动,合模时使推杆5复位。

图4-109 定模设推出机构的斜导柱定模抽芯机构

1—滑块 2—斜导柱 3—定模板 4—弹簧 5—推杆 6—复位杆 7—压杆 8—挡销 9—弹簧 10—型芯

(3)斜导柱和滑块同在定模如图4-110所示。开模时由于摆钩6的连接作用,使模具首先沿A面分型,同时斜导柱驱动滑块2完成外侧抽芯,继续开模,摆钩6碰到压块8,使摆钩6失去连接作用,同时定距螺钉5限位,模具沿B面打开,塑件被带到动模,最后由推件板1将塑件推出模外。

图4110 斜导柱和滑块同在定模的结构

1—推件板 2—滑块 3—推杆 4—型芯 5—定距螺钉 6—摆钩 7—弹簧 8—压块

图4-111为斜导柱和滑块同在定模抽内侧型芯的例子。开模时在弹簧2的作用下,模具首先沿A面分型,此时斜导柱驱动滑块4完成内侧抽芯,继续开模由限位钉1限位模具沿B面分开,塑件被带到动模,最后由推杆推出。

图4-111 斜导柱和滑块同在定模抽内侧型芯的机构

1—限位钉 2—弹簧 3—斜导柱 4—滑块

(4)斜导柱和滑块同在动模如图4-112所示。滑块1装在推件板2的导滑槽内,开模后,推件板2在推杆3的作用下,使塑件脱离主型芯的同时,滑块1受斜导柱的驱使沿推件板2上的导滑槽向外运动,完成外侧抽芯,即塑件脱模与滑块抽芯同步进行。

图4-112 斜导柱和滑块同在动模

1—滑块 2—推件板 3—推杆 4—锁紧块

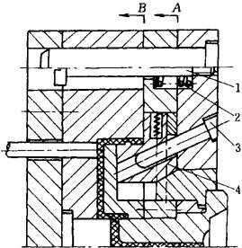
图4-113为动模边顺序分型内侧抽芯的结构形式。开模时由于弹簧4的作用,动模首先沿A面分型,斜导柱2驱动滑块1完成内侧抽芯,此时限位钉5限位模具由B面打开,塑件被带到动模,最后由推件板脱出模外。

图4-113 动模边顺序分型内侧抽芯机构

1—滑块 2—斜导柱 3—锁紧块 4—弹簧 5—限位钉

随便看

 

离鸟网收录3541549条中英文词条,其功能与新华字典、现代汉语词典、牛津高阶英汉词典等各类中英文词典类似,基本涵盖了全部常用中英文字词句的读音、释义及用法,是语言学习和写作的有利工具。

 

Copyright © 2004-2024 vtrois.com All Rights Reserved
更新时间:2026/4/9 10:21:10