网站首页  词典首页


请输入您要查询的字词:

 

字词 样板制作
类别 中英文字词句释义及详细解析
释义

样板制作


由于电梯采用无脚手架施工工艺,导轨是在轿厢安装后进行安装,所以样板线的放置和导轨校正都与传统的施工不一样。下面介绍无脚手架安装工艺中的样板制作方法。

由于样板线主要是作为导轨安装的依据,这里读者为了便于理解,可以参阅本章下一节关于导轨校正部分的内容。

样板放置前,必须进行井道测量。测量的方法与有脚手架施工是一致的,不过由于井道内无脚手架,容易发生坠落危险,所以测量人员必须要站立在厅门口护栏外进行测量,绝对不允许在测量时进入护栏内或者移开护栏。

顶层样板的架设分两种。有机房电梯的建议在机房地面上架设顶层样板,然后利用机房地面预留孔放置样板线;而无机房电梯的则可以利用顶层工作平台,在井道顶端固定。

由于施工中电梯轿厢与对重要上下运行,所以要求样板架、样板都必须安装牢固,不可脱落。

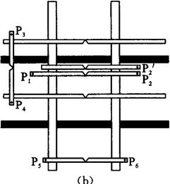
根据施工工艺的要求,无脚手架施工需要放置10条样板线,门口线2条;轿厢导轨与对重导轨各4条线。典型的样板线放置方法如图12.3-2所示。

AB=CD=(DBG)+2×(62)-2×(aA) AB-样线的距离,测量正对的垂直位置 DBG-产品布置图上所示的导脸间距 aA-样线和导轨背面的距离,没有固定的数值,由现场实际的情况确定。(例如:由于钢筋混凝土墙面的突出物,样线很可能需要轻微地移动,因此aA不能确定)

P1-轿厢导轨 P2-轿厢导轨 P2′-轿厢导轨支架矫正点 P3-对重导轨 P4-对重导轨 P5-门口地坎 P6-门口地坎

图12.3-2 曲型样板线放置方法

样板和样板线的其他要求与有脚手架工艺相同,这里就不再多介绍了。

随便看

 

离鸟网收录3541549条中英文词条,其功能与新华字典、现代汉语词典、牛津高阶英汉词典等各类中英文词典类似,基本涵盖了全部常用中英文字词句的读音、释义及用法,是语言学习和写作的有利工具。

 

Copyright © 2004-2024 vtrois.com All Rights Reserved
更新时间:2026/4/8 12:35:15