网站首页  词典首页


请输入您要查询的字词:

 

字词 检查井道相关尺寸
类别 中英文字词句释义及详细解析
释义

检查井道相关尺寸


检查的内容包括:牛腿、门口、预埋件等。

牛腿 为了安装电梯候梯厅的门槛,建筑物地面向井道内侧延伸突出的部分,如图3.7-1所示。检查牛腿能否允许层门地坎的安装以及安装后能否保证层门地坎到门口样线的基本尺寸是否符合图纸要求。

图3.7-1 门口样板检查示意

门口宽度、高度 井道厅门口预留的宽度和高度要大于门的真实宽度和高度50mm以上。

按照放置好的样板线,按照图纸检查所有层门的宽度、高度,门口线、导轨距离,底坑深度、顶层高度;对于发现不符合的土建尺寸,应该马上联系甲方,尽快解决。

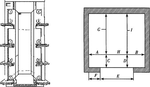
为了保证施工的准确性,最后还要如图3.7-2所示,使用门口两条地坎样线来检查每层井道的各项尺寸,保证样线和井道在施工标准之内。建议在测量的同时,填写样线测量表(表3.7-1)来记录测量的结果。

表3.7-1 样线测量表

图3.7-2 放线检查示意(测量)

按照图3.7-3所示,测量井道高度各项尺寸。

图3.7-3 井道高度尺寸测量

随便看

 

离鸟网收录3541549条中英文词条,其功能与新华字典、现代汉语词典、牛津高阶英汉词典等各类中英文词典类似,基本涵盖了全部常用中英文字词句的读音、释义及用法,是语言学习和写作的有利工具。

 

Copyright © 2004-2024 vtrois.com All Rights Reserved
更新时间:2026/4/8 2:27:00