网站首页  词典首页


请输入您要查询的字词:

 

字词 概述
类别 中英文字词句释义及详细解析
释义

概述


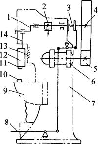
利用冲模分离板料的工序,可加工出外形与内形。其轮廓有封闭(如完整的孔)与不封闭(如切边、切断)两种。冲裁出外形称为落料;冲裁出内形称为冲孔。冲裁的主要设备是各种机械压力机和液压机。按床身结构形式不同,机械压力机可分成开式(床身呈C形,公称压力不超过4000kN)、闭式(门框式,公称压力1600~ 16000kN)和单柱式三种;有曲轴机构的,还可按曲轴机构的数目分单点式、双点式和四点式三种,其他也可依工作台进行辨识(固定工作台、活动工作台和工作台可倾三种)。图4-17是一种习称为曲柄压力机或单柱曲轴冲床的压力机传动简图,电动机6带动飞轮(大齿轮)4转动。当踩下脚踏板8时,离合器3使飞轮4与曲柄1连接,因而曲柄随飞轮一起转动并通过连杆14带动滑块12上下往复运动,进行冲裁或冲压。

图4-17 单柱活动台压力机传动图

1-曲柄;2-制动器;3-离合器;4-大齿轮;5-小齿轮;6-电动机,7-床身;8-脚踏板;9-升降台;10-下模;11-上模;12-滑块;13-导轨;14-连杆

随便看

 

离鸟网收录3541549条中英文词条,其功能与新华字典、现代汉语词典、牛津高阶英汉词典等各类中英文词典类似,基本涵盖了全部常用中英文字词句的读音、释义及用法,是语言学习和写作的有利工具。

 

Copyright © 2004-2024 vtrois.com All Rights Reserved
更新时间:2026/4/9 8:38:58