网站首页  词典首页


请输入您要查询的字词:

 

字词 模板的分类
类别 中英文字词句释义及详细解析
释义

模板的分类


模板是混凝土浇筑成型工艺的关键设施,不仅决定着施工方法和施工机械的选择,而且对主体工程的施工质量、施工进度和工程成本均有着直接影响。根据结构构件的特征,目前有多种形式的模板可供在施工中选择使用。

模板的分类方法很多,在建筑工程中主要按制作模板的材料、结构构件的类型、施工工艺条件和施工方法不同分类。

(一)按制作模板的材料分类

按制作模板的材料分类,在建筑工程施工中常见的有木模板、胶合板模板、钢木模板、钢模板、塑料模板、玻璃钢模板、铝合金模板、预应力薄板模板等。当今,最常用的是木模板、钢模板、塑料模板等。

1.木模板

木模板是混凝土施工使用最早的模板之一。木材被加工成木板、木方,然后根据设计计算组合成所需的模板。

20世纪50年代,我国现浇混凝土结构所用的模板,主要采用传统的手工拼装的木模板,其耗用木材量大,施工方法落后。

近些年,在工程中出现了用多层胶合板做模板进行施工的方法。对这种胶合板制成的模板,国家专门制定了《混凝土模板用胶合板》(GB/T17656-1999)的专业标准,对模板的尺寸、材质、加工都提出了具体要求。

用多层胶合板制作的模板,具有加工成型比较容易、材质坚韧、不易透水、自重很轻等优点,浇筑出来的混凝土外观比较清晰美观。

2.钢模板

钢模板是混凝土结构工程施工中使用最广泛的模板,特别是组合钢模板,可以拼装成适应各种结构形式的多种尺寸、构造合理,浇筑成型的混凝土构件表面光滑、棱角整齐、装拆方便。

组合钢模板是由一定模数的平面模板、角模板、支承件和连接件组成,是一种工具式模板。组合钢模板的最大特点是通用性强,可以组拼成不同形状、不同尺寸的结构模板,施工中装拆方便,既可以现场直接拼装,也可以预拼成大模板、台模等,再用起重机吊运安装。

组合钢模板的部件主要由钢模板、连接件和支承件三部分组成。

(1)钢模板的类型及规格

钢模板主要包括平面模板和转角模板两大类,如图5-2所示。

图5-2 组合钢模板的模板类型

(a)阴角模板;(b)阳角模板;(c)连接角模板;(d)平面模板

1-中纵肋;2-中横肋;3-面板;4-横肋;5-插销孔;6-纵肋;7-凸棱;8-凸鼓;9-U型卡孔;10-钉子孔

钢模板的面板厚度一般为2.3mm或2.5mm,肋板的厚度一般为2.8mm。肋板上设存U型卡孔。钢模板采用模数制设计。

平面模板的代号为P,宽度以100mm为基础,以50mm为模数进级;长度以450mm为基础,以150mm为模数进级;肋板高为55mm。平面模板利用U型卡和L型插销等,可以拼装成各种尺寸的大模板。U型卡孔两边焊凸鼓,以增加U型卡的夹紧力;边肋倾角处有0.3mm的凸棱,可增强模板的刚度并使拼缝严密。平面模板的规格长度有:450mm、600mm、750mm、900mm、1200mm、1500mm;其宽度有:100mm、150mm、200mm、250mm、300mm;其高度为55mm。

转角模板有阴角模板、阳角模板和连接角模板三种,主要用结构的转角部位。转角模板的长度与平面模板相同,它们的代号分别为E、Y、J,其中阴角模板的宽度有150mm×150mm、100mm×150mm两种;阳角模板的宽度有100mm×100mm、50mm×50mm两种;连接角模板的宽度为50mm×50mm。

(2)组合钢模板连接配件

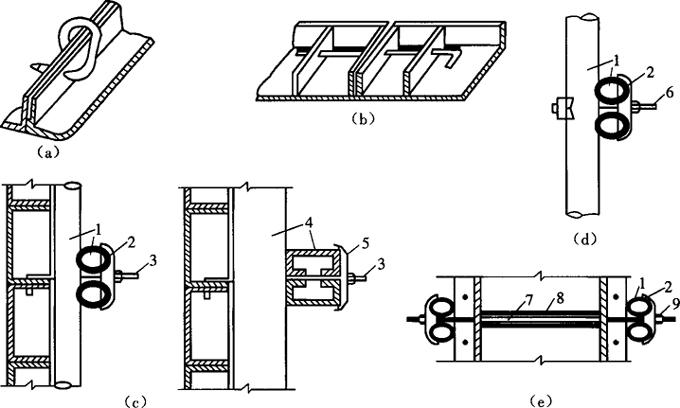
组合钢模板的连接配件主要包括:U型卡、L型插销、钩头螺栓、对拉螺栓、紧固螺栓和扣件等,如图5-3所示。

图5-3 钢模板的主要连接件示意图

(a)U型卡连接;(b)L型插销连接;(c)钩头螺栓连接;(d)紧固螺栓;(e)对拉螺栓连接

1-圆钢管楞;2-“3”形扣件;3-钩头螺栓;4-内卷边槽钢钢楞;5-螺形扣件;6-紧固螺栓;7-对拉螺栓;8-塑料套管;9-螺母

U型卡用于相邻模板的连接,其安装距离一般不得大于300mm,即应每隔一个孔插一个U型卡,安装方向一顺一倒、相互交错,以抵消因打紧U型卡可能产生的位移。

L型插销用于插入钢模板端部横肋的插销孔内,以加强两相邻模板接头处的刚度和保证接头处板面平整,使浇筑的混凝土表面无明显的痕迹。

钩头螺栓用于钢模板与内外钢楞的加固,安装间距一般不大于600mm,即应每隔两个孔插一个钩头螺栓,其长度应与采用的钢楞尺寸相适应。

紧固螺栓用于紧固内外钢楞,长度应与采用的钢楞尺寸相适应。

对拉螺栓用于连接墙壁两侧模板,以保持模板与模板之间的设计厚度,并承受混凝土的侧压力及水平荷载,并保证模板不产生变形。

扣件用于钢楞与钢楞或与钢模板之间的扣紧。按照钢楞的形状不同,可分别采用蝶形扣件和“3”形扣件。

(3)组合钢模板的支承件

组合钢模板的支承件,包括钢楞、柱箍、梁卡具、钢管架、扣件式钢管脚手架、平面可调桁架等。

钢楞又称龙骨,主要用于支承钢模板并提高其整体刚度。钢楞的材料有钢管、矩形钢管、内卷边槽钢、槽钢和角钢等。

柱箍是用于直接支承和夹紧各类柱模的支承件,有扁钢、角钢、槽钢等多种形式,图5-4为一种扁钢型柱箍。

图5-4 扁钢型柱箍示意图

1-插销;2-夹板

梁卡具又称梁托架,是一种将大梁、过梁等钢模板夹紧固定的装置,并承受混凝土的侧压力。梁卡具的种类较多,图5-5所示为扁钢与钢管组合梁卡具。

图5-5 扁钢与钢管组合梁卡具

1-三角架;2-底座;3-固定螺栓

钢管架又称钢支撑,用于大梁、楼板等水平模板的垂直支撑。钢管支柱由内外两节钢管组成,可以伸缩以调节支柱的高度。钢管架的规格形式较多,目前常用的有CH型和YJ型两种,如图5-6所示。

图5-6 钢管架示意图

(a)CH型;(b)YJ型

1-顶板;2-套管;3-插销;4-插管;5-底座;6-转盘;7-螺管;8-手柄;9-螺旋套

扣件式钢管脚手架主要用于层高较大的梁、板等水平模板的支架,由钢管、扣件、底座和调节杆等组成。钢管一般采用外径为48mm、壁厚3.5mm的焊接钢管,其长度有2000mm、3000mm、4000mm、5000mm和6000mm几种,另外还配有200mm、400mm、600mm、800mm长的短钢管,供接长调节使用。扣件是连接固定钢管脚手架的重要部件,按用途不同可分为直角扣件、回转扣件和对接扣件等。底座安装在主杆的下部,起着将荷重传至基础的作用,有可调式和固定式两种。调节杆用于调节支架的高度,可调高度一般为100~350mm,分为螺栓调节杆和螺管调节杆两种。

平面可调桁架是一种用于楼板、梁等水平模板的支架,可以取代水平模板下的立柱,有效扩大施工楼层内的空间,为加快施工进度和保证施工安全提供了可能性。平面可调桁架目前在建筑工程中的类型较多,当施工荷载较小时,可用钢筋焊成;当跨度或施工荷载较大时,可用角钢或钢管制成,也可以制成两个半榀,在施工现场再拼装成整体。

图5-7所示为用角钢、扁钢和圆钢筋焊制而成的轻型桁架。两榀桁架组合后,其跨度可调范围为2100~3500mm。当梁的跨度大时,可以连续安装桁架,在桁架中间设置支柱。

图5-7 轻型桁架示意图

3.塑料模板

塑料模板是随着钢筋混凝土预应力现浇密肋楼盖的出现,在实践中创造和应用的一种新型模板,其形状犹如一个方形大盆,支模时倒扣在支架上,口朝下、底朝上,也称为塑壳定型模板。在壳模四侧形成十字交叉的楼盖肋梁。这种模板的优点是造价低廉、拆模很快、容易周转、成型美观,但仅能用在钢筋混凝土结构的楼盖施工中。

(二)按结构构件的类型分类

按结构构件的类型分类,有基础模板、柱模板、墙模板、楼板模板、梁模板、楼梯模板和其他各类构筑物模板等。以上这些模板将在有关部分详细介绍。

(三)按施工工艺条件分类

按施工工艺条件分类,可分为现浇混凝土模板、预组装模板、大模板、跃升模板、水平滑动模板和垂直滑动模板等。

1.现浇混凝土模板

现浇混凝土模板是根据混凝土结构形状不同就地形成的模板,这类模板多用于基础、梁、板等现浇混凝土工程。模板下支承系多通过支于地面基坑侧壁以及对拉螺栓等,承受混凝土的竖向重力和倒向压力。这种模板可根据工程需要制作,适应性非常强,但周转很慢。

2.预组装模板

预组装模板由定型模板分段预制成较大面积的模板及其支承体系,然后再用起重设备吊运到混凝土的浇筑位置,这类模板多用于大体积混凝土工程。

3.大模板

大模板是由固定单元形成的固定标准系列的模板,这种模板多用于高层建筑的墙板体系。用于平面楼板的大模板也称为“飞模”。

4.跃升模板

跃升模板是由两段以上固定形状的模板,通过埋设于混凝土中的固定件,形成模板支承件承受混凝土施工荷载,当混凝土达到一定强度时,将模板拆除上翻,从而形成新的模板体系。这种模板多用于变直径的双曲线冷却塔、水工结构及设有滑升设备的高耸混凝土结构。

5.水平滑动模板

水平滑动模板是由短段标准模板组成的整体模板,通过滑道或轨道支于地面,沿结构纵向平行移动的模板体系。这类模板多用于地下直线混凝土结构,如隧道、地沟等工程。

6.垂直滑动模板

垂直滑动模板是由小段固定形状的模板与提升设备,以及操作平台组成的可沿混凝土成型方向平行移动的模板体系。这类模板适用于高耸的框架、烟囱、圆形料仓等钢筋混凝土结构。根据所用的提升设备不同,又可分为液压滑模、螺旋丝杆滑模和拉力滑模等。

(四)按施工方法不同分类

按施工方法不同分类,可分为现场装拆式模板、固定式模板和移动式模板三种。

1.现场装拆式模板

现场装拆式模板是按照设计要求的结构形状、尺寸及空间位置等,在施工现场进行组装,当混凝土达到拆模强度后即拆除模板,经修整可以周转使用。现场装拆式模板多用定型模板和工具式支撑组装而成,具有规格标准、装拆方便、组装迅速、有利周转等优点。

2.固定式模板

固定式模板多用于制作预制构件,是按照构件的形状、尺寸在现场或预制厂制作,在各层间涂刷隔离剂,浇筑混凝土。当混凝土达到规定的强度后,即可脱模、清理模板,再重新涂刷隔离剂,继续制作下一批构件。在建筑工程上所用的各种胎模(土胎模、砖胎模、混凝土胎模),均属于固定式模板。

3.移动式模板

移动式模板是随着混凝土的浇筑,模板可沿结构的垂直方向或水平方向移动,如烟囱、水塔、墙柱混凝土浇筑采用的滑升模板、爬升模板、提升模板、大模板等,如高层建筑楼板采用的台模、筒壳混凝土浇筑采用的水平移动式模板等。

随便看

 

离鸟网收录3541549条中英文词条,其功能与新华字典、现代汉语词典、牛津高阶英汉词典等各类中英文词典类似,基本涵盖了全部常用中英文字词句的读音、释义及用法,是语言学习和写作的有利工具。

 

Copyright © 2004-2024 vtrois.com All Rights Reserved
更新时间:2026/4/9 15:43:18