网站首页  词典首页


请输入您要查询的字词:

 

字词 气(液)动抽芯机构
类别 中英文字词句释义及详细解析
释义

气(液)动抽芯机构


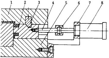
利用液体或气体的压力,通过油缸或气缸活塞及控制系统,实现侧向分型或抽芯运动,是大型注射模具常用的机构形式。图4-138为气动抽芯机构,侧型芯和气缸都设在定模边,开模之前先抽芯,开模后由推杆推出塑件。图4-139为液压抽芯机构,油缸及滑块均在动模边,开模后,锁紧块3离开侧滑块2,在油缸的带动下完成抽芯运动。

图4-138 气动抽芯

图4-139 液压抽芯

1—定模板 2—侧滑块 3—锁紧块 4—拉杆 5—动模板 6—连接器 7—支架 8—液压缸

随便看

 

离鸟网收录3541549条中英文词条,其功能与新华字典、现代汉语词典、牛津高阶英汉词典等各类中英文词典类似,基本涵盖了全部常用中英文字词句的读音、释义及用法,是语言学习和写作的有利工具。

 

Copyright © 2004-2024 vtrois.com All Rights Reserved
更新时间:2026/4/8 14:52:25