网站首页  词典首页


请输入您要查询的字词:

 

字词 水稻插秧机的使用与保养
类别 中英文字词句释义及详细解析
释义

水稻插秧机的使用与保养


(一)水稻插秧机使用时应注意的事项

(1)机组人员应经过事先培训,以使他们工作能够相互配合,缩短不必要的停歇时间,提高生产效率。

(2)装秧要求装得均匀、根齐,秧根要紧贴秧箱底,前部秧苗紧贴钢丝帘,不得有较大的歪斜和架空,经常保持箱内秧苗占秧箱体积2/3左右。

(3)插秧机行驶要直,各行间距一致。最后插田块四周,田头和田边留足一个工作幅的宽度,以便绕田一周插完。田块的4个角用人工补插。

(4)插秧时,提升手柄要放在选定的插深位置,地头转弯和田间转移时,提升手柄要放在使插秧机工作部分升起的位置。

(5)运输时,应停止工作部分运转,并使它处于提升位置。总离合器工作应灵敏可靠。

(6)插秧过程中应经常注意作业质量,发现问题应及时停止调试。

(二)水稻插秧机的调整

插秧机的正确调整对于插秧作业质量的好坏有直接关系,且对于提高工效和延长机件的使用寿命也有影响。不同机型的结构虽有差异,但其调整方法基本相同。

1.根据秧苗情况选用秧爪 秧爪有宽度为12mm和14mm两种。在一般情况下采用12mm小秧爪,配装18mm小秧门。当秧苗粗大、根长或农艺要求每穴苗数较多时,换用14mm大秧爪,相应地换装22mm大秧门。

2.秧门、秧爪排和送秧叉的基本调节

(1)秧门的角铁面应平整,在一条直线上,且左右高低应一致。

(2)各排秧爪(2排或3排)应各自在一条直线上,且应与秧门平面平行。个别不一致的,应用秧爪扳子扳正,无法扳正的应更换。

(3)送秧叉应在一条直线上,当送秧叉高低不等时,应核正。

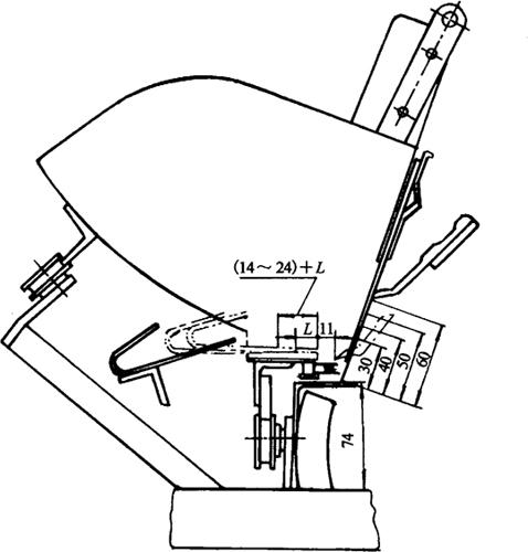
3.入帘高度的调整秧爪尖到达秧帘位置,爪尖至秧门沿帘方向测量的距离为入帘高度(图6-9)。秧爪的入帘高度应按秧根情况进行调整。入帘高度过高,使勾伤秧增多;入帘高度过低,会使取秧量不足或均匀度差。入帘高度采取更换取秧滑道的方法调节。有30mm、40mm、50mm、60mm这4种规格。在一般情况下采用40mm取秧滑道;当秧苗粗大、根长时,采用50mm或60mm取秧滑道;当秧苗细嫩、根短时,采用30mm取秧滑道。

图6-9 秧爪入帘高度与送秧叉的配合位置(单位:mm)

4.取秧量的调整 除了换用秧爪和正确换用取秧滑道外,还可通过调整钢丝帘的位置和送秧器的送秧能力来调整取秧量。如果将钢丝帘的位置向秧箱外移(平移或绕O点转动,如图6-10所示),则会使秧爪入帘深度增大,取秧量增多;反之,取秧量变小。

图6-10 取秧量调整

1.阻秧毛刷 2.钢丝帘 3.秧箱架 4.秧箱

改变纵向送秧机构的连杆长度(图6-11),连杆越短,送秧爪尖离钢丝帘的距离L越大,送秧器送秧能力减弱,取秧量越小;反之,L变小,送秧能力增加,取秧量变多。

图6-11 送秧能力调整

1.阻秧毛刷 2.钢丝帘 3.送秧器 4.送秧曲柄 5.移箱器 6.送秧连杆

5.纵向送秧与秧爪取秧时间配合的调整 送秧与取秧时间的正确配合是用移箱器旁的一组法兰盘上的3个M6螺栓进行调整的。松开M6螺栓,两个法兰盘可以相对旋转一个角度,送秧与取秧的配合时间就发生变化。

移箱器轴与分插轮轴之间的链条拆下后重新安装时,要特别注意送秧与取秧时间的正确配合。此时应先把秧爪和送秧叉的正确位置摆好,然后装上传动链条(图6-12)。

图6-12 链轮传动及链条的挂接

1.移箱器轴 2.张紧链轮 3.传动链 4.分插轮轴

具体的方法是在装链条之前,先用手转动分插轮,使其中一排秧爪的爪尖到达秧箱前座上平面的同一高度,再转动移箱器轴,使送秧叉送至前死点并后退至叉尖距秧箱前座的距离为(14~24mm)+L,然后挂上传动链条。挂链时注意链条的上边应处于拉紧状态。挂链后再调整链条的张紧度。

6.插秧深度的调整 插深按农艺要求而定。一般要求在秧苗不倒伏、不漂秧的情况下,尽量浅插,以有利秧苗返青和分蘖。但南方需深插,晚稻例外。

插深调节范围为10~70mm。调节方法是改变升降手柄在齿板上的固定位置。固定位置越高,插得越深;反之则浅。

(三)水稻插秧机的保养

(1)发动机按使用说明书保养,机油用30号。

(2)田间作业每隔4h,应在上下滚轮、万向节、曲柄、送秧器支承等活动部位处加机油,滑道滚子要清除污泥并涂以黄油,每天应冲洗机身。特别是秧箱和分插轮滑道,在分插轮轴承和秧爪排轴承等处注黄油。工作5天左右检查行走传动箱和移箱器内的机油是否充足。

(3)当秧爪入帘时,秧爪尖摆动量在3mm以上时,应更换滑道滚子。

(4)插完一季后,要对全机进行彻底清洗;检查各部件间隙、磨损及变形情况,必要时进行检修和调换;检查主传动箱、齿轮箱、地轮减速箱的齿轮油和链轮罩壳、移箱器罩壳内机油的脏污程度,必要时要清洗和更换,同时各轴承处加注黄油。保养检修后,对各机件工作表面涂以黄油,拆去发动机,将机器放在避雨干燥处存放,机上不得放杂物,以免机件变形。

随便看

 

离鸟网收录3541549条中英文词条,其功能与新华字典、现代汉语词典、牛津高阶英汉词典等各类中英文词典类似,基本涵盖了全部常用中英文字词句的读音、释义及用法,是语言学习和写作的有利工具。

 

Copyright © 2004-2024 vtrois.com All Rights Reserved
更新时间:2026/4/8 5:56:22